GM Service Manual Online
For 1990-2009 cars only

Removal Procedure

  1. Raise and support the vehicle with suitable safety stands. Refer to Lifting and Jacking the Vehicle in General Information.
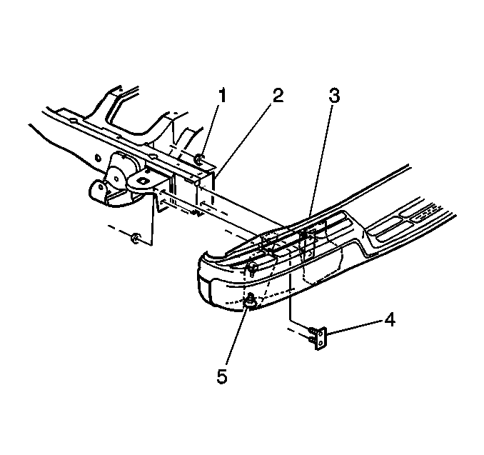
  2. Mark the location of the braces and the fasteners.

  3. Object Number: 314800  Size: SH
  4. Remove the nuts (1) that retain the rear bumper outer braces to the frame (2).
  5. Remove the nuts (1) that retain the rear bumper inner braces to the frame (2).
  6. Remove the bumper from the vehicle.
  7. Remove the rear bumper braces from the bumper. Refer to Rear Bumper Bracket Replacement .
  8. Remove the rear bumper step pad from the bumper. Refer to Rear Bumper Step Pad Replacement .
  9. Remove the rear bumper step pad extensions from the bumper, if equipped. Refer to Rear Bumper Step Pad Extension Replacement .

Installation Procedure

  1. Install the rear bumper step pad to the bumper. Refer to Rear Bumper Step Pad Replacement .
  2. Install the rear bumper step pad extensions to the bumper. Refer to Rear Bumper Step Pad Extension Replacement .
  3. Install the rear bumper braces to the bumper. Refer to Rear Bumper Bracket Replacement .

  4. Object Number: 314800  Size: SH
  5. Install the bumper to the vehicle.
  6. Notice: Use the correct fastener in the correct location. Replacement fasteners must be the correct part number for that application. Fasteners requiring replacement or fasteners requiring the use of thread locking compound or sealant are identified in the service procedure. Do not use paints, lubricants, or corrosion inhibitors on fasteners or fastener joint surfaces unless specified. These coatings affect fastener torque and joint clamping force and may damage the fastener. Use the correct tightening sequence and specifications when installing fasteners in order to avoid damage to parts and systems.

  7. Install the inner bumper impact bar brace retaining nuts (1) to the frame (2).
  8. Tighten
    Tighten the inner bumper impact bar brace retaining nuts to 50 N·m (37 lb ft).

  9. Install the outer bumper braces to the frame (2).
  10. Install the outer bumper impact bar brace retaining nuts (1) to the frame (2).
  11. Tighten
    Tighten the outer bumper impact bar brace retaining nuts to 50 N·m (37 lb ft).

  12. Remove the safety stands. Lower the vehicle.