GM Service Manual Online
For 1990-2009 cars only
Makes
🢒
GMC_Truck
🢒
2000
🢒
Savana
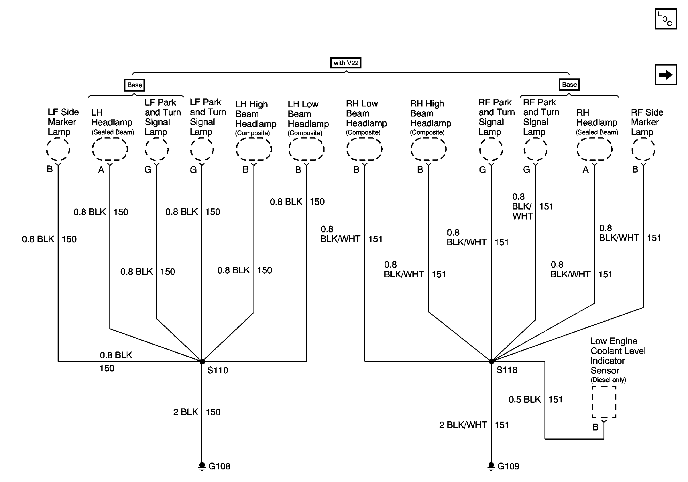
🢒 G108 and G109 (Domestic)
G108 and G109 (Domestic)
G108 and G109 (Domestic)
Power and Grounding Components
G108 and G109 (Export)