GM Service Manual Online
For 1990-2009 cars only

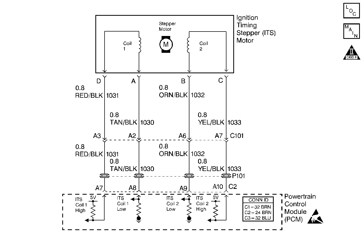
Object Number: 550794  Size: MF
Engine Controls Components
Fuel Temperature Controls, ITS Motor
OBD II Symbol Description Notice
Handling ESD Sensitive Parts Notice

Circuit Description

The timing of the combustion event is accomplished by controlling the beginning of injection measured in degrees of crankshaft rotation before Top Dead Center. This test compares the desired timing to the measured timing when certain conditions have been met. In order to retard the injection timing, the powertrain control module (PCM) extends the stepper motor. In order to advance the injection timing, the PCM retracts the stepper motor.

Conditions for Running the DTC

    • The PCM performs this DTC diagnostic continuously.
    • DTCs P0251, P0335, P0370 are not set.
    • The engine speed has not changed more than 56 RPM for 5 seconds.

Conditions for Setting the DTC

    • There is a 5 degree difference between the Act. Inj. Time and the Des. Inj. Time.
    • All of the diagnostic set conditions are met for 2 seconds.

Action Taken When the DTC Sets

    • The PCM illuminates the malfunction indicator lamp (MIL) on the second consecutive drive trip the diagnostic runs and fails.
    • The PCM records the operating conditions at the time the diagnostic fails. The first time the diagnostic fails, the Failure Records store this information. If the diagnostic reports a failure on the second consecutive drive trip, the Freeze Frame records the operating conditions at the time of failure and updates the Failure Records.

Conditions for Clearing the MIL/DTC

    • The PCM will turn the MIL off after 3 consecutive trips without a fault condition.
    • A History DTC clears after 40 consecutive warm-up cycles, if this or any other emission related diagnostic does not report any failures.

Use a scan tool in order to clear the DTCs.

Diagnostic Aids

An intermittent may be caused by :

    • Faulty connections
    • Rubbed-through wire insulation
    • A broken wire inside the insulation

A hard start and a possible poor performance condition might exist. DTC P0216 will possibly set if the injection timing is not set correctly. Refer to Fuel Injection Pump Timing Adjustment for the correct procedure.

Opens or grounds in any of the circuits may result in full advance and very noisy operation.

Check the Snapshot Data in order to confirm the diagnosis. If the error is less than the Desired Timing, the fault is not the result of a circuit problem. If the error is more than the Desired Timing, check all of the circuits that are related to the injection timing stepper motor (ITS).

Test Description

The numbers below refer to the step numbers on the Diagnostic Table.

  1. This step determines if DTC P0216 is a hard failure or an intermittent.

  2. This step checks for an open or a short in the injection timing coil circuit 1.

  3. This step checks for an open or short in the injection timing coil circuit 2.

  4. The important thing in this step is that the PCM is sending a varying voltage. The voltage may vary between 1--12 volts and will usually vary between 5--6 volts when the engine is idling. This indicates that the PCM is OK and that there is a problem with the injection timing stepper motor. If there is a steady voltage present on any circuit, this indicates a problem with the PCM or a circuit that is shorted to voltage.

Step

Action

Value(s)

Yes

No

1

Important: Before clearing any DTCs, use the scan tool Capture Info function in order to save the Freeze Frame and the Failure records for reference. The control module's data is deleted once the Clear Info function is used.

Was the Powertrain On-Board Diagnostic (OBD) System Check performed?

--

Go to Step 2

Go to Powertrain On Board Diagnostic (OBD) System Check

2

  1. Idle the engine at the normal operating temperature.
  2. Scan the injection timing at the idle and at 1500 RPM.

Does the scan tool display a difference that is more than or equal to the specified value between the Actual Inj. Time and the Desired Inj. Time at idle or at 1500 RPMs?

Go to Step 4

Go to Step 3

3

The DTC is intermittent. If no additional DTCs are stored, refer to Diagnostic Aids. If any additional DTCs were stored, refer to those tables first.

Are any additional DTCs stored?

--

Go to the applicable DTC Table

Go to Diagnostic Aids

4

  1. Turn OFF the ignition.
  2. Disconnect the PCM.
  3. Measure the resistance between coil 1 low and coil 1 high at the PCM harness.

Is the resistance between the specified values?

10-60 ohms

Go to Step 5

Go to Step 9

5

Measure the resistance between coil 2 low and coil 2 high at the PCM harness.

Is the resistance between the specified values?

10-60 ohms

Go to Step 6

Go to Step 10

6

  1. Reconnect the PCM.
  2. Disconnect the injection timing stepper motor.
  3. Start the engine.
  4. Allow the engine to idle at the normal operating temperature.
  5. Use the scan tool in order to command ON the Time Set.
  6. With a J 39200 DMM connected to ground, check for a varying voltage on all of the terminals at the injection timing stepper motor electrical harness.

Does the voltage vary on all of the circuits?

--

Go to Step 7

Go to Step 12

7

  1. Disconnect the crankshaft position sensor.
  2. Measure, at sensor pigtail, the resistance between the crankshaft position sensor signal and the 5-volt reference circuit.

Is the resistance between the specified values?

950 -1050 ohms

Go to Step 8

Go to Step 13

8

  1. Reconnect all of the sensors.
  2. Check for one of the following conditions:
  3. • Incorrectly set injection timing -- Refer to Fuel Injection Pump Timing Adjustment .
    • A sheared camshaft driven key -- Refer to Engine Mechanical.
  4. If you find a problem, repair the condition as necessary.

Did you perform a repair?

--

Go to Step 17

Go to Step 15

9

  1. Turn OFF the ignition.
  2. Disconnect the stepper motor.
  3. Check for an open or a short to ground in one of the following:
  4. • The coil 1 low circuit
    • The coil 1 high circuit
    • If you find a problem, repair the condition as necessary. Refer to Wiring Repairs in Wiring Systems.

Did you perform a repair?

--

Go to Step 17

Go to Step 11

10

  1. Turn OFF the ignition.
  2. Disconnect the stepper motor.
  3. Check for an open or a short to ground in one of the following:
  4. • The coil 2 low circuit
    • The coil 2 high circuit
    • If you find a problem, repair the condition as necessary. Refer to Wiring Repairs in Wiring Systems.

Did you perform a repair?

--

Go to Step 17

Go to Step 11

11

Check for a faulty electrical connection at the injection timing stepper motor. Refer to Wiring Repairs in Wiring Systems.

Did any terminals require replacement?

--

Go to Step 17

Go to Step 15

12

Check the non-varying circuit for a short to ground, a short to voltage, or a faulty connection at the PCM. Refer to Wiring Repairs in Wiring Systems.

Did you perform a repair?

--

Go to Step 17

Go to Step 16

13

  1. Check the crankshaft sensor pigtail for a short to ground.
  2. If the circuit is shorted to ground, repair the circuit as necessary. Refer to Wiring Repairs in Wiring Systems.

Did you perform a repair?

--

Go to Step 17

Go to Step 14

14

Replace the crankshaft position sensor. Refer to Crankshaft Position Sensor Replacement .

Is the action complete?

--

Go to Step 17

--

15

Important: If the injection pump is malfunctioning, the new injection pump must be timed. Refer to Fuel Injection Pump Timing Adjustment .

Replace the fuel injection pump. Refer to Fuel Injection Pump Replacement .

Is the action complete?

--

Go to Step 17

--

16

Important: The new PCM must be programmed. Refer to Powertrain Control Module Replacement/Programming .

Replace the PCM.

Is the action complete?

--

Go to Step 17

--

17

  1. Use a scan tool in order clear the DTCs.
  2. Start the engine.
  3. Allow the engine to idle until the normal operating temperature is reached.
  4. Select DTC and the Specific DTC function.
  5. Enter the DTC number that was set.
  6. Operate the vehicle within the Conditions for Setting this DTC until the scan tool indicates the diagnostic Ran.

Does the scan tool indicate the diagnostic Passed?

--

Go to Step 18

Go to Step 2

18

Does the scan tool display any additional undiagnosed DTCs?

--

Go to the applicable DTC Table

System OK