GM Service Manual Online
For 1990-2009 cars only
Makes
🢒
GMC_Truck
🢒
2005
🢒
Savana
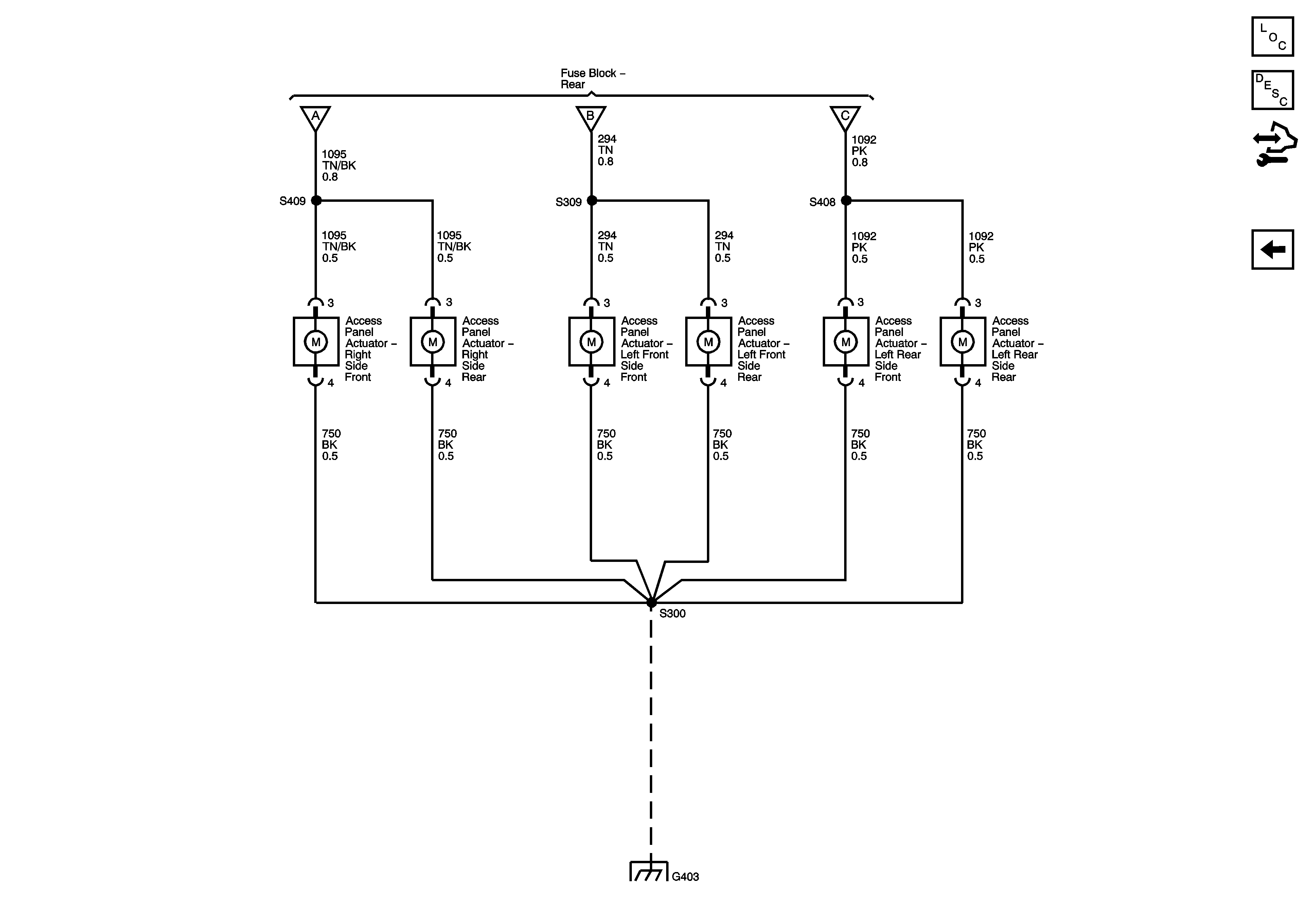
🢒 Access Panel Actuators
Access Panel Actuators
Access Panel Actuators
Master Electrical Component List
Access Panel Description and Operation
Control Module References
Access Panel Relay Control
Access Panel Relay Control
G402 - Passenger/Cargo and G403 - PRP