GM Service Manual Online
For 1990-2009 cars only

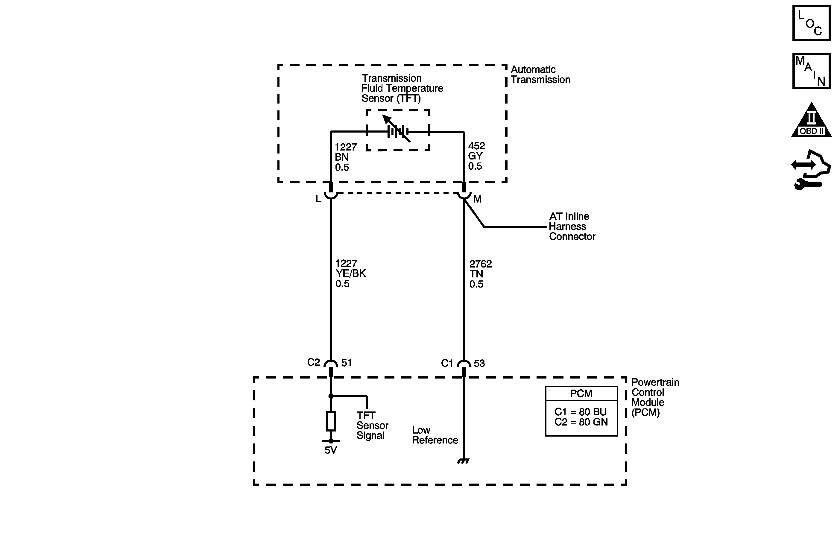
Object Number: 1455561  Size: MF
Master Electrical Component List
Automatic Transmission Controls Schematics
OBD II Symbol Description Notice
Control Module References

Circuit Description

The automatic transmission fluid temperature (TFT) sensor is part of the 4L80-E automatic transmission (AT) wiring harness assembly. The TFT sensor is a resistor, or thermistor, which changes value based on temperature. The sensor has a negative temperature coefficient. This means that as the temperature increases, the resistance decreases, and as the temperature decreases the resistance increases. The powertrain control module (PCM) supplies a 5 volt reference signal to the sensor and measures the voltage drop in the circuit. When the transmission fluid is cold, the sensor resistance is high and the PCM detects high signal voltage. As the fluid temperature warms to a normal operating temperature, the resistance becomes less and the signal voltage decreases. The PCM uses this information to control shift quality and torque converter clutch apply.

If the PCM detects the TFT sensor resistance has no change, intermittent, or an unrealistic change in a short amount of time, such as multiple changes within seconds, then DTC P0711 sets. DTC P0711 is a type C DTC.

DTC Descriptor

This diagnostic procedure supports the following DTC:

DTC P0711 Transmission Fluid Temperature (TFT) Sensor Performance

Conditions for Running the DTC

    • No ECT DTCs P0117 or P0118.
    • No VSS DTC P0502 or P0503.
    • No AT ISS DTC P0716 or P0717.
    • No component slipping DTC P0894.
    • System voltage is 8-18 volts.
    • The engine is running for greater than 35 seconds.
    • The TFT is -40 to +21°C (-40 to +70°F) at start up.
    • The engine coolant temperature (ECT) is 85°C (185°F) or greater.
    • ECT has changed at least 55°C (99°F) since start up.
    • The vehicle speed is 8 km/h (5 mph) or greater for 750 seconds (12.5 minutes) cumulatively.
    • The TCC slip speed is 60 RPM or greater for 500 seconds (8.3 minutes) cumulatively.

Conditions for Setting the DTC

One of the following conditions occurs:

Condition 1

The TFT has not changed more than 2.25°C (4°F), in more than 80 seconds. No TFT change.

Condition 2

Unrealistic TFT change of more than 20°C (36°F) 14 times in 7 seconds.

Action Taken When the DTC Sets

    • The PCM does not illuminate the malfunction indicator lamp (MIL).
    • The PCM commands increased line pressure.
    • The PCM freezes transmission adaptive functions.
    • The PCM determines a default transmission fluid temperature (TFT) using the following matrix:
       - If the engine run time is less than 60 seconds then default TFT equals 47°C (117°F).
       - If ECT is less than 20°C (68°F), then default TFT equals IAT.
       - If the ECT is 20-110°C (68-230°F) then default TFT equals ECT.
       - If the ECT is greater than 110°C (230°F) then default TFT is set to 140°C (284°F) and transmission shift pattern is in hot mode.
       - If ECT and TFT DTCs are both set then default TFT is 140°C (284°F).
    • The PCM records the operating conditions when the Conditions for Setting the DTC are met. The PCM stores this information as Failure Records.
    • The PCM stores DTC P0711 in PCM history.

Conditions for Clearing the DTC

    • A scan tool clears the DTC from PCM history.
    • The PCM clears the DTC from PCM history if the vehicle completes 40 warm-up cycles without a non-emission related diagnostic fault occurring.
    • The PCM cancels the DTC default actions when the fault no longer exists and the ignition switch is OFF long enough in order to power down the PCM.

Diagnostic Aids

    • DTC P0218 may set approximately 600 seconds (10 minutes) after DTC P0711 has set. Follow the diagnostic table for DTC P0711 before proceeding to the diagnostic table for DTC P0218.
    • DTC P0711 defaults to an elevated line pressure condition which may result in partial TCC apply. This may produce an idle surge that could stall the engine.

Test Description

The numbers below refer to the step numbers on the diagnostic table.

  1. This step inspects for proper transmission fluid level and condition.

  2. This step verifies which condition has set DTC P0711.

  3. The 12 volt test lamp is used as a fixed resistance.

  4. This step ensures that the PCM monitors the TFT Sensor Signal circuit.

Step

Action

Yes

No

1

Did you perform the Diagnostic System Check - Vehicle?

Go to Step 2

Go to Diagnostic System Check - Vehicle in Vehicle DTC Information

2

Perform the Transmission Fluid Checking Procedure. Refer to Transmission Fluid Check .

Was the Transmission Fluid Checking Procedure performed?

Go to Step 3

Go to Transmission Fluid Check

3

  1. Install a scan tool.
  2. Turn ON the ignition, with the engine OFF.
  3. Important: Before clearing the DTCs, use the scan tool in order to record the Failure Records. Using the Clear Info function erases the Failure Records from the PCM.

  4. Record the Failure Records.
  5. Clear the DTCs.
  6. Select TFT on the scan tool.
  7. Drive the vehicle and observe the scan tool for one of the following conditions:
  8. • No TFT change.
    • An unrealistic TFT change. The TFT change is greater than 20°C (36°F) 14 times in 7 seconds.

Did either of the fail conditions occur?

Go to Step 4

Go to Intermittent Conditions in Engine Controls - 4.8L, 5.3L, and 6.0L

4

Did the scan tool display an unrealistic TFT change?

Go to Step 5

Go to Step 6

5

  1. Turn OFF the ignition.
  2. Disconnect the transmission AT inline 20-way connector. Additional DTCs may set.
  3. Using the J 35616 GM terminal test kit, install a 12 volt test lamp between terminal L and M of the engine side of the transmission AT inline 20-way connector.
  4. Turn ON the ignition, with the engine OFF.

Does the scan tool TFT display an unrealistic TFT change?

Go to Step 7

Go to Step 8

6

  1. Record the scan tool TFT display from Step 4.
  2. Turn OFF the ignition.
  3. Disconnect the transmission AT inline 20-way connector. Additional DTCs may set.
  4. Turn ON the ignition, with the engine OFF.

Is the scan tool TFT the same as in Step 4?

Go to Step 7

Go to Step 8

7

Replace the PCM. Refer to Control Module References in Computer/Integrating Systems for replacement, set-up, and programming.

Did you complete the replacement?

Go to Step 9

--

8

Replace the TFT sensor. Refer to Valve Body and Pressure Switch Replacement .

Did you complete the replacement?

Go to Step 9

--

9

Perform the following procedure in order to verify the repair:

  1. Select DTC.
  2. Select Clear Info.
  3. Operate the vehicle under the following conditions:
  4. • The TFT changes by more than 3°C (5°F) after the engine has been running for 35 seconds.
    • For a period of at least 11 seconds, the TFT does not change more than 20°C (36°F) within 0.2 seconds.
  5. Select Specific DTC.
  6. Enter DTC P0711.

Has the test run and passed?

Go to Step 10

Go to Step 2

10

With the scan tool, observe the stored information, capture info and DTC info.

Does the scan tool display any DTCs that you have not diagnosed?

Go to Diagnostic Trouble Code (DTC) List - Vehicle in Vehicle DTC Information

System OK