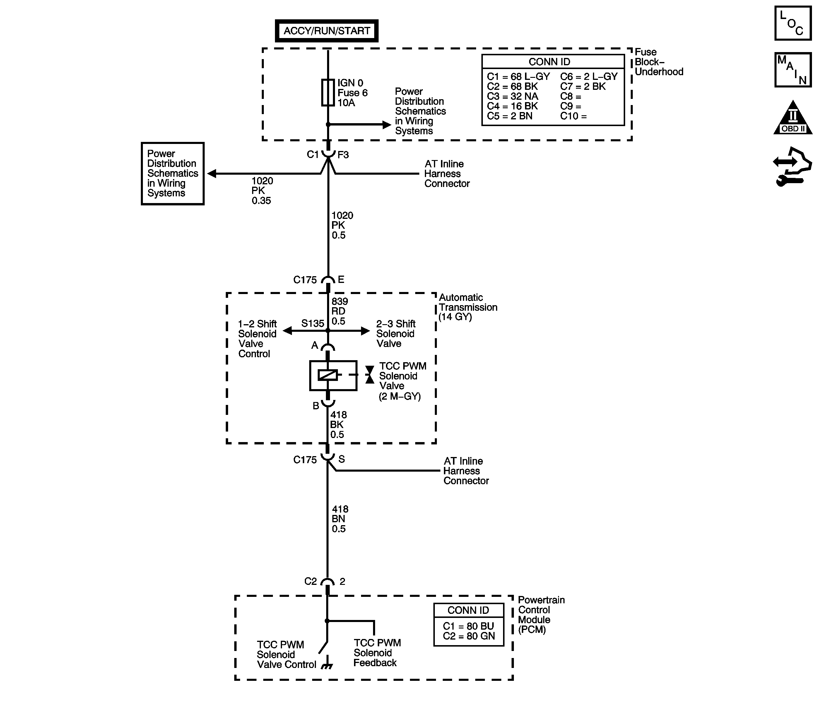
The torque converter clutch pulse width modulation (TCC PWM) solenoid valve controls fluid acting on the converter clutch valve, which then controls TCC apply and release. The TCC PWM solenoid valve attaches to the control valve body within the transmission. Ignition voltage goes directly to the TCC PWM solenoid valve. The powertrain control module (PCM) controls the TCC PWM solenoid valve by providing a ground path on the control circuit. The current flows through the TCC PWM solenoid valve coil according to the duty cycle, percentage of ON time. The TCC PWM solenoid valve provides a smooth engagement of the torque converter clutch by operating on a duty cycle percent of ON time.
If the PCM detects a continuous open or short in the TCC PWM solenoid valve circuit or the TCC PWM solenoid valve, then DTC P2761 sets. DTC P2761 is a type C DTC. For California emission vehicles, DTC P2761 is a type B DTC.
This diagnostic procedure supports the following DTC:
DTC P2761 Torque Converter Clutch (TCC) Pressure Control (PC) Solenoid Control Circuit
| • | The system voltage is 8-18 volts. |
| • | The engine is running greater than 400 RPM for greater than 7 seconds. |
All conditions for running the DTC are met, and either of the following conditions occur for 4.3 seconds out of 5 seconds:
| • | The PCM commands the TCC PWM solenoid valve to OFF, 0 percent, and the voltage input remains low, zero volts. |
| • | The PCM commands the TCC PWM solenoid valve to ON, 100 percent, and the voltage input remains high, B+. |
| • | For California emission equipped vehicles, the PCM illuminates the malfunction indicator lamp (MIL) during the second consecutive trip in which the Conditions for Setting the DTC are met. |
| • | The PCM inhibits TCC engagement. |
| • | The PCM commands increased line pressure. |
| • | The PCM freezes transmission adaptive functions. |
| • | The PCM records the operating conditions when the Conditions for Setting the DTC are met. The PCM stores this information as Freeze Frame, California only, and Failure Records, California and Federal. |
| • | The PCM stores DTC P2761 in PCM history. |
| • | For California emissions, the PCM turns OFF the MIL during the third consecutive trip in which the diagnostic test runs and passes. |
| • | A scan tool can clear the MIL/DTC. |
| • | For California emissions, the PCM clears the DTC from PCM history if the vehicle completes 40 warm-up cycles without an emission related diagnostic fault occurring. |
| • | For Federal emissions, the PCM clears the DTC from PCM history if the vehicle completes 40 warm-up cycles without a non-emission related diagnostic fault occurring. |
| • | The PCM cancels the DTC default actions when the fault no longer exists and the ignition switch is OFF long enough in order to power down the PCM. |
DTC P2761 defaults to an elevated line pressure condition which may result in partial TCC apply. This may produce an idle surge that could stall the engine.
The numbers below refer to the step numbers on the diagnostic table.
This step tests for voltage to the solenoid.
This step tests the ability of the PCM and wiring to control the ground circuit.
This step tests the resistance of the TCC PWM solenoid valve and the automatic transmission wiring harness assembly.
Step | Action | Value | Yes | No | ||||||
|---|---|---|---|---|---|---|---|---|---|---|
1 | Did you perform the Diagnostic System Check - Vehicle? | -- | Go to Step 2 | |||||||
2 |
Important: Before clearing the DTC, use the scan tool in order to record the Freeze Frame and Failure Records. Using the Clear Info function erases the Freeze Frame and Failure Records from the PCM. Is DTC P0753 or P0758 also set? | -- | Go to Step 3 | Go to Step 4 | ||||||
3 | Inspect the IGN 0 fuse for an open. Refer to Circuit Protection - Fuses . Is the fuse open? | -- | Go to Step 11 | Go to Step 4 | ||||||
Does the test lamp illuminate? | -- | Go to Step 5 | Go to Step 14 | |||||||
Does the test lamp turn ON and OFF with each command? | -- | Go to Step 7 | Go to Step 6 | |||||||
6 | Is the test lamp always ON? | -- | Go to Step 15 | Go to Step 16 | ||||||
Does the resistance measure within the specified range? | 10-15 ohms | Go to Step 8 | Go to Step 9 | |||||||
8 | Measure the resistance from ignition 0 voltage circuit to ground, and from TCC PWM solenoid valve control circuit to ground of the A/T inline 20-way connector. Do both readings measure greater than the specified value? | 250 K ohms | Go to Testing for Intermittent Conditions and Poor Connections | Go to Step 10 | ||||||
9 |
Does the resistance measure within the specified range? | 10-15 ohms | Go to Step 17 | Go to Step 18 | ||||||
10 |
Do both readings measure greater than the specified value? | 250 K ohms | Go to Step 17 | Go to Step 18 | ||||||
11 |
Important: The condition that affects this circuit may exist in other connecting branches of the circuit. Refer to Power Distribution Schematics for complete circuit distribution. Test the Ignition 0 voltage circuit of the TCC PWM solenoid valve for a short to ground between the fuse block and the AT inline 20-way connector. Refer to Testing for Short to Ground and Wiring Repairs . Did you find and correct the condition? | -- | Go to Step 20 | Go to Step 12 | ||||||
12 |
Important: The condition that affects this circuit may exist in other connecting branches of the circuit. Refer to Power Distribution Schematics for complete circuit distribution. Test the Ignition 0 voltage circuit of the TCC PWM solenoid valve for a short to ground between the AT inline 20-way connector and the TCC PWM solenoid valve. Refer to Testing for Short to Ground . Did you find a short to ground condition? | -- | Go to Step 17 | Go to Step 13 | ||||||
13 |
Did you complete the replacement? | -- | Go to Step 20 | -- | ||||||
14 |
Important: The condition that affects this circuit may exist in other connecting branches of the circuit. Refer to Power Distribution Schematics for complete circuit distribution. Test the Ignition 0 voltage circuit of the TCC PWM solenoid valve for an open. Refer to Testing for Continuity and Wiring Repairs . Did you find and correct the condition? | -- | Go to Step 20 | -- | ||||||
15 | Test the control circuit of the TCC PWM solenoid valve for a short to ground between the PCM connector C2 and the AT inline 20-way connector. Refer to Testing for Short to Ground and Wiring Repairs . Did you find and correct the condition? | -- | Go to Step 20 | Go to Step 19 | ||||||
16 | Test the control circuit of the TCC PWM solenoid valve for an open or short to power between the PCM connector C2 and the AT inline 20-way connector. Refer to Circuit Testing and Wiring Repairs . Did you find and correct the condition? | -- | Go to Step 20 | Go to Step 19 | ||||||
17 | Replace the AT wiring harness assembly. Refer to Valve Body and Pressure Switch Replacement . Did you complete the replacement? | -- | Go to Step 20 | -- | ||||||
18 | Replace the TCC PWM solenoid valve. Refer to Valve Body and Pressure Switch Replacement . Did you complete the replacement? | -- | Go to Step 20 | -- | ||||||
19 | Replace the PCM. Refer to Control Module References for replacement, setup, and programming. Did you complete the replacement? | -- | Go to Step 20 | -- | ||||||
20 | Perform the following procedure in order to verify the repair:
Has the test run and passed? | -- | Go to Step 21 | Go to Step 2 | ||||||
21 | With the scan tool, observe the stored information, capture info and DTC info. Does the scan tool display any DTCs that you have not diagnosed? | -- | System OK |