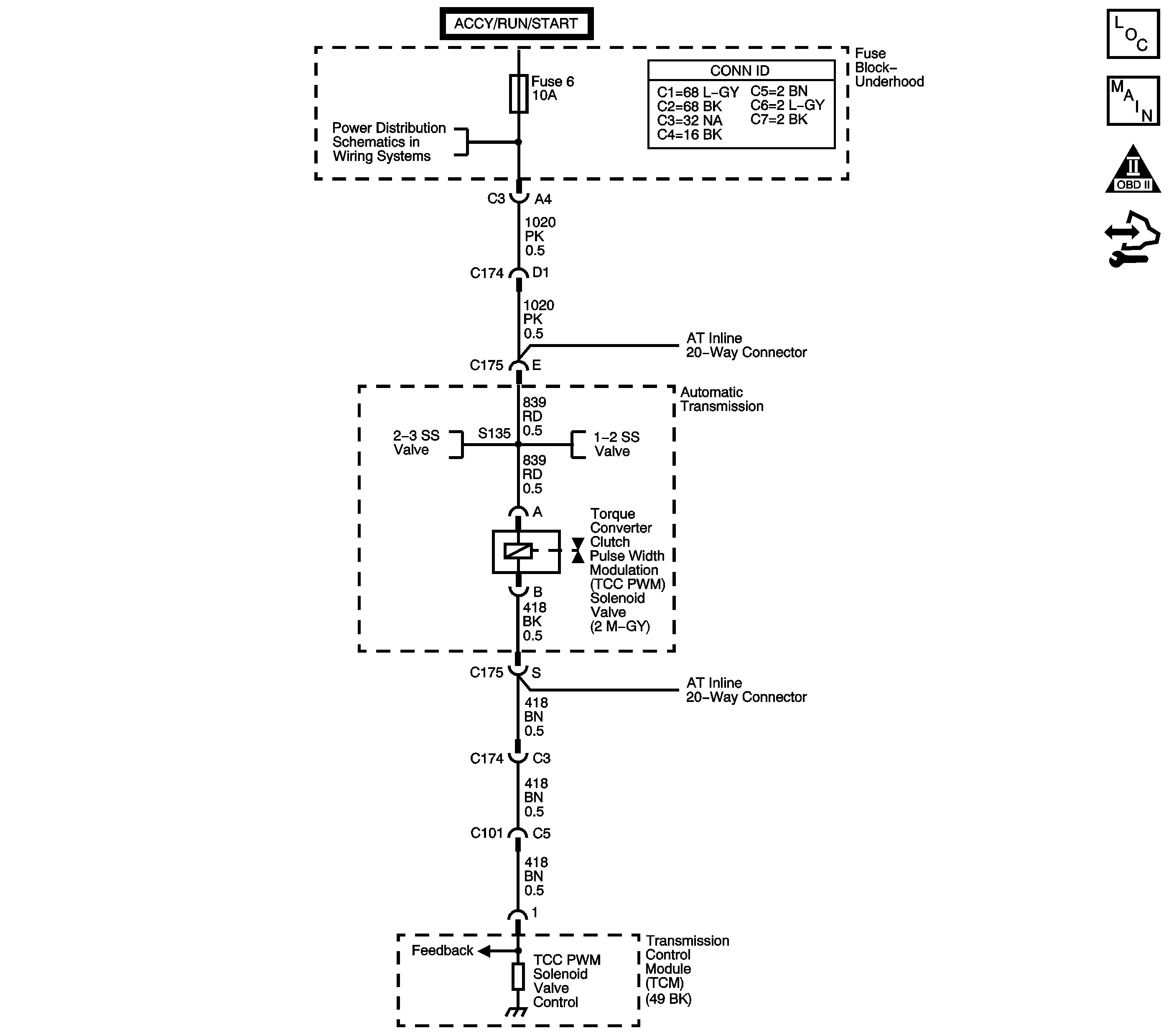
The torque converter clutch pulse width modulation (TCC PWM) solenoid valve controls the fluid acting on the converter clutch valve. The converter clutch valve controls the TCC application and release. The solenoid attaches to the control valve body within the transmission. The solenoid receives voltage through the ignition voltage circuit. The transmission control module (TCM) controls the solenoid by providing a ground path on the TCC PWM solenoid valve control circuit. Current flows through the solenoid coil according to the duty cycle, percentage of ON and OFF time. The TCC PWM solenoid valve provides a smooth engagement of the TCC by operating during a duty cycle percent of ON time.
When the TCM detects a continuous short to voltage in the TCC PWM solenoid valve control circuit, then DTC P2763 sets. DTC P2763 is a type B DTC.
This diagnostic procedure supports the following DTC:
DTC P2763 Torque Converter Clutch (TCC) Pressure Control (PC) Solenoid Control Circuit High Voltage
| • | The system voltage is 8-18 volts. |
| • | The engine is running for 5 seconds or greater. |
The TCM detects a short to voltage on the TCC PWM solenoid valve control circuit for 4.4 seconds.
| • | The TCM requests the engine control module (ECM) to illuminate the malfunction indicator lamp (MIL) during the second consecutive trip in which the Conditions for Setting the DTC are met. |
| • | The TCM forces the TCC OFF. |
| • | The TCM inhibits TCC engagement. |
| • | The TCM commands increased line pressure. |
| • | The TCM inhibits 4th gear if in Hot Mode. |
| • | The TCM freezes transmission adaptive functions. |
| • | The ECM records the operating conditions when the Conditions for Setting the DTC are met. The ECM stores this information as Freeze Frame and Failure Records. |
| • | The TCM records the operating conditions when the Conditions for Setting the DTC are met. The TCM stores this information as Failure Records. |
| • | The TCM stores DTC P2763 in TCM history during the second consecutive trip in which the Conditions for Setting the DTC are met. |
| • | The ECM turns OFF the MIL after the third consecutive drive trip in which the TCM does not send a MIL illumination request. |
| • | A scan tool can clear the MIL/DTC. |
| • | The TCM clears the DTC from TCM history if the vehicle completes 40 warm-up cycles without a non-emission related diagnostic fault occurring. |
| • | The TCM cancels the default actions when the ignition is OFF long enough in order to power down the TCM. |
Step | Action | Value | Yes | No |
|---|---|---|---|---|
1 | Did you perform the Diagnostic System Check - Vehicle? | -- | Go to Step 2 | |
2 |
Important: Before clearing the DTC, use the scan tool in order to record the ECM and TCM Freeze Frame and Failure Records. Using the Clear Info function erases the Freeze Frame and Failure Records from the ECM and TCM. Does the TCC Duty Cycle CKT status parameter display OK? | -- | Go to Testing for Intermittent Conditions and Poor Connections | Go to Step 3 |
3 |
Refer to Automatic Transmission Inline 20-Way Connector End View . Does the test lamp illuminate? | -- | Go to Step 6 | Go to Step 4 |
4 |
Refer to Automatic Transmission Inline 20-Way Connector End View . Does the resistance measure less than the specified value? | 20 ohms | Go to Step 5 | Go to Step 7 |
5 |
Does the resistance measure less than the specified value? | 20 ohms | Go to Step 8 | Go to Step 7 |
6 | Test the control circuit of the TCC PWM valve for a short to voltage between the TCM and the AT inline 20-way connector. Refer to Circuit Testing and Wiring Repairs . Did you find and correct the condition? | -- | Go to Step 10 | Go to Step 9 |
7 | Replace the AT internal wiring harness. Refer to Valve Body and Pressure Switch Replacement . Did you complete the replacement? | -- | Go to Step 10 | -- |
8 | Replace the TCC PWM valve. Refer to Valve Body and Pressure Switch Replacement . Did you complete the replacement? | -- | Go to Step 10 | -- |
9 | Replace the TCM. Refer to Control Module References for replacement, setup, and programming. Did you complete the replacement? | -- | Go to Step 10 | -- |
10 | Perform the following procedure in order to verify the repair:
Has the test run and passed? | -- | Go to Step 11 | Go to Step 2 |
11 | With the scan tool, observe the stored information, capture info, and DTC Info. Does the scan tool display any DTCs that you have not diagnosed? | -- | System OK |