GM Service Manual Online
For 1990-2009 cars only

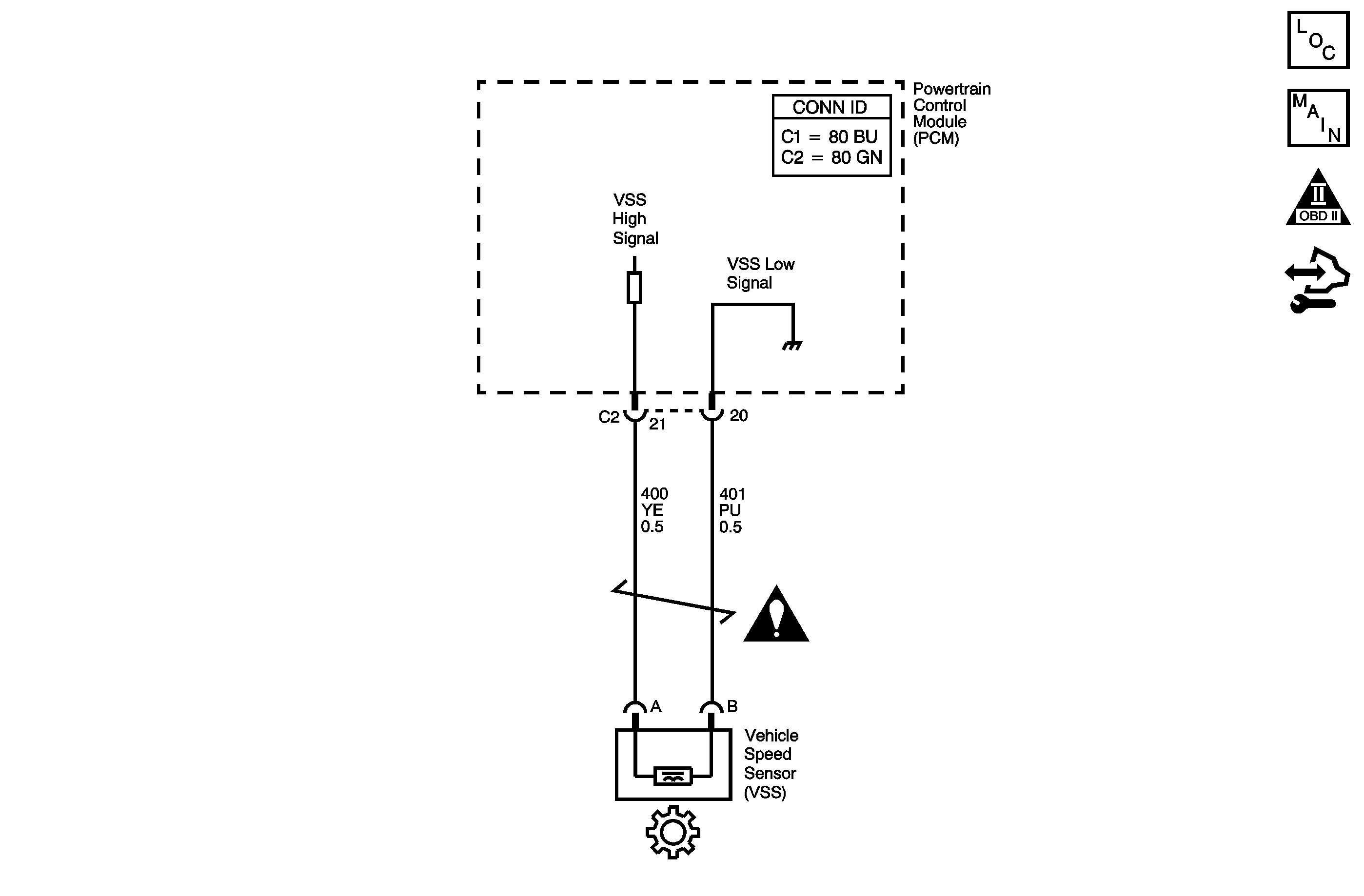
Object Number: 1824688  Size: MF
Master Electrical Component List
Automatic Transmission Controls Schematics
OBD II Symbol Description Notice
Control Module References

Circuit Description

The vehicle speed sensor (VSS) provides vehicle speed information to the powertrain control module (PCM). The VSS is a permanent magnet generator. The VSS produces an AC voltage as rotor teeth on the output shaft of the transmission, 2WD, or transfer case, AWD, pass through the sensor's magnetic field. The AC voltage level and the number of pulses increase as the speed of the vehicle increases. The PCM converts the pulsing voltage to vehicle speed. The PCM uses the vehicle speed signal to determine shift timing and torque converter clutch (TCC) scheduling.

When the PCM detects a low vehicle speed when there is a high engine speed in a drive gear range, then DTC P0502 sets. DTC P0502 is a type B DTC.

DTC Descriptor

This diagnostic procedure supports the following DTC:

DTC P0502 Vehicle Speed Sensor (VSS) Circuit Low Voltage

Conditions for Running the DTC

    • No manifold absolute pressure (MAP) sensor DTCs P0107 or P0108.
    • No throttle position (TP) sensor DTCs P0122 or P0123.
    • No transmission fluid pressure (TFP) manual valve position switch DTC P1810.
    • The engine vacuum is 0-105 kPa (0-15 psi).
    • The engine torque is 54-542 N·m (40-400 lb ft).
    • The TP angle is greater than 12 percent.
    • The engine speed is greater than 3,000 RPM.
    • The transmission is not in PARK or NEUTRAL.

Conditions for Setting the DTC

The transmission output speed is less than 150 RPM for 3 seconds.

Action Taken When the DTC Sets

    • The PCM illuminates the malfunction indicator lamp (MIL) during the second consecutive trip in which the Conditions for Setting the DTC are met.
    • The PCM commands second gear only.
    • The PCM commands maximum line pressure.
    • The PCM inhibits TCC engagement.
    • The PCM freezes Transmission Adaptive Functions.
    • The PCM records the operating conditions when the Conditions for Setting the DTC are met. The PCM stores this information as Freeze Frame and Failure Records.
    • The PCM stores DTC P0502 in PCM history during the second consecutive trip in which the Conditions for Setting the DTC are met.

Conditions for Clearing the MIL/DTC

    • The PCM turns OFF the MIL during the third consecutive trip in which the diagnostic test runs and passes.
    • A scan tool can clear the MIL/DTC.
    • The PCM clears the DTC from PCM history if the vehicle completes 40 warm-up cycles without an emission-related diagnostic fault occurring.
    • The PCM cancels the DTC default actions when the fault no longer exists and/or the ignition switch is OFF long enough in order to power down the PCM.

Test Description

The numbers below refer to the step numbers on the diagnostic table.

  1. This step tests the VSS circuits.

  2. This step tests the integrity of the VSS.

DTC P0502

Step

Action

Values

Yes

No

1

Did you perform the Diagnostic System Check - Vehicle?

--

Go to Step 2

Go to Diagnostic System Check - Vehicle

2

  1. Install a scan tool.
  2. Turn ON the ignition, with the engine OFF.
  3. Important: Before clearing the DTC, use the scan tool in order to record the Freeze Frame and Failure Records. Using the Clear Info function erases the Freeze Frame and Failure Records from the PCM.

  4. Record the DTC Freeze Frame and Failure Records.
  5. Clear the DTC.
  6. Raise and support the rear axle assembly.
  7. Start the engine.
  8. Place the transmission in any drive range.

With the drive wheels rotating, does the scan tool Transmission OSS increase with the drive wheel speed?

--

Go to Testing for Intermittent Conditions and Poor Connections

Go to Step 3

3

  1. Turn OFF the ignition.
  2. Disconnect the PCM.
  3. Using the DMM and the J 35616 GM Terminal Test Kit, measure the resistance between the VSS high signal and VSS low signal circuits at the PCM connector.

Does the resistance measure within the specified range?

1,377-3,355 ohms (2WD)

976-2,354 ohms (AWD)

Go to Step 4

Go to Step 7

4

  1. Place the transmission in NEUTRAL.
  2. Select AC volts.
  3. Prevent one rear wheel from turning.
  4. Rotate the other rear wheel by hand, ensuring that the drive shaft is turning.

Does the voltage measure greater than the specified value?

0.5 V

Go to Step 5

Go to Step 12

5

Measure the resistance from the high signal circuit of the VSS to ground.

Does the resistance measure greater than the specified value?

50 K ohms

Go to Step 6

Go to Step 9

6

  1. Connect the PCM.
  2. Disconnect the engine wiring harness from the VSS.
  3. Turn ON the ignition, with the engine OFF.
  4. Test the high signal circuit of the VSS for a short to voltage.

Refer to Testing for a Short to Voltage and Wiring Repairs .

Did you find and correct the condition?

--

Go to Step 15

Go to Step 14

7

  1. Disconnect the engine wiring harness from the VSS.
  2. Measure the resistance of the VSS.

Does the resistance measure within the specified range?

1,377-3,355 ohms (2WD)

976-2,354 ohms (AWD)

Go to Step 8

Go to Step 13

8

Was the resistance measured in Step 3 greater than the specified value?

3,355 ohms (2WD)

2,354 ohms (AWD)

Go to Step 10

Go to Step 11

9

Test the high signal circuit of the VSS for a short to ground. Refer to Testing for Short to Ground and Wiring Repairs .

Did you find and correct the condition?

--

Go to Step 15

--

10

  1. Test the high signal circuit of the VSS for an open.
  2. Test the low signal circuit of the VSS for an open.

Refer to Testing for Continuity and Wiring Repairs .

Did you find and correct the condition?

--

Go to Step 15

--

11

Test the high signal circuit and the low signal circuit of the VSS for a short together. Refer to Circuit Testing and Wiring Repairs .

Did you find and correct the condition?

--

Go to Step 15

--

12

  1. Remove the VSS.
  2. Inspect the output shaft speed sensor rotor for damage or misalignment.
  3. Inspect the case extension bushing for wear.

Did you find and correct the condition?

--

Go to Step 15

Go to Step 13

13

Important: For vehicles equipped with an active transfer case, identify the VSS before replacing. There are 2 transfer case speed sensors located near the VSS. Refer to the wire colors on the schematic to identify the VSS.

Replace the VSS. Refer to Vehicle Speed Sensor Replacement .

Did you complete the replacement?

--

Go to Step 15

--

14

Replace the PCM. Refer to Control Module References for replacement, setup and programming.

Did you complete the replacement?

--

Go to Step 15

--

15

Perform the following procedure in order to verify the repair:

  1. Select DTC.
  2. Select Clear Info.
  3. Operate the vehicle, so that the transmission output speed is greater than 250 RPM for 2 seconds.
  4. Select Specific DTC.
  5. Enter DTC P0502.

Has the test run and passed?

--

Go to Step 16

Go to Step 2

16

With the scan tool, observe the stored information, capture info, and DTC Info.

Does the scan tool display any DTCs that you have not diagnosed?

--

Go to Diagnostic Trouble Code (DTC) List - Vehicle

System OK