GM Service Manual Online
For 1990-2009 cars only

Removal Procedure

  1. Raise and support the vehicle. Refer to Lifting and Jacking the Vehicle .

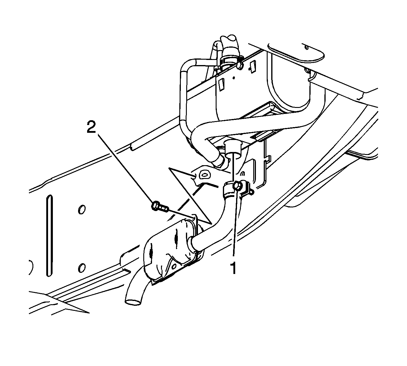
  2. Object Number: 1654524  Size: SH
  3. Loosen the bolt (1) securing the muffler to the heater coolant heater.
  4. Remove the muffler to the heater coolant heater bracket retaining bolt (2).
  5. Remove the muffler from the vehicle.

Installation Procedure


    Object Number: 1654524  Size: SH
  1. Install the muffler to the heater coolant heater.
  2. Notice: Refer to Fastener Notice in the Preface section.

  3. Install the muffler to the heater coolant heater retaining bolt (2).
  4. Tighten
    Tighten the bolts to 6 N·m (53 lb in).

  5. Lower the vehicle.