GM Service Manual Online
For 1990-2009 cars only

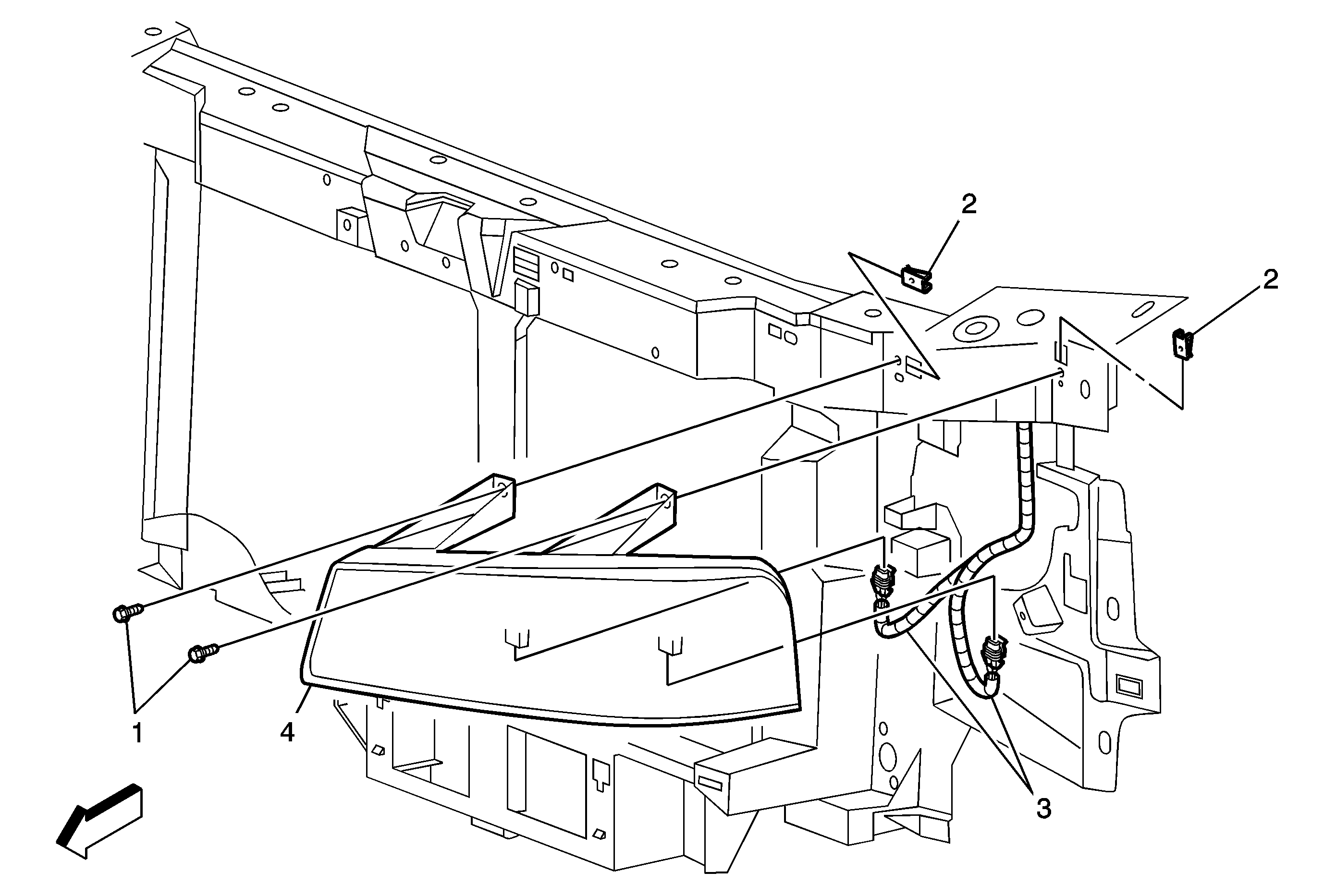
Headlamp Replacement V22


Object Number: 1892826  Size: MF

Callout

Component Name

Preliminary Procedure

  1. Remove the uplevel radiator grille assembly. Refer to Grille Replacement
  2. Aim the headlamps after the headlamp assembly has been replaced. Refer to Headlamp Aiming.

1

Headlamp Screw (Qty: 2)

Notice: Refer to Fastener Notice in the Preface section.

Tighten
10 N·m (89 lb in)

2

Headlamp Radiator Support Nut (Qty: 2)

3

Forward Lamp Harness Electrical Connector (Qty: 2)

4

Headlamp Assembly

Caution: Refer to Halogen Bulb Caution in the Preface section.

Tip
Transfer the headlamp bulb sockets as needed.