GM Service Manual Online
For 1990-2009 cars only
Connector 1: X100 Instrument Harness to Engine Panel Harness
Connector 2: X101 Chassis Harness to Engine Harness (Diesel)
Connector 3: X101 Chassis Harness to Engine Harness (Gas)
Connector 4: X104 Instrument Panel Harness to EFS Jumper
Connector 5: X105 Engine Harness to Chassis Harness (6.6L)
Connector 6: X107 Engine Chassis Harness to Engine Harness (6.6L)
Connector 7: X108 Engine Chassis Harness to Engine Harness (6.6L)
Connector 8: X109 Engine Harness to Underhood Lamp Harness
Connector 9: X110 Engine Harness to Oil Pressure/Oil Level Jumper Harness (6.6L)
Connector 10: X111 Engine Harness to Coolant Temp/Fuel Pressure Regulator Jumper Harness (6.6L)
Connector 11: X112 Engine Harness to Fuel Rail Pressure Sensor Jumper Harness (6.6L)
Connector 12: X115 Catalytic Converter Jumper Harness to Engine Harness (6.6L)
Connector 13: X126 Engine Harness to Left Ignition Coil Harness (4.8L/5.3L/6.0L)
Connector 14: X127 Engine Harness to Right Side Ignition Coil Harness (4.8L/5.3L/6.0L)
Connector 15: X128 Engine Harness to Heated Oxygen Sensor Jumper Harness (Cutaway 4.8L/6.0L)
Connector 16: X141 Instrument Panel Harness to Brake Fluid Alarm Switch Jumper Harness (UJ1)
Connector 17: X142 Engine Harness to Electro Viscous Fan Jumper Harness (6.6L)
Connector 18: X150 Instrument Panel Harness to Forward Lamp Harness (UFA)
Connector 19: X174 Chassis Harness to Transmission Jumper Harness (6.6L)
Connector 20: X175 Engine Harness to Transmission Harness (4L60-E)
Connector 21: X175 Engine Harness to Transmission Harness (4L80-E)
Connector 22: X176 Engine Harness to Camshaft Position Sensor Jumper Harness (4.3L)
Connector 23: X177 Engine Harness to Camshaft Postion Sensor Jumper Harness (4.8L/5.3L)
Connector 24: X177 Engine Harness to Camshaft Postion Sensor Jumper Harness (6.0L)
Connector 25: X200 Steering Column Harness to Instrument Panel Harness
Connector 26: X205 Front Headliner Harness to Body Harness
Connector 27: X220 Instrument Panel Harness to Park Brake Jumper Harness
Connector 28: X221 Stop Lamp Switch Jumper to Instrument Panel Harness
Connector 29: X222 Upfitter Provision Harness to Instrument Panel Harness (YF2/YF7)
Connector 30: X276 Instrument Panel Harness to Steering Wheel Harness
Connector 31: X305 Chassis Harness to Fuel Pump Jumper Harness (K08)
Connector 32: X306 Body Harness to Passenger Seat Harness
Connector 33: X307 Body Harness to Driver Seat Harness
Connector 34: X316 Transmission Jumper Harness to Fuel Pump Harness (6.6L)
Connector 35: X318 Instrument Panel Harness to Body Harness (Passenger/Cargo)
Connector 36: X319 Rear Heater Switch Harness to Body Harness (C36/ENC)
Connector 37: X320 Body Harness to Upfitter Connector (YF2/YF7)
Connector 38: X321 Upfitter Harness to Body Harness (YF2/YF7)
Connector 39: X324 Right Rear Side Impact Sensor Jumper to Body Harness (ASF)
Connector 40: X330 Instrument Panel Harness to Body Harness
Connector 41: X331 Instrument Panel Harness to Body Harness
Connector 42: X400 Right Rear Cargo Door to Body Harness (Passenger/Cargo)
Connector 43: X401 Left Tail Lamp Harness to Body Harness (Passenger/Cargo)
Connector 44: X402 Right Tail Lamp Harness to Body Harness (Passenger/Cargo)
Connector 45: X405 Cutaway Rear Lighting Connector to Chassis Harness (Cutaway)
Connector 46: X407 Rear HVAC Harness to Body Harness (C36/C69)
Connector 47: X409 Rear HVAC Harness to Body Harness (C36/C69)
Connector 48: X411 Left Rear Cargo Door Harness to Body Harness (Passenger/Cargo)
Connector 49: X412 Right Rear Cargo Door to Body Harness (Passenger/Cargo)
Connector 50: X413 Chassis Harness to Left Rear Wheel Speed Sensor Jumper Harness (JL4)
Connector 51: X414 Chassis Harness to Right Rear Wheel Speed Sensor Jumper Harness (JL4)
Connector 52: X415 Roof Center Speaker Harness to Body Harness (Passenger/Cargo)
Connector 53: X417 Dome Lamp Harness to Body Harness (Cargo without YF7)
Connector 54: X419 High Mounted Stop Lamp Harness to Body Harness (Passenger/Cargo)
Connector 55: X420 Rear Headliner Harness to Body Harness (Passenger/Cargo)
Connector 56: X500 Driver Door Harness to Body Harness
Connector 57: X501 Driver Side Impact Sensor Jumper Harness to Driver Door Harness (ASF)
Connector 58: X600 Passenger Door Harness to Body Harness
Connector 59: X601 Passenger Side Impact Sensor Jumper Harness to Passenger Door Harness (ASF)
Connector 60: X901 Defogger Jumper Harness to Left Rear Cargo Door Harness (C49 with A12)
Connector 61: X902 Rear Window Defogger Jumper Harness to Right Rear Cargo Door Harness (C49 with A12)

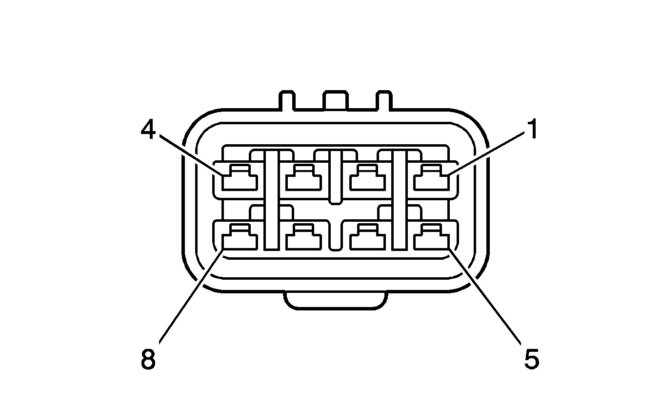
X100 Instrument Harness to Engine Panel Harness


Object Number: 1844783  Size: CH

Object Number: 1844790  Size: CH

Connector Part Information

  • OEM: 13601803
  • Service: See Catalog
  • Description: 40-Way F GT 150 280 Series Sealed (BK)

Connector Part Information

  • OEM: 13605375
  • Service: See Catalog
  • Description: 40-Way M GT 150 280 Series Sealed (BK)

Terminal Part Information

  • Terminal/Tray: See Terminal Repair Kit
  • Core/Insulation Crimp: See Terminal Repair Kit
  • Release Tool/Test Probe: See Terminal Repair Kit

Terminal Part Information

  • Terminal/Tray: See Terminal Repair Kit
  • Core/Insulation Crimp: See Terminal Repair Kit
  • Release Tool/Test Probe: See Terminal Repair Kit

X100 Instrument Harness to Engine Panel Harness

Pin

Wire

Circuit

Function

Pin

Wire

Circuit

Function

1

0.35 L-BU/WH

6311

Torque Converter Clutch (TCC) Brake Signal

1

0.5 L-BU/WH

6311

Torque Converter Clutch (TCC) Brake Signal

2

0.8 OG

52

Blower Motor High Control

2

0.8 OG

52

Blower Motor High Control

3

0.8 L-BU

72

Medium 2 Blower Motor Control

3

0.8 L-BU

72

Medium 2 Blower Motor Control

4

0.5 OG

1732

Courtesy Lamps Control

4

0.5 OG

1732

Courtesy Lamps Control

5

0.8 BN

141

Ignition Voltage (Diesel)

5

0.8 BN

141

Ignition Voltage (Diesel)

6

0.8 TN

63

Blower Motor Medium Control

6

0.8 TN

63

Blower Motor Medium Control

7

2 BK

1250

Ground

7

2 BK

1250

Ground

8

0.8 YE

60

Blower Motor Low Control

8

0.8 YE

60

Blower Motor Low Control

9

0.35 D-BU

507

Wait to Start Indicator Control (Diesel)

9

0.5 D-BU

507

Wait to Start Indicator Control (Diesel)

10-11

--

--

Not Used

10-11

--

--

Not Used

12

0.5 L-GN

1478

Coolant Level Switch Signal (Diesel)

12

0.5 L-GN

1478

Coolant Level Switch Signal (Diesel)

13

0.5 BK/WH

351

Ground (Diesel)

13

0.5 BK/WH

351

Ground (Diesel)

14

0.5 L-GN

66

A/C Request Signal (C60)

14

0.5 L-GN

66

A/C Request Signal (C60)

15

0.5 L-BU

5986

Serial Data Communication Enable

15

0.5 L-BU

5986

Serial Data Communication Enable

16

0.5 L-GN

66

A/C Request Signal (C60)

16

0.5 L-GN

66

A/C Request Signal (C60)

17

0.5 PU

333

Brake Fluid Level Sensor Signal

17

0.5 PU

333

Brake Fluid Level Sensor Signal

18

0.35 BN/WH

419

MIL Control

18

0.35 BN/WH

419

MIL Control (Gas)

0.5 BN/WH

419

MIL Control (Diesel)

19

0.5 D-BU

5985

Accessory Wakeup Serial Data

19

0.5 D-BU

5985

Accessory Wakeup Serial Data

20

--

--

Not Used

20

--

--

Not Used

21

0.35 BN

1271

Low Reference

21

0.35 BN

1271

Low Reference (Gas)

0.5 BN

1271

Low Reference (Diesel)

22

0.35 WH/BK

1164

5-Volt Reference

22

0.35 WH/BK

1164

5-Volt Reference (Gas)

0.5 WH/BK

1164

5-Volt Reference (Diesel)

23

0.35 TN

1274

5-Volt Reference

23

0.35 TN

1274

5-Volt Reference (Gas)

0.5 TN

1274

5-Volt Reference (Diesel)

24

0.5 GY

6044

5-Volt Reference (JL4)

24

0.5 GY

6044

5-Volt Reference (JL4)

25

0.5 YE

6046

Steering Angle Sensor Phase A (JL4)

25

0.5 YE

6046

Steering Angle Sensor Phase A (JL4)

26

0.5 TN

6048

Steering Angle Sensor Phase C (JL4)

26

0.5 TN

6048

Steering Angle Sensor Phase C (JL4)

27

0.35 D-BU

1161

Accelerator Pedal Position (APP) Sensor 1 Signal

27

0.35 D-BU

1161

Accelerator Pedal Position (APP) Sensor 1 Signal (Gas)

0.5 D-BU

1161

Accelerator Pedal Position (APP) Sensor 1 Signal (Diesel)

28

0.35 PU

1272

Low Reference

28

0.5 PU

1272

Low Reference

29

0.35 L-BU

1162

Accelerator Pedal Position (APP) Sensor 2 Signal

29

0.5 L-BU

1162

Accelerator Pedal Position (APP) Sensor 2 Signal

30

0.5 OG/BK

6045

Low Reference (JL4)

30

0.5 OG/BK

6045

Low Reference (JL4)

31

0.5 D-BU

6047

Steering Angle Sensor Phase B (JL4)

31

0.5 D-BU

6047

Steering Angle Sensor Phase B (JL4)

32

0.5 L-GN

6043

Steering Angle Sensor Signal (JL4)

32

0.5 L-GN

6043

Steering Angle Sensor Signal (JL4)

33

0.5 TN/BK

2500

High Speed GMLAN Serial Data Bus (+)

33

0.5 TN/BK

2500

High Speed GMLAN Serial Data Bus (+)

34

0.5 BN/WH

6437

CAN Bus High Terminated Serial Data (JL4)

34

0.5 BN/WH

6437

CAN Bus High Terminated Serial Data (JL4)

35

0.5 GY/BK

1337

5-Volt Reference (JL4)

35

0.5 GY/BK

1337

5-Volt Reference (JL4)

36

0.5 TN/BK

2500

High Speed GMLAN Serial Data Bus (+)

36

0.5 TN/BK

2500

High Speed GMLAN Serial Data Bus (+)

37

0.5 TN

2501

High Speed GMLAN Serial Data Bus (-)

37

0.5 TN

2501

High Speed GMLAN Serial Data Bus (-)

38

0.5 WH/BK

6436

CAN Bus Low Terminated Serial Data (JL4)

38

0.5 WH/BK

6436

CAN Bus Low Terminated Serial Data (JL4)

39

0.5 BK/PU

7499

Low Reference (JL4)

39

0.5 BK/PU

7499

Low Reference (JL4)

40

0.5 TN

2501

High Speed GMLAN Serial Data Bus (-)

40

0.5 TN

2501

High Speed GMLAN Serial Data Bus (-)

X101 Chassis Harness to Engine Harness (Diesel)


Object Number: 730856  Size: CH

Object Number: 730855  Size: CH

Connector Part Information

  • OEM: 15355480
  • Service: 15355480
  • Description: 30-Way F GT 150 Sealed (BK)

Connector Part Information

  • OEM: 15450272
  • Service: See Catalog
  • Description: 30-Way M GT 150, 280 Series Sealed (BK)

Terminal Part Information

  • Pins: B1-B10, C1-C7, C9-C10
  • Terminal/Tray: 12191819/8
  • Core/Insulation Crimp: E/A
  • Release Tool/Test Probe: 15315247/J-35616-2A (GY)
  • Pins: A1, A5, D1, D5
  • Terminal/Tray: 15304719/19
  • Core/Insulation Crimp: Pins: D5 : 2/5
  • Core/Insulation Crimp: Pins: A1, A5, D1, D5 : E/5
  • Release Tool/Test Probe: 15315247/J-35616-4A (PU)
  • Pins: A2-A3, D2-D3
  • Terminal/Tray: 15305232/23
  • Core/Insulation Crimp: B/4/3
  • Release Tool/Test Probe: 12094430/J-35616-42 (RD)

Terminal Part Information

  • Terminal/Tray: See Terminal Repair Kit
  • Core/Insulation Crimp: See Terminal Repair Kit
  • Release Tool/Test Probe: See Terminal Repair Kit

X101 Chassis Harness to Engine Harness (Diesel)

Pin

Wire

Circuit

Function

Pin

Wire

Circuit

Function

A1

0.35 PK

1224

Transmission Fluid Pressure Switch Signal A

A1

0.35 PK

1224

Transmission Fluid Pressure Switch Signal A

A2

0.5 YE/BK

1827

Vehicle Speed Signal

A2

0.5 YE/BK

1827

Vehicle Speed Signal

A3-A4

--

--

Not Used

A3-A4

--

--

Not Used

A5

0.5 BN

418

Torque Converter Clutch Pulse Width Modulation (TCC PWM) Solenoid Valve Control

A5

0.5 BN

418

Torque Converter Clutch Pulse Width Modulation (TCC PWM) Solenoid Valve Control

B1

0.35 D-BU

1225

Transmission Fluid Pressure Switch Signal B

B1

0.35 D-BU

1225

Transmission Fluid Pressure Switch Signal B

B2

0.35 OG

1226

Transmission Fluid Pressure Switch Signal C

B2

0.35 OG

1226

Transmission Fluid Pressure Switch Signal C

B3

0.5 TN/BK

2500

High Speed GMLAN Serial Data Bus (+)

B3

0.5 TN/BK

2500

High Speed GMLAN Serial Data Bus (+)

B4

0.5 TN/WH

771

Transmission Range Switch Signal A

B4

0.5 TN/WH

771

Transmission Range Switch Signal A

B5

0.5 GY

773

Transmission Range Switch Signal C

B5

0.5 GY

773

Transmission Range Switch Signal C

B6

0.8 BK/WH

1551

Ground

B6

0.8 BK/WH

1551

Ground

B7

0.35 TN

452

Low Reference

B7

0.35 TN

452

Low Reference

B8

--

--

Not Used

B8

--

--

Not Used

B9

0.35 OG/BK

1228

PC Solenoid Valve High Control (Sol. A)

B9

0.35 OG/BK

1228

PC Solenoid Valve High Control (Sol. A)

B10

0.5 L-GN

1222

1-2 Shift Solenoid Valve Control

B10

0.5 L-GN

1222

1-2 Shift Solenoid Valve Control

C1

0.5 TN

2759

Low Reference

C1

0.5 TN

2759

Low Reference

C2

0.5 PU

1589

Fuel Level Sensor Signal - Primary

C2

0.5 PU

1589

Fuel Level Sensor Signal - Primary

C3

0.5 TN

2501

High Speed GMLAN Serial Data Bus (-)

C3

0.5 TN

2501

High Speed GMLAN Serial Data Bus (-)

C4

0.5 YE

772

Transmission Range Switch Signal B

C4

0.5 YE

772

Transmission Range Switch Signal B

C5

0.5 WH

776

Transmission Range Switch Signal P

C5

0.5 WH

776

Transmission Range Switch Signal P

C6

0.5 OG/BK

1786

Ignition Lock Cylinder Control Actuator Signal

C6

0.5 OG/BK

1786

Ignition Lock Cylinder Control Actuator Signal

C7

0.35 YE/BK

1227

Transmission Fluid Temperature (TFT) Sensor Signal

C7

0.35 YE/BK

1227

Transmission Fluid Temperature (TFT) Sensor Signal

C8

--

--

Not Used

C8

--

--

Not Used

C9

0.35 L-BU/WH

1229

PC Solenoid Valve Low Control (Sol. A)

C9

0.35 L-BU/WH

1229

PC Solenoid Valve Low Control (Sol. A)

C10

0.5 YE/BK

1223

2-3 Shift Solenoid Valve Control

C10

0.5 YE/BK

1223

2-3 Shift Solenoid Valve Control

D1

0.5 L-BU

5986

Serial Data Communication Enable

D1

0.5 L-BU

5986

Serial Data Communication Enable

D2

0.5 YE/BK

508

Water In Fuel Indicator Control

D2

0.5 YE/BK

508

Water In Fuel Indicator Control

D3

0.5 D-BU

6863

Low Reference

D3

0.5 D-BU

6863

Low Reference

D4

--

--

Not Used

D4

--

--

Not Used

D5

0.8 PK

3039

Ignition Voltage

D5

0.8 PK

3039

Ignition Voltage

X101 Chassis Harness to Engine Harness (Gas)


Object Number: 730856  Size: CH

Object Number: 730855  Size: CH

Connector Part Information

  • OEM: 15355480
  • Service: 15355480
  • Description: 30-Way F GT 150 Sealed (BK)

Connector Part Information

  • OEM: 15450272
  • Service: See Catalog
  • Description: 30-Way M GT 150, 280 Series Sealed (BK)

Terminal Part Information

  • Pins: B1-B10, C1-C7, C9-C10
  • Terminal/Tray: 12191819/8
  • Core/Insulation Crimp: E/A
  • Release Tool/Test Probe: 15315247/J-35616-2A (GY)
  • Pins: A1, A5, D1, D5
  • Terminal/Tray: 15304719/19
  • Core/Insulation Crimp: Pins: D5 : 2/5
  • Core/Insulation Crimp: Pins: A1, A5, D1, D5 : E/5
  • Release Tool/Test Probe: 15315247/J-35616-4A (PU)
  • Pins: A2-A3, D2-D3
  • Terminal/Tray: 15305232/23
  • Core/Insulation Crimp: B/4/3
  • Release Tool/Test Probe: 12094430/J-35616-42 (RD)

Terminal Part Information

  • Terminal/Tray: See Terminal Repair Kit
  • Core/Insulation Crimp: See Terminal Repair Kit
  • Release Tool/Test Probe: See Terminal Repair Kit

X101 Chassis Harness to Engine Harness (Gas)

Pin

Wire

Circuit

Function

Pin

Wire

Circuit

Function

A1

0.5 YE

6046

Steering Angle Sensor Phase A (JL4)

A1

0.5 YE

6046

Steering Angle Sensor Phase A (JL4)

A2

0.5 D-BU

6047

Steering Angle Sensor Phase B (JL4)

A2

0.5 D-BU

6047

Steering Angle Sensor Phase B (JL4)

A3

0.5 TN

6048

Steering Angle Sensor Phase C (JL4)

A3

0.5 TN

6048

Steering Angle Sensor Phase C (JL4)

A4-A5

--

--

Not Used

A4-A5

--

--

Not Used

B1

0.5 GY

2709

5-Volt Reference

B1

0.5 GY

2709

5-Volt Reference

B2

0.5 D-GN

890

Fuel Tank Pressure Sensor Signal

B2

0.5 D-GN

890

Fuel Tank Pressure Sensor Signal

B3

0.5 TN/BK

2500

High Speed GMLAN Serial Data Bus (+)

B3

0.5 TN/BK

2500

High Speed GMLAN Serial Data Bus (+)

B4

0.5 PU

333

Brake Fluid Level Sensor Signal (Light Duty)

B4

0.5 PU

333

Brake Fluid Level Sensor Signal (Light Duty)

B5

0.5 TN/BK

2500

High Speed GMLAN Serial Data Bus (+)

B5

0.5 TN/BK

2500

High Speed GMLAN Serial Data Bus (+)

B6

0.5 YE/BK

1827

Vehicle Speed Signal

B6

0.35 YE/BK

1827

Vehicle Speed Signal

B7

0.5 GY/BK

1337

5-Volt Reference (JL4)

B7

0.5 GY/BK

1337

5-Volt Reference (JL4)

B8

0.5 BK/PU

7499

Low Reference (JL4)

B8

0.5 BK/PU

7499

Low Reference (JL4)

B9-B10

--

--

Not Used

B9-B10

--

--

Not Used

C1

0.5 TN

2759

Low Reference

C1

0.5 TN

2759

Low Reference

C2

0.5 PU

1589

Fuel Level Sensor Signal - Primary

C2

0.5 PU

1589

Fuel Level Sensor Signal - Primary

C3

0.5 TN

2501

High Speed GMLAN Serial Data Bus (-)

C3

0.5 TN

2501

High Speed GMLAN Serial Data Bus (-)

C4

0.5 L-GN

6043

Steering Angle Sensor Signal (JL4)

C4

0.5 L-GN

6043

Steering Angle Sensor Signal (JL4)

C5

0.5 TN

2501

High Speed GMLAN Serial Data Bus (-)

C5

0.5 TN

2501

High Speed GMLAN Serial Data Bus (-)

C6

0.5 WH/BK

6436

CAN Bus Low Terminated Serial Data (JL4)

C6

0.5 WH/BK

6436

CAN Bus Low Terminated Serial Data (JL4)

C7

0.5 BN/WH

6437

CAN Bus High Terminated Serial Data (JL4)

C7

0.5 BN/WH

6437

CAN Bus High Terminated Serial Data (JL4)

C8

--

--

Not Used

C8

--

--

Not Used

C9

0.35 D-GN/WH

465

Fuel Pump Relay Control (Primary) (5.3L)

C9

0.35 D-GN/WH

465

Fuel Pump Relay Control (Primary) (5.3L)

C10

--

--

Not Used

C10

--

--

Not Used

D1

0.5 L-BU

5986

Serial Data Communication Enable

D1

0.5 L-BU

5986

Serial Data Communication Enable

D2

0.5 GY

6044

5-Volt Reference (JL4)

D2

0.5 GY

6044

5-Volt Reference (JL4)

D3

0.5 OG/BK

6045

Low Reference (JL4)

D3

0.5 OG/BK

6045

Low Reference (JL4)

D4

--

--

Not Used

D4

--

--

Not Used

D5

0.5 WH

1310

Evaporative Emission (EVAP) Canister Vent Solenoid Control

D5

0.5 WH

1310

Evaporative Emission (EVAP) Canister Vent Solenoid Control

X104 Instrument Panel Harness to EFS Jumper


Object Number: 684799  Size: CH

Object Number: 879383  Size: CH

Connector Part Information

  • OEM: 12077900
  • Service: 12116247
  • Description: 2-Way F Metri-Pack 280 Series Sealed (BK)

Connector Part Information

  • OEM: 15317807
  • Service: 19149308
  • Description: 2-Way M Metri-Pack 280 Series Sealed (BK)

Terminal Part Information

  • Terminal/Tray: 12077411/2
  • Core/Insulation Crimp: 2/5
  • Release Tool/Test Probe: 12094430/J-35616-4A (PU)

Terminal Part Information

  • Terminal/Tray: See Terminal Repair Kit
  • Core/Insulation Crimp: See Terminal Repair Kit
  • Release Tool/Test Probe: See Terminal Repair Kit

X104 Instrument Panel Harness to EFS Jumper

Pin

Wire

Circuit

Function

Pin

Wire

Circuit

Function

A

0.5 BN/WH

6618

Discriminating Sensor - Signal

A

0.5 BN/WH

6618

Discriminating Sensor - Signal

B

0.5 D-BU/WH

6619

Low Reference

B

0.5 D-BU/WH

6619

Low Reference

X105 Engine Harness to Chassis Harness (6.6L)


Object Number: 655815  Size: CH

Object Number: 655819  Size: CH

Connector Part Information

  • OEM: 15326660
  • Service: 15326660
  • Description: 10-Way F GT 280 5.8 Series Sealed (BK)

Connector Part Information

  • OEM: 15326661
  • Service: 15326661
  • Description: 10-Way M GT 280 5.8 Series Sealed (BK)

Terminal Part Information

  • Pins: A-D, F-G
  • Terminal/Tray: 15304719/19
  • Core/Insulation Crimp: Pins: A-B : 2/5
  • Core/Insulation Crimp: Pins: C-D, F-G : E/5
  • Release Tool/Test Probe: 15315247/J-35616-4A (PU)

Terminal Part Information

  • Terminal/Tray: See Terminal Repair Kit
  • Core/Insulation Crimp: See Terminal Repair Kit
  • Release Tool/Test Probe: See Terminal Repair Kit

X105 Engine Harness to Chassis Harness (6.6L)

Pin

Wire

Circuit

Function

Pin

Wire

Circuit

Function

A

0.8 TN/BK

2500

High Speed GMLAN Serial Data Bus (+)

A

0.5 TN/BK

2500

High Speed GMLAN Serial Data Bus (+)

B

0.8 TN

2501

High Speed GMLAN Serial Data Bus (-)

B

0.5 TN

2501

High Speed GMLAN Serial Data Bus (-)

C

0.5 PU/WH

821

Vehicle Speed Sensor (VSS) High Signal

C

0.5 PU/WH

821

Vehicle Speed Sensor (VSS) High Signal

D

0.5 L-GN/BK

822

Vehicle Speed Sensor (VSS) Low Signal

D

0.5 L-GN/BK

822

Vehicle Speed Sensor (VSS) Low Signal

E

--

--

Not Used

E

--

--

Not Used

F

0.5 OG/BK

1230

Automatic Transmission Input Speed Sensor (AT ISS) High Signal

F

0.5 OG/BK

1230

Automatic Transmission Input Speed Sensor (AT ISS) High Signal

G

0.5 D-BU/WH

1231

Automatic Transmission Input Speed Sensor (AT ISS) Low Signal

G

0.5 D-BU/WH

1231

Automatic Transmission Input Speed Sensor (AT ISS) Low Signal

H-K

--

--

Not Used

H-K

--

--

Not Used

X107 Engine Chassis Harness to Engine Harness (6.6L)


Object Number: 1713502  Size: CH

Object Number: 1713503  Size: CH

Connector Part Information

  • OEM: 13601803
  • Service: See Catalog
  • Description: 40-Way F GT 150 280 Series Sealed (BK)

Connector Part Information

  • OEM: 13551536
  • Service: See Catalog
  • Description: 40-Way M GT 150 280 Series Sealed (BK)

Terminal Part Information

  • Pins : 1, 5, 9-17, 24-26, 30-33, 36-37, 40
  • Terminal/Tray: 12191819/8
  • Core/Insulation Crimp: Pins: 9-10, 36, 40 : 2/A
  • Core/Insulation Crimp: Pins: 1, 5, 11-17, 24-26, 30-33, 37 : E/A
  • Release Tool/Test Probe: 15315247/J-35616-2A (GY)
  • Pins: 2-3, 6-7, 34-35, 38-39
  • Terminal/Tray: 15304719/19
  • Core/Insulation Crimp: Pins: 2-3, 6-7, 34-35 : 2/5
  • Core/Insulation Crimp: Pins: 38-39 : E/5
  • Release Tool/Test Probe: 15315247/J-35616-4A (PU)
  • Pins: 21-23, 29
  • Terminal/Tray: N/A
  • Core/Insulation Crimp: N/A
  • Release Tool/Test Probe: N/A
  • Pins: 4, 8, 18-20, 27-28
  • Terminal/Tray: 15326427/5
  • Core/Insulation Crimp: E/A
  • Release Tool/Test Probe: 15315247/J-35616-2A (GY)

Terminal Part Information

  • Terminal/Tray: See Terminal Repair Kit
  • Core/Insulation Crimp: See Terminal Repair Kit
  • Release Tool/Test Probe: See Terminal Repair Kit

X107 Engine Chassis Harness to Engine Harness (6.6L)

Pin

Wire

Circuit

Function

Pin

Wire

Circuit

Function

1

0.5 D-BU

5930

Turbocharger Vane Position Control Solenoid Valve Control Circuit

1

0.5 D-BU

IC170

Turbocharger Vane Position Control Solenoid Valve Control Circuit

2

1 OG

5421

Fuel Injector Control 1

2

2 OG

IC10

Fuel Injector Control 1

3

1 YE

5422

Fuel Injector Control 2

3

2 YE

IC11

Fuel Injector Control 2

4

0.5 L-BU

6118

Air Temperature Sensor Signal

4

0.5 L-BU

IC188

Air Temperature Sensor Signal

5

0.5 WH

5931

Low Reference

5

0.5 WH

IC171

Low Reference

6

1 TN

1744

Fuel Injector 1 Control

6

2 TN

IC15

Fuel Injector 1 Control

7

1 YE/BK

846

Fuel Injector 6 Control

7

2 YE/BK

IC20

Fuel Injector 6 Control

8

0.5 YE/BK

6120

Low Reference

8

0.5 YE/BK

IC189

Low Reference

9

0.8 YE

581

Throttle Actuator Control Motor Control - 1

9

0.75 YE

IC156

Throttle Actuator Control Motor Control - 1

10

0.8 BN

582

Throttle Actuator Control Motor Control - 2

10

0.75 BN

IC151

Throttle Actuator Control Motor Control - 2

11

0.5 D-GN

485

Throttle Position (TP) Sensor 1 Signal

11

0.5 L-GN

IC153

Throttle Position (TP) Sensor 1 Signal

12

0.5 BN

1174

Oil Level Switch Signal

12

0.5 BN

IC68

Oil Level Switch Signal

13

0.5 TN

2752

Low Reference

13

0.5 TN

IC154

Low Reference

14

0.5 GY

2701

5-Volt Reference

14

0.5 GY

IC150

5-Volt Reference

15

0.5 GY

2705

5-Volt Reference

15

0.5 GY

IC57

5-Volt Reference

16

0.5 BK

2755

Low Reference

16

0.5 BK

IC71

Low Reference

17

0.5 TN/WH

331

Oil Pressure Sensor Signal

17

0.5 TN/WH

IC66

Oil Pressure Sensor Signal

18

0.5 YE

5947

Turbocharger Vane Position Sensor Signal

18

0.5 YE

IC162

Turbocharger Vane Position Sensor Signal

19

0.5 OG/BK

5929

Low Reference

19

0.5 OG/BK

IC161

Low Reference

20

0.5 TN

5928

5-Volt Reference

20

0.5 TN

IC160

5-Volt Reference

21-23

--

--

Not Used

21-23

--

--

Not Used

24

0.5 TN

2761

Low Reference

24

0.5 TN

IC47

Low Reference

25

0.5 L-BU/BK

6813

Low Reference

25

0.5 L-BU/BK

IC51

Low Reference

26

0.5 BN

6062

Low Reference

26

0.5 BN

IC44

Low Reference

27

0.5 PU/WH

2530

Fuel Pressure Regulator Solenoid Control

27

0.5 PU/WH

IC32

Fuel Pressure Regulator Solenoid Control

28

0.5 YE

2834

Fuel Pressure Regulator Solenoid Control

28

0.5 YE

IC31

Fuel Pressure Regulator Solenoid Control

29

--

--

Not Used

29

--

--

Not Used

30

0.5 YE

410

Engine Coolant Temperature (ECT) Sensor Signal

30

0.5 YE

IC41

Engine Coolant Temperature (ECT) Sensor Signal

31

0.5 L-GN

2032

Engine Coolant Temperature (ECT) Sensor Signal

31

0.5 L-GN

IC50

Engine Coolant Temperature (ECT) Sensor Signal

32

0.5 YE

1578

Fuel Temperature Signal

32

0.5 YE

IC43

Fuel Temperature Signal

33

0.5 TN

2501

High Speed GMLAN Serial Data Bus (-)

33

0.75 TN

HB05

High Speed GMLAN Serial Data Bus (-)

34

1 OG/BK

877

Fuel Injector 7 Control

34

2 OG/BK

IC21

Fuel Injector 7 Control

35

1 L-BU/BK

844

Fuel Injector 4 Control

35

2 L-BU/BK

IC18

Fuel Injector 4 Control

36

0.8 TN

2501

High Speed GMLAN Serial Data Bus (-)

36

0.75 TN

HB01

High Speed GMLAN Serial Data Bus (-)

37

0.5 TN/BK

2500

High Speed GMLAN Serial Data Bus (+)

37

0.75 TN/BK

HB06

High Speed GMLAN Serial Data Bus (+)

38

0.5 PK

439

Ignition Voltage

38

0.75 PK

HB02

Ignition Voltage

39

0.5 D-BU

5985

Accessory Wakeup Serial Data

39

1 PK

HB04

Accessory Wakeup Serial Data

40

0.8 TN/BK

2500

High Speed GMLAN Serial Data Bus (+)

40

0.75 TN/BK

HB20

High Speed GMLAN Serial Data Bus (+)

X108 Engine Chassis Harness to Engine Harness (6.6L)


Object Number: 1822199  Size: CH

Object Number: 1822198  Size: CH

Connector Part Information

  • OEM: 13601804
  • Service: See Catalog
  • Description: 40-Way F GT 150 280 Series Sealed (GY)

Connector Part Information

  • OEM: 13551537
  • Service: See Catalog
  • Description: 40-Way M GT 150 280 Series Sealed (GY)

Terminal Part Information

  • Pins: 9-20, 28-33, 36-37, 40
  • Terminal/Tray: 12191819/8
  • Core/Insulation Crimp: E/A
  • Release Tool/Test Probe: 15315247/J-35616-2A (GY)
  • Pins: 2-3, 6-7, 34-35
  • Terminal/Tray: 15304719/19
  • Core/Insulation Crimp: 2/5
  • Release Tool/Test Probe: 15315247/J-35616-4A (PU)

Terminal Part Information

  • Terminal/Tray: See Terminal Repair Kit
  • Core/Insulation Crimp: See Terminal Repair Kit
  • Release Tool/Test Probe: See Terminal Repair Kit

X108 Engine Chassis Harness to Engine Harness (6.6L)

Pin

Wire

Circuit

Function

Pin

Wire

Circuit

Function

1

--

--

Not Used

1

--

--

Not Used

2

1 PK

5425

Fuel Injector 4 Control

2

2 PK

IC12

Fuel Injector 4 Control

3

1 PU

5423

Fuel Injector 3 Control

3

2 PU

IC13

Fuel Injector 3 Control

4-5

--

--

Not Used

4-5

--

--

Not Used

6

1 PK/BK

1746

Fuel Injector 3 Control

6

2 PK/BK

IC17

Fuel Injector 3 Control

7

1 L-GN/BK

1745

Fuel Injector 2 Control

7

2 L-GN/BK

IC16

Fuel Injector 2 Control

8

--

--

Not Used

8

--

--

Not Used

9

0.5 PU/WH

6270

5-Volt Reference

9

0.5 PU/WH

IC23

5-Volt Reference

10

0.5 GY/BK

6272

Low Reference

10

0.5 GY/BK

IC25

Low Reference

11

0.5 WH/BK

6271

Crankshaft Position (CKP) Sensor Signal

11

0.5 WH/BK

IC24

Crankshaft Position (CKP) Sensor Signal

12

0.5 L-GN

432

Manifold Absolute Pressure (MAP) Sensor Signal

12

0.5 L-GN

IC94

Manifold Absolute Pressure (MAP) Sensor Signal

13

0.5 OG/BK

469

Low Reference

13

0.5 OG/BK

IC93

Low Reference

14

0.5 GY

2704

5-Volt Reference

14

0.5 GY

IC92

5-Volt Reference

15

0.5 TN

2917

5-Volt Reference

15

0.5 TN

IC37

5-Volt Reference

16

0.5 OG/BK

2919

Low Reference

16

0.5 OG/BK

IC46

Low Reference

17

0.5 YE

2918

Fuel Rail Pressure (FRP) Sensor Signal

17

0.5 YE

IC40

Fuel Rail Pressure (FRP) Sensor Signal

18

0.5 D-BU/WH

6265

Camshaft Position (CMP) Sensor Signal

18

0.5 D-BU/WH

IC27

Camshaft Position (CMP) Sensor Signal

19

0.5 BN

6266

Low Reference

19

0.5 BN

IC28

Low Reference

20

0.5 D-BU

6259

5-Volt Reference

20

0.5 D-BU

IC26

5-Volt Reference

21-27

--

--

Not Used

21-27

--

--

Not Used

28

0.5 GY

2702

5-Volt Reference

28

0.5 GY

IC142

5-Volt Reference

29

0.5 TN

2753

Low Reference

29

0.5 TN

IC143

Low Reference

30

0.5 BN/WH

5763

Exhaust Gas Recirculation (EGR) Valve Sensor Signal

30

0.5 BN/WH

IC144

Exhaust Gas Recirculation (EGR) Valve Sensor Signal

31

0.5 L-GN/BK

5746

Exhaust Gas Recirculation (EGR) Valve Motor Low Control

31

0.5 L-GN/BK

IC141

Exhaust Gas Recirculation (EGR) Valve Motor Low Control

32

0.5 OG/BK

5764

Exhaust Gas Recirculation Valve Motor High Control

32

0.5 OG/BK

IC140

Exhaust Gas Recirculation Valve Motor High Control

33

0.5 BN

6782

Low Reference

33

0.5 BN

IC146

Low Reference

34

1 TN/WH

845

Fuel Injector 5 Control

34

2 TN/WH

IC19

Fuel Injector 5 Control

35

1 D-BU/WH

878

Fuel Injector 8 Control

35

2 D-BU/WH

IC22

Fuel Injector 8 Control

36

0.5 BN/WH

6783

Low Reference

36

0.5 WH

IC148

Low Reference

37

0.5 D-BU

5277

Exhaust Gas Temperature Sensor Signal

37

0.5 PU/WH

IC145

Exhaust Gas Temperature Sensor Signal

38-39

--

--

Not Used

38-39

--

--

Not Used

40

0.5 L-BU

5377

Exhaust Gas Temperature Sensor Signal

40

0.5 D-BU

IC147

Exhaust Gas Temperature Sensor Signal

X109 Engine Harness to Underhood Lamp Harness


Object Number: 635009  Size: CH

Object Number: 333041  Size: CH

Connector Part Information

  • OEM: 12052641
  • Service: 12052641
  • Description: 2-Way F Metri-Pack 150 Series Sealed (BK)

Connector Part Information

  • OEM: 12162000
  • Service: 12167120
  • Description: 2-Way M Metri-Pack 150 Series Sealed (BK)

Terminal Part Information

  • Terminal/Tray: 12048074/2
  • Core/Insulation Crimp: E/1
  • Release Tool/Test Probe: 12094429/J-35616-14 (GN)

Terminal Part Information

  • Terminal/Tray: See Terminal Repair Kit
  • Core/Insulation Crimp: See Terminal Repair Kit
  • Release Tool/Test Probe: See Terminal Repair Kit

X109 Engine Harness to Underhood Lamp Harness

Pin

Wire

Circuit

Function

Pin

Wire

Circuit

Function

A

0.5 OG

1732

Courtesy Lamps Control

A

0.5 OG

1732

Courtesy Lamps Control

B

0.8 BK

1250

Ground

B

0.5 BK

1250

Ground

X110 Engine Harness to Oil Pressure/Oil Level Jumper Harness (6.6L)


Object Number: 1619748  Size: CH

Object Number: 1619749  Size: CH

Connector Part Information

  • OEM: NFMT-SBC-6F-B
  • Service: See Catalog
  • Description: 6-Way F (BK)

Connector Part Information

  • OEM: NFMT-SBC-6M-B
  • Service: See Catalog
  • Description: 6-Way M (BK)

Terminal Part Information

  • Terminal/Tray: See Terminal Repair Kit
  • Core/Insulation Crimp: See Terminal Repair Kit
  • Release Tool/Test Probe: See Terminal Repair Kit

Terminal Part Information

  • Terminal/Tray: See Terminal Repair Kit
  • Core/Insulation Crimp: See Terminal Repair Kit
  • Release Tool/Test Probe: See Terminal Repair Kit

X110 Engine Harness to Oil Pressure/Oil Level Jumper Harness (6.6L)

Pin

Wire

Circuit

Function

Pin

Wire

Circuit

Function

1

0.5 PK/YL

HB03

ECM Voltage Control

1

0.75 RD

HB03

ECM Voltage Control

2

0.5 TN/WH

IC66

Oil Pressure Sensor Signal

2

0.5 TN/WH

IC66

Oil Pressure Sensor Signal

3

0.5 BN

IC68

Oil Level Switch Signal

3

0.5 BN

IC68

Oil Level Switch Signal

4

0.5 GY

IC57

5-Volt Reference

4

0.5 GY

IC57

5-Volt Reference

5

0.5 BK

IC71

5-Volt Reference

5

0.5 BK

IC71

5-Volt Reference

6

--

--

Not Used

6

--

--

Not Used

X111 Engine Harness to Coolant Temp/Fuel Pressure Regulator Jumper Harness (6.6L)


Object Number: 1719927  Size: CH

Object Number: 1719929  Size: CH

Connector Part Information

  • OEM: NFMT-SBC-8F-B
  • Service: See Catalog
  • Description: 8-Way F (BK)

Connector Part Information

  • OEM: NFMT-SBC-8M-B
  • Service: See Catalog
  • Description: 8-Way M (BK)

Terminal Part Information

  • Terminal/Tray: See Terminal Repair Kit
  • Core/Insulation Crimp: See Terminal Repair Kit
  • Release Tool/Test Probe: See Terminal Repair Kit

Terminal Part Information

  • Terminal/Tray: See Terminal Repair Kit
  • Core/Insulation Crimp: See Terminal Repair Kit
  • Release Tool/Test Probe: See Terminal Repair Kit

X111 Engine Harness to Coolant Temp/Fuel Pressure Regulator Jumper Harness (6.6L)

Pin

Wire

Circuit

Function

Pin

Wire

Circuit

Function

1

--

--

Not Used

1

--

--

Not Used

2

Bare

IZ07

Shield

2

Bare

IZ07

Shield

3

0.5 YE

IC31

Fuel Pressure Regulator Solenoid Control

3

0.5 YE

IC31

Fuel Pressure Regulator Solenoid Control

4

0.5 PU/WH

IC32

Fuel Pressure Regulator Solenoid Control

4

0.5 PU/WH

IC32

Fuel Pressure Regulator Solenoid Control

5

0.5 BK

IC50

ECT Sensor Signal

5

0.5 L-GN

IC50

ECT Sensor Signal

6

0.5 RD/BK

IC51

Low Reference

6

0.5 L-BU/BK

IC51

Low Reference

7

0.5 BK

IC47

Low Reference

7

0.5TN

IC47

Low Reference

8

0.5 YE

IC41

ECT Sensor Signal

8

0.5 YE

IC41

ECT Sensor Signal

X112 Engine Harness to Fuel Rail Pressure Sensor Jumper Harness (6.6L)


Object Number: 1619224  Size: CH

Object Number: 1619226  Size: CH

Connector Part Information

  • OEM: NFMT-SBC-4F-B
  • Service: See Catalog
  • Description: 4-Way F (BK)

Connector Part Information

  • OEM: NFMT-SBC-4M-B
  • Service: See Catalog
  • Description: 4-Way M (BK)

Terminal Part Information

  • Terminal/Tray: See Terminal Repair Kit
  • Core/Insulation Crimp: See Terminal Repair Kit
  • Release Tool/Test Probe: See Terminal Repair Kit

Terminal Part Information

  • Terminal/Tray: See Terminal Repair Kit
  • Core/Insulation Crimp: See Terminal Repair Kit
  • Release Tool/Test Probe: See Terminal Repair Kit

X112 Engine Harness to Fuel Rail Pressure Sensor Jumper Harness (6.6L)

Pin

Wire

Circuit

Function

Pin

Wire

Circuit

Function

1

0.5 WH

IC46

Low Reference

1

0.5 OG/BK

IC46

Low Reference

2

0.5 OG/BK

IC40

FRP Sensor Signal

2

0.5 YE

IC40

FRP Sensor Signal

3

--

--

Not Used

3

--

--

Not Used

4

0.5 D-BU

IC37

5-Volt Reference

4

0.5 TN

IC37

5-Volt Reference

X115 Catalytic Converter Jumper Harness to Engine Harness (6.6L)


Object Number: 646400  Size: CH

Object Number: 684916  Size: CH

Connector Part Information

  • OEM: 15326835
  • Service: 88986255
  • Description: 8-Way F GT 150 Series Sealed (BK)

Connector Part Information

  • OEM: 15326840
  • Service: 15326840
  • Description: 8-Way M GT 150 Sealed 4.0 (BK)

Terminal Part Information

  • Pins: C
  • Terminal/Tray: N/A
  • Core/Insulation Crimp: N/A
  • Release Tool/Test Probe: N/A

Terminal Part Information

  • Terminal/Tray: See Terminal Repair Kit
  • Core/Insulation Crimp: See Terminal Repair Kit
  • Release Tool/Test Probe: See Terminal Repair Kit

X115 Catalytic Converter Jumper Harness to Engine Harness (6.6L)

Pin

Wire

Circuit

Function

Pin

Wire

Circuit

Function

A

0.5 D-BU

5277

Exhaust Gas Temperature Sensor Signal

A

0.5 D-BU

5277

Exhaust Gas Temperature Sensor Signal

B

0.5 BN

6274

Low Reference

B

0.5 BN

6274

Low Reference

C

--

--

Not Used

C

--

--

Not Used

D

0.5 GY

6054

5-Volt Reference

D

0.5 GY

6054

5-Volt Reference

E

0.5 L-BU

5377

Exhaust Gas Temperature Sensor Signal

E

0.5 L-BU

5377

Exhaust Gas Temperature Sensor Signal

F

0.5 GY/BK

6290

Low Reference

F

0.5 GY/BK

6290

Low Reference

G

0.5 D-BU

6053

DPF Sensor Signal

G

0.5 D-BU

6053

DPF Sensor Signal

H

0.5 YE/BK

6055

Low Reference

H

0.5 YE/BK

6055

Low Reference

X126 Engine Harness to Left Ignition Coil Harness (4.8L/5.3L/6.0L)


Object Number: 684790  Size: CH

Object Number: 365940  Size: CH

Connector Part Information

  • OEM: 12047938
  • Service: 12102754
  • Description: 7-Way F Metri-Pack 150 Series Sealed (L-GY)

Connector Part Information

  • OEM: 12047933
  • Service: 12047933
  • Description: 7-Way M Metri-Pack 150 Series Sealed (GY)

Terminal Part Information

  • Pins: A-C, E-H
  • Terminal/Tray: 12048074/2
  • Core/Insulation Crimp: Pins: B-C, E-G : E/1
  • Core/Insulation Crimp: Pins: A, H : 2/1
  • Release Tool/Test Probe: 12094429/J-35616-14 (GN)

Terminal Part Information

  • Terminal/Tray: See Terminal Repair Kit
  • Core/Insulation Crimp: See Terminal Repair Kit
  • Release Tool/Test Probe: See Terminal Repair Kit

X126 Engine Harness to Left Ignition Coil Harness (4.8L/5.3L/6.0L)

Pin

Wire

Circuit

Function

Pin

Wire

Circuit

Function

A

1 BK

1250

Ground

A

1 BK

350

Ground

B

0.8 OG

2127

Ignition Coil 7 Control

B

0.8 RD

2127

Ignition Coil 7 Control

C

0.8 D-GN

2125

Ignition Coil 5 Control

C

0.8 D-GN

2125

Ignition Coil 5 Control

D

--

--

Not Used

D

--

--

Not Used

E

0.8 BN

2129

Low Reference

E

0.8 BN

2129

Low Reference

F

0.8 L-BU

2123

Ignition Coil 3 Control

F

0.8 L-BU

2123

Ignition Coil 3 Control

G

0.8 PU

2121

Ignition Coil 1 Control

G

0.8 PU

2121

Ignition Coil 1 Control

H

1 PK

1039

Ignition Voltage

H

1 PK

1039

Ignition Voltage

X127 Engine Harness to Right Side Ignition Coil Harness (4.8L/5.3L/6.0L)


Object Number: 684790  Size: CH

Object Number: 365940  Size: CH

Connector Part Information

  • OEM: 12047938
  • Service: 12102754
  • Description: 7-Way F Metri-Pack 150 Series Sealed (L-GY)

Connector Part Information

  • OEM: 12047933
  • Service: 12047933
  • Description: 7-Way M Metri-Pack 150 Series Sealed (GY)

Terminal Part Information

  • Pins: A-C, E-H
  • Terminal/Tray: 12048074/2
  • Core/Insulation Crimp: Pins: B-C, E-G : E/1
  • Core/Insulation Crimp: Pins: A, H : 2/1
  • Release Tool/Test Probe: 12094429/J-35616-14 (GN)

Terminal Part Information

  • Terminal/Tray: See Terminal Repair Kit
  • Core/Insulation Crimp: See Terminal Repair Kit
  • Release Tool/Test Probe: See Terminal Repair Kit

X127 Engine Harness to Right Side Ignition Coil Harness (4.8L/5.3L/6.0L)

Pin

Wire

Circuit

Function

Pin

Wire

Circuit

Function

A

1 BK

1250

Ground

A

1 BK

350

Ground

B

0.8 OG/WH

2122

Ignition Coil 2 Control

B

0.8 RD

2122

Ignition Coil 2 Control

C

0.8 D-GN/WH

2124

Ignition Coil 4 Control

C

0.8 D-GN

2124

Ignition Coil 4 Control

D

--

--

Not Used

D

--

--

Not Used

E

0.8 BN/WH

2130

Low Reference

E

0.8 BN

2130

Low Reference

F

0.8 L-BU/WH

2126

Ignition Coil 6 Control

F

0.8 L-BU

2126

Ignition Coil 6 Control

G

0.8 PU/WH

2128

Ignition Coil 8 Control

G

0.8 PU

2128

Ignition Coil 8 Control

H

1 PK

1239

Ignition Voltage

H

1 PK

1239

Ignition Voltage

X128 Engine Harness to Heated Oxygen Sensor Jumper Harness (Cutaway 4.8L/6.0L)


Object Number: 646372  Size: CH

Object Number: 847234  Size: CH

Connector Part Information

  • OEM: 15326654
  • Service: 15326654
  • Description: 8-Way F GT 280 5.8 Series Sealed (BK)

Connector Part Information

  • OEM: 15326655
  • Service: 15306424
  • Description: 8-Way M GT 280 5.8 Series Sealed (BK)

Terminal Part Information

  • Terminal/Tray: 15304719/19
  • Core/Insulation Crimp: 2/5
  • Release Tool/Test Probe: 15315247/J-35616-4A (PU)

Terminal Part Information

  • Terminal/Tray: See Terminal Repair Kit
  • Core/Insulation Crimp: See Terminal Repair Kit
  • Release Tool/Test Probe: See Terminal Repair Kit

X128 Engine Harness to Heated Oxygen Sensor Jumper Harness (Cutaway 4.8L/6.0L)

Pin

Wire

Circuit

Function

Pin

Wire

Circuit

Function

A

0.8 PU/WH

1668

Heated Oxygen Sensor (HO2S) High Signal - Bank 1 Sensor 2

A

0.8 PU/WH

1668

Heated Oxygen Sensor (HO2S) High Signal - Bank 1 Sensor 2

B

0.8 PK

1539

Ignition Voltage

B

0.8 PK

1539

Ignition Voltage

C

0.8 TN/WH

1669

Heated Oxygen Sensor (HO2S) Low Signal - Bank 1 Sensor 2

C

0.8 TN/WH

1669

Heated Oxygen Sensor (HO2S) Low Signal - Bank 1 Sensor 2

D

0.8 TN

1671

Heated Oxygen Sensor (HO2S) Heater Low Control - Bank 2 Sensor 2

D

0.8 TN

1671

Heated Oxygen Sensor (HO2S) Heater Low Control - Bank 2 Sensor 2

E

0.8 PU

1670

Heated Oxygen Sensor (HO2S) High Signal - Bank 2 Sensor 2

E

0.8 PU

1670

Heated Oxygen Sensor (HO2S) High Signal - Bank 2 Sensor 2

F

0.8 PK

1539

Ignition Voltage

F

0.8 PK

1539

Ignition Voltage

G

0.8 GY/WH

3122

Heated Oxygen Sensor (HO2S) Heater Low Control - Bank 2 Sensor 1

G

0.8 GY/WH

3122

Heated Oxygen Sensor (HO2S) Heater Low Control - Bank 2 Sensor 1

H

0.8 OG/WH

3223

Heated Oxygen Sensor (HO2S) Heater Low Control - Bank 2 Sensor 2

H

0.8 OG/WH

3223

Heated Oxygen Sensor (HO2S) Heater Low Control - Bank 2 Sensor 2

X141 Instrument Panel Harness to Brake Fluid Alarm Switch Jumper Harness (UJ1)


Object Number: 537107  Size: CH

Object Number: 605500  Size: CH

Connector Part Information

  • OEM: 12052644
  • Service: See Catalog
  • Description: 2-Way F Metri-Pack 150 Series Sealed (GY)

Connector Part Information

  • OEM: 12162343
  • Service: 12162343
  • Description: 2-Way M Metri-Pack 150 (GY)

Terminal Part Information

  • Pins: A-B
  • Terminal/Tray: 12048074/2
  • Core/Insulation Crimp: E/1
  • Release Tool/Test Probe: 12094429/J-35616-14 (GN)

Terminal Part Information

  • Terminal/Tray: See Terminal Repair Kit
  • Core/Insulation Crimp: See Terminal Repair Kit
  • Release Tool/Test Probe: See Terminal Repair Kit

X141 Instrument Panel Harness to Brake Fluid Alarm Switch Jumper Harness (UJ1)

Pin

Wire

Circuit

Function

Pin

Wire

Circuit

Function

A

0.5 TN/WH

33

Brake Warning Indicator Control

A

0.5 TN/WH

33

Brake Warning Indicator Control

B

0.5 BK/WH

351

Ground

B

0.5 BK

350

Ground

X142 Engine Harness to Electro Viscous Fan Jumper Harness (6.6L)


Object Number: 647974  Size: CH

Object Number: 1334521  Size: CH

Connector Part Information

  • OEM: 13519051
  • Service: 19151498
  • Description: 5-Way F GT 150 Series Sealed (BK)

Connector Part Information

  • OEM: 13519053
  • Service: See Catalog
  • Description: 5-Way M GT 150 Series Sealed (BK)

Terminal Part Information

  • Pins: A-E
  • Terminal/Tray: 12191819/8
  • Core/Insulation Crimp: Pins: D-E : 2/A
  • Core/Insulation Crimp: Pins: A-E : E/A
  • Release Tool/Test Probe: 15315247/J-35616-2A (GY)

Terminal Part Information

  • Terminal/Tray: See Terminal Repair Kit
  • Core/Insulation Crimp: See Terminal Repair Kit
  • Release Tool/Test Probe: See Terminal Repair Kit

X142 Engine Harness to Electro Viscous Fan Jumper Harness (6.6L)

Pin

Wire

Circuit

Function

Pin

Wire

Circuit

Function

A

0.8 BK

1250

Ground

A

0.5 BK

1250

Ground

B

0.5 WH

2368

Cooling Fan Clutch Control

B

0.5 WH

2368

Cooling Fan Clutch Control

C

0.5 BN/WH

6141

Low Reference

C

0.5 BN/WH

6141

Low Reference

D

0.5 D-BU

2364

Cooling Fan Speed Signal

D

0.5 D-BU

2364

Cooling Fan Speed Signal

E

0.5 GY

2365

Low Reference

E

0.5 GY

2365

Low Reference

X150 Instrument Panel Harness to Forward Lamp Harness (UFA)


Object Number: 632351  Size: CH

Object Number: 681875  Size: CH

Connector Part Information

  • OEM: 13510085
  • Service: See Catalog
  • Description: 2-Way F GT 150 Series Sealed (BK)

Connector Part Information

  • OEM: 13510099
  • Service: 19151499
  • Description: 2-Way M GT 150 Series Sealed (BK)

Terminal Part Information

  • Pins: A-D
  • Terminal/Tray: 12191819/8
  • Core/Insulation Crimp: E/A
  • Release Tool/Test Probe: 15315247/J-35616-2A (GY)

Terminal Part Information

  • Terminal/Tray: See Terminal Repair Kit
  • Core/Insulation Crimp: See Terminal Repair Kit
  • Release Tool/Test Probe: See Terminal Repair Kit

X150 Instrument Panel Harness to Forward Lamp Harness (UFA)

Pin

Wire

Circuit

Function

Pin

Wire

Circuit

Function

A

0.5 YE

61

Low Reference

A

0.5 YE

61

Low Reference

B

0.5 D-GN/WH

636

Ambient Air Temperature Sensor Signal

B

0.5 D-GN/WH

636

Ambient Air Temperature Sensor Signal

X174 Chassis Harness to Transmission Jumper Harness (6.6L)


Object Number: 730856  Size: CH

Object Number: 730855  Size: CH

Connector Part Information

  • OEM: 15355480
  • Service: 15355480
  • Description: 30-Way F GT 150 Sealed (BK)

Connector Part Information

  • OEM: 15450272
  • Service: See Catalog
  • Description: 30-Way M GT 150, 280 Series Sealed (BK)

Terminal Part Information

  • Pins: B1-B6, B8-B10, C1-C10
  • Terminal/Tray: 12191819/8
  • Core/Insulation Crimp: Pins: B8, C8 : 2/A
  • Core/Insulation Crimp: Pins: B1-B6, B9-B10, C1-C7, C9-C10: E/A
  • Release Tool/Test Probe: 15315247/J-35616-2A (GY)
  • Pins: A1, A5, D1, D5
  • Terminal/Tray: 15304719/19
  • Core/Insulation Crimp: Pins: D5 : 2/5
  • Core/Insulation Crimp: Pins: A1, A5, D1 : E/5
  • Release Tool/Test Probe: 15315247/J-35616-4A (PU)
  • Pins: A2, A4, D2-D3
  • Terminal/Tray: 15305232/23
  • Core/Insulation Crimp: Pins: A4 : F/3
  • Core/Insulation Crimp: Pins: A2, D2-D3 : B/4/3
  • Release Tool/Test Probe: 12094430/J-35616-42 (RD)

Terminal Part Information

  • Terminal/Tray: See Terminal Repair Kit
  • Core/Insulation Crimp: See Terminal Repair Kit
  • Release Tool/Test Probe: See Terminal Repair Kit

X174 Chassis Harness to Transmission Jumper Harness (6.6L)

Pin

Wire

Circuit

Function

Pin

Wire

Circuit

Function

A1

0.35 PK

1224

Transmission Fluid Pressure Switch Signal A

A1

0.35 PK

1224

Transmission Fluid Pressure Switch Signal A

A2

0.5 D-BU/WH

1231

Automatic Transmission Input Speed Sensor (AT ISS) Low Signal

A2

0.5 D-BU/WH

1231

Automatic Transmission Input Speed Sensor (AT ISS) Low Signal

A3

--

--

Not Used

A3

--

--

Not Used

A4

2 BK

150

Ground

A4

2 BK

150

Ground

A5

0.5 BN

418

Torque Converter Clutch Pulse Width Modulation (TCC PWM) Solenoid Valve Control

A5

0.5 BN

418

Torque Converter Clutch Pulse Width Modulation (TCC PWM) Solenoid Valve Control

B1

0.35 D-BU

1225

Transmission Fluid Pressure Switch Signal B

B1

0.35 D-BU

1225

Transmission Fluid Pressure Switch Signal B

B2

0.35 OG

1226

Transmission Fluid Pressure Switch Signal C

B2

0.35 OG

1226

Transmission Fluid Pressure Switch Signal C

B3

0.5 OG/BK

1230

Automatic Transmission Input Speed Sensor (AT ISS) High Signal

B3

0.5 OG/BK

1230

Automatic Transmission Input Speed Sensor (AT ISS) High Signal

B4

0.5 TN/WH

771

Transmission Range Switch Signal A

B4

0.5 TN/WH

771

Transmission Range Switch Signal A

B5

0.5 GY

773

Transmission Range Switch Signal C

B5

0.5 GY

773

Transmission Range Switch Signal C

B6

0.5 BK/WH

1551

Ground

B6

0.5 BK/WH

1551

Ground

B7

--

--

Not Used

B7

--

--

Not Used

B8

0.8 GY

120

Fuel Pump Control

B8

0.8 GY

120

Fuel Pump Control

B9

0.35 OG/BK

1228

PC Solenoid Valve High Control (Sol. A)

B9

0.35 OG/BK

1228

PC Solenoid Valve High Control (Sol. A)

B10

0.5 L-GN

1222

1-2 Shift Solenoid Valve Control

B10

0.5 L-GN

1222

1-2 Shift Solenoid Valve Control

C1

0.35 TN

452

Low Reference

C1

0.35 TN

452

Low Reference

C2

0.5 PU/WH

821

Vehicle Speed Sensor (VSS) High Signal

C2

0.5 PU/WH

821

Vehicle Speed Sensor (VSS) High Signal

C3

0.5 L-GN/BK

822

Vehicle Speed Sensor (VSS) Low Signal

C3

0.5 L-GN/BK

822

Vehicle Speed Sensor (VSS) Low Signal

C4

0.5 YE

772

Transmission Range Switch Signal B

C4

0.5 YE

772

Transmission Range Switch Signal B

C5

0.5 WH

776

Transmission Range Switch Signal P

C5

0.5 WH

776

Transmission Range Switch Signal P

C6

0.5 OG/BK

1786

Ignition Lock Cylinder Control Actuator Signal

C6

0.5 OG/BK

1786

Ignition Lock Cylinder Control Actuator Signal

C7

0.35 YE/BK

1227

Transmission Fluid Temperature (TFT) Sensor Signal

C7

0.35 YE/BK

1227

Transmission Fluid Temperature (TFT) Sensor Signal

C8

0.8 PK

2239

Ignition Voltage

C8

0.8 PK

2239

Ignition Voltage

C9

0.35 L-BU/WH

1229

PC Solenoid Valve Low Control (Sol. A)

C9

0.35 L-BU/WH

1229

PC Solenoid Valve Low Control (Sol. A)

C10

0.5 YE/BK

1223

2-3 Shift Solenoid Valve Control

C10

0.5 YE/BK

1223

2-3 Shift Solenoid Valve Control

D1

0.35 YE/BK

1227

Transmission Fluid Temperature (TFT) Sensor Signal

D1

0.35 YE/BK

1227

Transmission Fluid Temperature (TFT) Sensor Signal

D2

0.5 YE/BK

508

Water In Fuel Indicator Control

D2

0.5 YE/BK

508

Water In Fuel Indicator Control

D3

0.5 D-BU

6863

Low Reference

D3

0.5 D-BU

6863

Low Reference

D4

--

--

Not Used

D4

--

--

Not Used

D5

0.8 PK

3039

Ignition Voltage

D5

0.8 PK

3039

Ignition Voltage

X175 Engine Harness to Transmission Harness (4L60-E)


Object Number: 684844  Size: CH

Object Number: 808696  Size: CH

Connector Part Information

  • OEM: 12160493
  • Service: 15305857
  • Description: 16-Way F Micro-Pack 100 Series Sealed (GY)

Connector Part Information

  • OEM: 15443076
  • Service: See Catalog
  • Description: 16-Way F Micro-Pack 100 Series Sealed (GY)

Terminal Part Information

  • Pins: A-D, K-V
  • Terminal/Tray: 12084913/5
  • Core/Insulation Crimp: W/W
  • Release Tool/Test Probe: 12122523/J-35616-6 (BN)
  • Pins: E
  • Terminal/Tray: 12084912/5
  • Core/Insulation Crimp: W/W
  • Release Tool/Test Probe: 12122523/J-35616-6 (BN)

Terminal Part Information

  • Terminal/Tray: See Terminal Repair Kit
  • Core/Insulation Crimp: See Terminal Repair Kit
  • Release Tool/Test Probe: See Terminal Repair Kit

X175 Engine Harness to Transmission Harness (4L60-E)

Pin

Wire

Circuit

Function

Pin

Wire

Circuit

Function

A

0.5 L-GN

1222

1-2 Shift Solenoid Valve Control

A

0.5 L-GN

1222

1-2 Shift Solenoid Valve Control

B

0.5 YE/BK

1223

2-3 Shift Solenoid Valve Control

B

0.5 YE

1223

2-3 Shift Solenoid Valve Control

C

0.35 OG/BK

1228

PC Solenoid Valve High Control (Sol. A)

C

0.5 PU

1228

PC Solenoid Valve High Control (Sol. A)

D

0.35 L-BU/WH

1229

PC Solenoid Valve Low Control (Sol. A)

D

0.5 L-BU

1229

PC Solenoid Valve Low Control (Sol. A)

E

0.8 PK

3039

Ignition Voltage

E

0.5 RD

839

Ignition Voltage

F

--

--

Not Available

F

--

--

Not Available

G

--

--

Not Available

G

--

--

Not Available

H

--

--

Not Available

H

--

--

Not Available

J

--

--

Not Available

J

--

--

Not Available

K

0.35 BN/WH

6254

Automatic Transmission Input Speed Sensor (ISS) Signal

K

0.5 BK

1230

Automatic Transmission Input Speed Sensor (ISS) High Signal

L

0.35 YE/BK

1227

Transmission Fluid Temperature (TFT) Sensor Signal

L

0.5 BN

1227

Transmission Fluid Temperature (TFT) Sensor Signal

M

0.35 TN

452

Low Reference

M

0.5 GY

452

Low Reference

N

0.35 PK

1224

Transmission Fluid Pressure Switch Signal A

N

0.5 PK

1224

Transmission Fluid Pressure Switch Signal A

P

0.35 OG

1226

Transmission Fluid Pressure Switch Signal C

P

0.5 OG

1226

Transmission Fluid Pressure Switch Signal C

R

0.35 D-BU

1225

Transmission Fluid Pressure Switch Signal B

R

0.5 D-BU

1225

Transmission Fluid Pressure Switch Signal B

S

0.5 WH

687

3-2 Shift Solenoid Valve Control

S

0.5 WH

687

3-2 Shift Solenoid Valve Control

T

0.5 TN/BK

422

Torque Converter Clutch (TCC) Solenoid Valve Control

T

0.5 BK

422

Torque Converter Clutch (TCC) Solenoid Valve Control

U

0.5 BN

418

Torque Converter Clutch Pulse Width Modulation (TCC PWM) Solenoid Valve Control

U

0.5 TN

418

Torque Converter Clutch Pulse Width Modulation (TCC PWM) Solenoid Valve Control

V

0.35 D-BU

6253

Low Reference

V

0.35 D-GN

1231

Low Reference

W

--

--

Not Available

W

--

--

Not Available

X175 Engine Harness to Transmission Harness (4L80-E)


Object Number: 684844  Size: CH

Object Number: 808696  Size: CH

Connector Part Information

  • OEM: 12160493
  • Service: See Catalog
  • Description: 20-Way F Micro-Pack 100 Series Sealed (GY)

Connector Part Information

  • OEM: 12160782
  • Service: 12160782
  • Description: 20-Way F Micro-Pack 100 Series Sealed (GY)

Terminal Part Information

  • Pins: A-D, K-V
  • Terminal/Tray: 12084913/5
  • Core/Insulation Crimp: W/W
  • Release Tool/Test Probe: 12122523/J-35616-6 (BN)
  • Pins: E
  • Terminal/Tray: 12084912/5
  • Core/Insulation Crimp: W/W
  • Release Tool/Test Probe: 12122523/J-35616-6 (BN)

Terminal Part Information

  • Terminal/Tray: See Terminal Repair Kit
  • Core/Insulation Crimp: See Terminal Repair Kit
  • Release Tool/Test Probe: See Terminal Repair Kit

X175 Engine Harness to Transmission Harness (4L80-E)

Pin

Wire

Circuit

Function

Pin

Wire

Circuit

Function

A

0.5 L-GN

1222

1-2 Shift Solenoid Valve Control

A

0.5 L-GN

1222

1-2 Shift Solenoid Valve Control

B

0.5 YE/BK

1223

2-3 Shift Solenoid Valve Control

B

0.5 YE

1223

2-3 Shift Solenoid Valve Control

C

0.35 OG/BK

1228

PC Solenoid Valve High Control (Sol. A)

C

0.5 PU

1228

PC Solenoid Valve High Control (Sol. A)

D

0.35 L-BU/WH

1229

PC Solenoid Valve Low Control (Sol. A)

D

0.5 L-BU

1229

PC Solenoid Valve Low Control (Sol. A)

E

0.8 PK

3039

Ignition Voltage

E

0.5 RD

839

Ignition Voltage

F

--

--

Not Available

F

--

--

Not Available

G

--

--

Not Available

G

--

--

Not Available

H

--

--

Not Available

H

--

--

Not Available

J

--

--

Not Available

J

--

--

Not Available

K

--

--

Not Available

K

--

--

Not Available

L

0.35 YE/BK

1227

Transmission Fluid Temperature (TFT) Sensor Signal

L

0.5 BN

1227

Transmission Fluid Temperature (TFT) Sensor Signal

M

0.35 TN

452

Low Reference

M

0.5 GY

452

Low Reference

N

0.35 PK

1224

Transmission Fluid Pressure Switch Signal A

N

0.5 PK

1224

Transmission Fluid Pressure Switch Signal A

P

0.35 OG

1226

Transmission Fluid Pressure Switch Signal C

P

0.5 OG

1226

Transmission Fluid Pressure Switch Signal C

R

0.35 D-BU

1225

Transmission Fluid Pressure Switch Signal B

R

0.5 D-BU

1225

Transmission Fluid Pressure Switch Signal B

S

0.5 BN

418

Torque Converter Clutch Pulse Width Modulation (TCC PWM) Solenoid Valve Control

S

0.5 BK

418

Torque Converter Clutch Pulse Width Modulation (TCC PWM) Solenoid Valve Control

T-V

--

--

Not Used

T-V

--

--

Not Used

W

--

--

Not Available

W

--

--

Not Available

X176 Engine Harness to Camshaft Position Sensor Jumper Harness (4.3L)


Object Number: 646415  Size: CH

Object Number: 632353  Size: CH

Connector Part Information

  • OEM: 13519047
  • Service: See Catalog
  • Description: 3-Way M GT 150 Series Sealed (BK)

Connector Part Information

  • OEM: 15326813
  • Service: 15326813
  • Description: 3-Way M 150 Series Sealed (BK)

Terminal Part Information

  • Terminal/Tray: 12191819/8
  • Core/Insulation Crimp: E/A
  • Release Tool/Test Probe: 15315247/J-35616-2A (GY)

Terminal Part Information

  • Terminal/Tray: See Terminal Repair Kit
  • Core/Insulation Crimp: See Terminal Repair Kit
  • Release Tool/Test Probe: See Terminal Repair Kit

X176 Engine Harness to Camshaft Position Sensor Jumper Harness (4.3L)

Pin

Wire

Circuit

Function

Pin

Wire

Circuit

Function

A

0.35 D-BU

6259

5-Volt Reference

A

0.35 RD

631

5-Volt Reference

B

0.35 BN

6266

Low Reference

B

0.35 PK/BK

632

Low Reference

C

0.35 D-BU/WH

6265

Camshaft Position (CMP) Sensor Signal

C

0.35 BN/WH

633

Camshaft Position (CMP) Sensor Signal

X177 Engine Harness to Camshaft Postion Sensor Jumper Harness (4.8L/5.3L)


Object Number: 684807  Size: CH

Object Number: 655690  Size: CH

Connector Part Information

  • OEM: 12110293
  • Service: 12110293
  • Description: 3-Way F Metri-Pack 150 Series Sealed (BK)

Connector Part Information

  • OEM: 12129615
  • Service: 15305889
  • Description: 3-Way M Metri-Pack 150 Series Sealed (BK)

Terminal Part Information

  • Terminal/Tray: 12048074/2
  • Core/Insulation Crimp: E/1
  • Release Tool/Test Probe: 12094429/J-35616-14 (GN)

Terminal Part Information

  • Terminal/Tray: See Terminal Repair Kit
  • Core/Insulation Crimp: See Terminal Repair Kit
  • Release Tool/Test Probe: See Terminal Repair Kit

X177 Engine Harness to Camshaft Postion Sensor Jumper Harness (4.8L/5.3L)

Pin

Wire

Circuit

Function

Pin

Wire

Circuit

Function

A

0.35 D-BU

6259

5-Volt Reference

A

0.35 D-BU

6259

5-Volt Reference

B

0.35 BN

6266

Low Reference

B

0.35 BN

6266

Low Reference

C

0.35 D-BU/WH

6265

Camshaft Position (CMP) Sensor Signal

C

0.35 D-BU/WH

6265

Camshaft Position (CMP) Sensor Signal

X177 Engine Harness to Camshaft Postion Sensor Jumper Harness (6.0L)


Object Number: 647974  Size: CH

Object Number: 1334521  Size: CH

Connector Part Information

  • OEM: 13519051
  • Service: 19151498
  • Description: 5-Way F GT 150 Series Sealed (BK)

Connector Part Information

  • OEM: 15326827
  • Service: See Catalog
  • Description: 5-Way M GT 150 Series Sealed (BK)

Terminal Part Information

  • Pins: A-E
  • Terminal/Tray: 12191819/8
  • Core/Insulation Crimp: Pins: D-E : 2/A
  • Core/Insulation Crimp: Pins: A-E : E/A
  • Release Tool/Test Probe: 15315247/J-35616-2A (GY)

Terminal Part Information

  • Terminal/Tray: See Terminal Repair Kit
  • Core/Insulation Crimp: See Terminal Repair Kit
  • Release Tool/Test Probe: See Terminal Repair Kit

X177 Engine Harness to Camshaft Postion Sensor Jumper Harness (6.0L)

Pin

Wire

Circuit

Function

Pin

Wire

Circuit

Function

A

0.35 D-BU

6259

5-Volt Reference

A

0.35 D-BU

6259

5-Volt Reference

B

0.35 BN

6266

Low Reference

B

0.35 BN

6266

Low Reference

C

0.35 D-BU/WH

6265

Camshaft Position (CMP) Sensor Signal

C

0.35 D-BU/WH

6265

Camshaft Position (CMP) Sensor Signal

D

0.8 PU

5284

Camshaft Phaser Intake Solenoid (1)

D

0.8 PU

5284

Camshaft Phaser Intake Solenoid (1)

E

0.8 TN

2199

Low Reference

E

0.8 TN

2199

Low Reference

X200 Steering Column Harness to Instrument Panel Harness


Object Number: 794237  Size: CH

Object Number: 510556  Size: CH

Connector Part Information

  • OEM: 12047842
  • Service: 12047842
  • Description: 17-Way F Metri-Pack 150 Series Unsealed (BK)
  • OEM: 12084183
  • Service: 12084183
  • Description: 18-Way F Metri-Pack 280 630 Series Unsealed (BK)
  • OEM: 12047840
  • Service: 12047840
  • Description: 13-Way F Metri-Pack 280 Series Unsealed (GY)

Connector Part Information

  • OEM: 15492579
  • Service: 88988982
  • Description: 48-Way M Metri-Pack 280 Series (BK)

Terminal Part Information

  • Pins: B3, C3, D3-D4, E1, E3-E4, E8-E13
  • Terminal/Tray: 12034046/2
  • Core/Insulation Crimp: E/A
  • Release Tool/Test Probe: 12094430/J-35616-4A (PU)
  • Pins: A1-A3, A5-A6, A7-A9, A11-A17, B2, B5, C2, C4-C5, D2, E2, E5-E7
  • Terminal/Tray: 12064971/5
  • Core/Insulation Crimp: E/C
  • Release Tool/Test Probe: 12094429/J-35616-14 (GN)
  • Pins: B1, B6, C1, C6, D1, D5-D6
  • Terminal/Tray: 12015869/3
  • Core/Insulation Crimp: E/A
  • Release Tool/Test Probe: 12094430/J-35616-42 (RD)

Terminal Part Information

  • Terminal/Tray: See Terminal Repair Kit
  • Core/Insulation Crimp: See Terminal Repair Kit
  • Release Tool/Test Probe: See Terminal Repair Kit

X200 Steering Column Harness to Instrument Panel Harness

Pin

Wire

Circuit

Function

Pin

Wire

Circuit

Function

A1

0.35 TN

28

Horn Relay Control

A1

0.35 TN

28

Horn Relay Control

A2

--

--

Not Used

A2

--

--

Not Used

A3

0.35 PK

1444

12-Volt Reference (K34)

A3

0.35 PK

1444

12-Volt Reference (K34)

A4-A5

--

--

Not Used

A4-A5

--

--

Not Used

A6

0.35 PK

2239

Ignition Voltage

A6

0.35 PK

2239

Ignition Voltage

A7-A8

--

--

Not Used

A7-A8

--

--

Not Used

A9

0.35 PK

3

Ignition Voltage

A9

0.35 PK

3

Ignition Voltage

A10

--

--

Not Used

A10

--

--

Not Used

A11

0.35 L-GN

6818

Steering Wheel Control Signal (W1Y)

A11

0.35 L-GN

6818

Steering Wheel Control Signal (W1Y)

A12

0.35 YE

6046

Steering Angle Sensor Phase A (JL4)

A12

0.5 YE

6046

Steering Angle Sensor Phase A (JL4)

A13

0.35 D-GN/WH

7158

Cruise Control Indicator Dimming Signal (K34)

A13

0.35 D-GN/WH

7158

Cruise Control Indicator Dimming Signal (K34)

A14

0.35 D-BU

6047

Steering Angle Sensor Phase B (JL4)

A14

0.5 D-BU

6047

Steering Angle Sensor Phase B (JL4)

A15

0.35 BN

6136

Supply Voltage (K34/W1Y)

A15

0.35 BN

6136

Supply Voltage (K34/W1Y)

A16

0.35 TN

6048

Steering Angle Sensor Phase C (JL4)

A16

0.5 TN

6048

Steering Angle Sensor Phase C (JL4)

A17

0.35 GY

1884

Cruise Control Switch Signal (K34)

A17

0.35 GY

1884

Cruise Control Switch Signal (K34)

B1

0.35 RD/WH

540

Battery Positive Voltage

B1

0.35 RD/WH

540

Battery Positive Voltage

B2

--

--

Not Used

B2

--

--

Not Used

B3

0.35 WH

111

Theft Deterrent Alarm Enable Signal

B3

0.35 WH

111

Theft Deterrent Alarm Enable Signal

B4-B5

--

--

Not Used

B4-B5

--

--

Not Used

B6

0.35 PK

1020

Ignition Voltage

B6

0.35 PK

1020

Ignition Voltage

C1

0.35 WH

530

Ignition Voltage

C1

0.35 WH

530

Ignition Voltage

C2

--

--

Not Used

C2

--

--

Not Used

C3

0.35 YE

307

Headlamp Switch Flash to Pass Signal

C3

0.35 YE

307

Headlamp Switch Flash to Pass Signal

C4-C5

--

--

Not Used

C4-C5

--

--

Not Used

C6

0.35 BN

4

Ignition Voltage

C6

0.35 BN

4

Ignition Voltage

D1

0.35 TN/BK

6009

Low Reference

D1

0.35 TN/BK

6009

Low Reference

D2

--

--

Not Used

D2

--

--

Not Used

D3

0.35 YE

525

Headlamp Dimmer Switch Low Beam Signal

D3

0.35 YE

525

Headlamp Dimmer Switch Low Beam Signal

D4

0.5 TN/WH

816

A/T Shift Lock Solenoid Control

D4

0.5 TN/WH

816

A/T Shift Lock Solenoid Control

D5

0.35 L-GN

6043

Steering Angle Sensor Signal (JL4)

D5

0.5 L-GN

6043

Steering Angle Sensor Signal (JL4)

D6

0.35 PK

94

Windshield Washer Switch Signal

D6

0.35 PK

94

Windshield Washer Switch Signal

E1

0.5 BK

350

Ground

E1

0.5 BK

350

Ground

E2

--

--

Not Used

E2

--

--

Not Used

E3

0.5 BK/WH

351

Ground

E3

0.5 BK/WH

351

Ground

E4

0.35 OG/BK

6045

Low Reference (JL4)

E4

0.5 OG/BK

6045

Low Reference (JL4)

E5-E7

--

--

Not Used

E5-E7

--

--

Not Used

E8

0.35 D-GN

663

Hazard Switch Left Turn Signal

E8

0.35 D-GN

663

Hazard Switch Left Turn Signal

E9

0.35 TN

664

Hazard Switch Turn Right Signal

E9

0.35 TN

664

Hazard Switch Turn Right Signal

E10

0.35 GY

6044

5-Volt Reference (JL4)

E10

0.5 GY

6044

5-Volt Reference (JL4)

E11

0.35 L-BU

1714

Windshield Wiper Switch Low Signal

E11

0.35 L-BU

1714

Windshield Wiper Switch Low Signal

E12

0.35 L-GN

1715

Windshield Wiper Switch High Signal

E12

0.35 L-GN

1715

Windshield Wiper Switch High Signal

E13

0.35 D-GN

5060

Low Speed GMLAN Serial Data

E13

0.35 D-GN

5060

Low Speed GMLAN Serial Data

X205 Front Headliner Harness to Body Harness


Object Number: 823321  Size: CH

Object Number: 823318  Size: CH

Connector Part Information

  • OEM: 15326952
  • Service: 15306426
  • Description: 16-Way F GT 280 Series (BK)

Connector Part Information

  • OEM: 13573920
  • Service: See Catalog
  • Description: 16-Way M GT 280 Series (BK)

Terminal Part Information

  • Terminal/Tray: 15304711/8
  • Core/Insulation Crimp: Pins: G, S : 2/A
  • Core/Insulation Crimp: Pins: E/A
  • Release Tool/Test Probe: 15315247/J-35616-4A (PU)

Terminal Part Information

  • Terminal/Tray: See Terminal Repair Kit
  • Core/Insulation Crimp: See Terminal Repair Kit
  • Release Tool/Test Probe: See Terminal Repair Kit

X205 Front Headliner Harness to Body Harness

Pin

Wire

Circuit

Function

Pin

Wire

Circuit

Function

A

0.35 BN

441

Ignition Voltage (U80)

A

0.35 BN

441

Ignition Voltage (U80)

B

0.5 PU/WH

5264

Rear Auxiliary Mode Door Control (C69)

B

0.5 PU/WH

5264

Rear Auxiliary Mode Door Control (C69)

C

0.5 PK/BK

5265

Rear Auxiliary Blower Motor Switch Control (C69)

C

0.5 PK/BK

5265

Rear Auxiliary Blower Motor Switch Control (C69)

D

0.35 GY

2599

Auxiliary Mode Door Control (C69)

D

0.35 GY

2599

Auxiliary Mode Door Control (C69)

E

0.5 WH

1924

Auxiliary Blower Motor High Control (C69)

E

0.35 WH

1924

Auxiliary Blower Motor High Control (C69)

F

0.35 BN

341

Ignition Voltage (C69)

F

0.35 BN

341

Ignition Voltage (C69)

G

1 BK

1850

Ground (C69/DH6)

G

1 BK

1850

Ground

0.8 BK

1850

Ground (without C69/DH6/YF1)

H

0.5 D-BU/WH

149

Courtesy Lamp Control (without YF7)

H

0.5 D-BU/WH

149

Courtesy Lamp Control (without YF7)

J

0.35 BK/WH

351

Ground (U80)

J

0.35 BK/WH

351

Ground (U80)

K

0.5 BN

5263

Rear Auxiliary Air Temperature Door Control (C69)

K

0.5 BN

5263

Rear Auxiliary Air Temperature Door Control (C69)

L

0.35 D-GN

6134

Local Interconnect Network 3 (U80)

L

0.35 D-GN

6134

Local Interconnect Network 3 (U80)

M

0.35 OG

2775

Auxiliary Air Temperature Door Control (C69)

M

0.35 OG

2775

Auxiliary Air Temperature Door Control (C69)

N

0.5 OG

1925

Auxiliary Blower Motor Medium Control (C69)

N

0.35 OG

1925

Auxiliary Blower Motor Medium Control (C69)

P

0.5 D-BU

1926

Auxiliary Blower Motor Low Control (C69)

P

0.35 D-BU

1926

Auxiliary Blower Motor Low Control (C69)

R

0.35 BN/WH

230

Instrument Panel Lamps Dimming Control (C69)

R

0.35 BN/WH

230

Instrument Panel Lamps Dimming Control (C69)

S

0.8 OG

1732

Courtesy Lamps Control (without YF7)

S

0.8 OG

1732

Courtesy Lamps Control

0.5 OG

1732

Courtesy Lamps Control (YF7/DH6)

X220 Instrument Panel Harness to Park Brake Jumper Harness


Object Number: 1542255  Size: CH

Object Number: 788072  Size: CH

Connector Part Information

  • OEM: 12129082
  • Service: 12129082
  • Description: 2-Way F Metri-Pack 280 Series Flexlock (GY)

Connector Part Information

  • OEM: 12129156
  • Service: 12129156
  • Description: 2-Way M Metri-Pack 280 Series (GY)

Terminal Part Information

  • Terminal/Tray: 12110844/4
  • Core/Insulation Crimp: E/C
  • Release Tool/Test Probe: 15315247/J-35616-4A (PU)

Terminal Part Information

  • Terminal/Tray: See Terminal Repair Kit
  • Core/Insulation Crimp: See Terminal Repair Kit
  • Release Tool/Test Probe: See Terminal Repair Kit

X220 Instrument Panel Harness to Park Brake Jumper Harness

Pin

Wire

Circuit

Function

Pin

Wire

Circuit

Function

A

0.35 L-BU

1134

Park Brake Switch Signal

A

0.5 L-BU

1134

Park Brake Switch Signal

B

--

--

Not Used

B

--

--

Not Used

X221 Stop Lamp Switch Jumper to Instrument Panel Harness


Object Number: 698669  Size: CH

Object Number: 698671  Size: CH

Connector Part Information

  • OEM: 15326886
  • Service: 88988300
  • Description: 4-Way F GT 280 Series (BK)

Connector Part Information

  • OEM: 15326890
  • Service: 15326890
  • Description: 4-Way M GT 280 Series (BK)

Terminal Part Information

  • Terminal/Tray: 15304711/8
  • Core/Insulation Crimp: E/A
  • Release Tool/Test Probe: 15315247/J-35616-4A (PU)

Terminal Part Information

  • Terminal/Tray: See Terminal Repair Kit
  • Core/Insulation Crimp: See Terminal Repair Kit
  • Release Tool/Test Probe: See Terminal Repair Kit

X221 Stop Lamp Switch Jumper to Instrument Panel Harness

Pin

Wire

Circuit

Function

Pin

Wire

Circuit

Function

A

0.35 L-BU/WH

6311

Torque Converter Clutch (TCC) Brake Signal

A

0.35 L-BU/WH

6311

Torque Converter Clutch (TCC) Brake Signal

B

0.35 PK

239

Ignition Voltage

B

0.35 PK

239

Ignition Voltage

C

0.35 OG/WH

812

12-Volt Reference

C

0.35 OG/WH

812

12-Volt Reference

0.35 OG/WH

812

12-Volt Reference

D

0.35 PU

7062

Brake Switch Signal

D

0.35 PU

7062

Brake Switch Signal

X222 Upfitter Provision Harness to Instrument Panel Harness (YF2/YF7)


Object Number: 365938  Size: CH

Object Number: 655680  Size: CH

Connector Part Information

  • OEM: 12015664
  • Service: 12015664
  • Description: 4-Way F Metri-Pack 630 Series (BK)

Connector Part Information

  • OEM: 12052623
  • Service: 15306008
  • Description: 4-Way M Metri-Pack 630 Series (BK)

Terminal Part Information

  • Terminal/Tray: See Terminal Repair Kit
  • Core/Insulation Crimp: See Terminal Repair Kit
  • Release Tool/Test Probe: See Terminal Repair Kit

Terminal Part Information

  • Terminal/Tray: See Terminal Repair Kit
  • Core/Insulation Crimp: See Terminal Repair Kit
  • Release Tool/Test Probe: See Terminal Repair Kit

X222 Upfitter Provision Harness to Instrument Panel Harness (YF2/YF7)

Pin

Wire

Circuit

Function

Pin

Wire

Circuit

Function

A

--

1042

Battery Positive Voltage

A

5 RD/BK

1042

Battery Positive Voltage

B

--

541

Ignition Voltage

B

5 BN

541

Ignition Voltage

C

--

350

Ground

C

5 BK

350

Ground

D

--

--

Not Used

D

--

--

Not Used

X276 Instrument Panel Harness to Steering Wheel Harness


Object Number: 744039  Size: CH

Object Number: 744041  Size: CH

Connector Part Information

  • OEM: 12191740
  • Service: 12191740
  • Description: 4-Way F Metri-Pack 280 Series (YE)

Connector Part Information

  • OEM: 15304974
  • Service: 15306013
  • Description: 4-Way M Metri-Pack 280 Series (YE)

Terminal Part Information

  • Terminal/Tray: 12034046/2
  • Core/Insulation Crimp: E/A
  • Release Tool/Test Probe: 12094430/J-35616-4A (PU)

Terminal Part Information

  • Terminal/Tray: See Terminal Repair Kit
  • Core/Insulation Crimp: See Terminal Repair Kit
  • Release Tool/Test Probe: See Terminal Repair Kit

X276 Instrument Panel Harness to Steering Wheel Harness

Pin

Wire

Circuit

Function

Pin

Wire

Circuit

Function

A1

0.5 TN

3021

Steering Wheel Module - Stage 1 - High Control

A1

0.5 TN

3021

Steering Wheel Module - Stage 1 - High Control

A2

0.5 BN

3020

Steering Wheel Module - Stage 1 - Low Control

A2

0.5 BN

3020

Steering Wheel Module - Stage 1 - Low Control

B1

0.5 WH

3023

Steering Wheel Module - Stage 2 - High Control (Light Duty)

B1

0.5 WH

3023

Steering Wheel Module - Stage 2 - High Control (Light Duty)

B2

0.5 PK

3022

Steering Wheel Module - Stage 2 - Low Control (Light Duty)

B2

0.5 PK

3022

Steering Wheel Module - Stage 2 - Low Control (Light Duty)

X305 Chassis Harness to Fuel Pump Jumper Harness (K08)


Object Number: 537107  Size: CH

Object Number: 605500  Size: CH

Connector Part Information

  • OEM: 12052644
  • Service: See Catalog
  • Description: 2-Way F Metri-Pack 150 Series Sealed (GY)

Connector Part Information

  • OEM: 12162343
  • Service: 12162343
  • Description: 2-Way M Metri-Pack 150 (GY)

Terminal Part Information

  • Terminal/Tray: 12160223/3
  • Core/Insulation Crimp: E/1
  • Release Tool/Test Probe: 12094429/J-35616-14 (GN)

Terminal Part Information

  • Terminal/Tray: See Terminal Repair Kit
  • Core/Insulation Crimp: See Terminal Repair Kit
  • Release Tool/Test Probe: See Terminal Repair Kit

X305 Chassis Harness to Fuel Pump Jumper Harness (K08)

Pin

Wire

Circuit

Function

Pin

Wire

Circuit

Function

A

0.8 D-BU/L-GN

7077

Coolant Heater - Fuel Pump Control

A

0.8 D-BU/L-GN

7077

Coolant Heater - Fuel Pump Control

B

0.8 BK

150

Ground

B

0.8 BK

150

Ground

X306 Body Harness to Passenger Seat Harness


Object Number: 476149  Size: CH

Object Number: 847281  Size: CH

Connector Part Information

  • OEM: 15326110
  • Service: 15306171
  • Description: 12-Way F GT 280 Series (BK)

Connector Part Information

  • OEM: 15326942
  • Service: 15326942
  • Description: 12-Way M GT 280 Series (BK)

Terminal Part Information

  • Pins: A-F
  • Terminal/Tray: 15304711/8
  • Core/Insulation Crimp: E/A
  • Release Tool/Test Probe: 15315247/J-35616-4A (PU)
  • Pins: G-H
  • Terminal/Tray: 15304713/19
  • Core/Insulation Crimp: F/D
  • Release Tool/Test Probe: 15315247/J-35616-4A (PU)

Terminal Part Information

  • Terminal/Tray: See Terminal Repair Kit
  • Core/Insulation Crimp: See Terminal Repair Kit
  • Release Tool/Test Probe: See Terminal Repair Kit

X306 Body Harness to Passenger Seat Harness

Pin

Wire

Circuit

Function

Pin

Wire

Circuit

Function

A

0.5 RD/WH

3440

Battery Positive Voltage (Light Duty without YF7)

A

0.5 RD/WH

3440

Battery Positive Voltage (Light Duty without YF7)

B

0.5 BK/WH

1751

Ground (Light Duty without YF7)

B

0.5 BK/WH

1751

Ground (Light Duty without YF7)

C

0.5 OG

1362

Seat Belt Switch - Right - Signal (Light Duty)

C

0.5 OG

1362

Seat Belt Switch - Right - Signal (Light Duty)

D

0.5 PK

5057

Low Reference (Light Duty)

D

0.5 PK

5057

Low Reference (Light Duty)

E

0.5 L-BU

5056

Seat Position Sensor - Right - Signal (Light Duty)

E

0.5 L-BU

5056

Seat Position Sensor - Right - Signal (Light Duty)

F

0.5 D-GN

5060

Low Speed GMLAN Serial Data (Light Duty without YF7)

F

0.5 D-GN

5060

Low Speed GMLAN Serial Data (Light Duty without YF7)

G

3 RD/WH

3540

Battery Positive Voltage

G

3 RD/WH

3540

Battery Positive Voltage (AG2)

H

3 BK

1850

Ground

H

3 BK

1850

Ground (AG2)

J-M

--

--

Not Used

J-M

--

--

Not Used

X307 Body Harness to Driver Seat Harness


Object Number: 62456  Size: CH

Object Number: 39689  Size: CH

Connector Part Information

  • OEM: 12064752
  • Service: 12064752
  • Description: 6-Way F Metri-Pack 280 Series (BK)

Connector Part Information

  • OEM: 12064754
  • Service: 15305872
  • Description: 6-Way M Metri-Pack 280 Series Self Lock (BK)

Terminal Part Information

  • Pins: A-C
  • Terminal/Tray: 12034046/2
  • Core/Insulation Crimp: E/A
  • Release Tool/Test Probe: 12094430/J-35616-4A (PU)
  • Pins: D-E
  • Terminal/Tray: 12015858/4
  • Core/Insulation Crimp: F/G
  • Release Tool/Test Probe: 12094430/J-35616-4A (PU)

Terminal Part Information

  • Terminal/Tray: See Terminal Repair Kit
  • Core/Insulation Crimp: See Terminal Repair Kit
  • Release Tool/Test Probe: See Terminal Repair Kit

X307 Body Harness to Driver Seat Harness

Pin

Wire

Circuit

Function

Pin

Wire

Circuit

Function

A

0.5 L-GN

5055

Seat Position Sensor - Left - Signal (Light Duty)

A

0.5 L-GN

5055

Seat Position Sensor - Left - Signal (Light Duty)

B

0.5 PK

5057

Low Reference

B

0.5 PK

5057

Low Reference

C

0.5 TN/WH

238

Seat Belt Switch - Left

C

0.5 TN/WH

238

Seat Belt Switch - Left

D

3 BK

450

Ground (AG1)

D

3 BK

450

Ground (AG1)

E

3 RD/WH

3540

Battery Positive Voltage (AG1)

E

3 RD/WH

3540

Battery Positive Voltage (AG1)

F

--

--

Not Used

F

--

--

Not Used

X316 Transmission Jumper Harness to Fuel Pump Harness (6.6L)


Object Number: 1664576  Size: CH

Object Number: 872519  Size: CH

Connector Part Information

  • OEM: 13521467
  • Service: See Catalog
  • Description: 6-Way F GT 280 Series Sealed (BK)

Connector Part Information

  • OEM: 15326640
  • Service: 88953150
  • Description: 6-Way M GT 280 Series Sealed (BK)

Terminal Part Information

  • Terminal/Tray: 15304719/19
  • Core/Insulation Crimp: Pins: C-F : 2/5
  • Core/Insulation Crimp: Pins: A-B : E/5
  • Release Tool/Test Probe: 15315247/J-35616-4A (PU)

Terminal Part Information

  • Terminal/Tray: See Terminal Repair Kit
  • Core/Insulation Crimp: See Terminal Repair Kit
  • Release Tool/Test Probe: See Terminal Repair Kit

X316 Transmission Jumper Harness to Fuel Pump Harness (6.6L)

Pin

Wire

Circuit

Function

Pin

Wire

Circuit

Function

A

0.5 YE/BK

508

Water In Fuel Indicator Control

A

0.5 YE/BK

508

Water In Fuel Indicator Control

B

0.5 D-BU

6863

Low Reference

B

0.5 D-BU

6863

Low Reference

C

1 BK

150

Ground

C

1 BK

150

Ground

D

0.8 PK

2239

Ignition Voltage

D

0.8 PK

2239

Ignition Voltage

E

1 BK

150

Ground

E

1 BK

150

Ground

F

0.8 GY

120

Fuel Pump Control

F

0.8 GY

120

Fuel Pump Control

X318 Instrument Panel Harness to Body Harness (Passenger/Cargo)


Object Number: 1538795  Size: CH

Object Number: 851471  Size: CH

Connector Part Information

  • OEM: 15448130
  • Service: See Catalog
  • Description: 40-Way F GT 150 280 Series (L-GY)

Connector Part Information

  • OEM: 15475870
  • Service: 88988616
  • Description: 40-Way M GT 150 280 Series (L-GY)

Terminal Part Information

  • Pins: A1-A2, A7-A8, B1-B4, B6-B11, C2-C4, C6-C12, D1-D2, D7-D8
  • Terminal/Tray: 12191812/19
  • Core/Insulation Crimp: Pins: A1-A2, B1, B3-B4, C3-C4, D1-D2 : C/A
  • Core/Insulation Crimp: Pins: A7-A8, B2, B6-B11, C2, C6-C12, D7-D8 : E/C
  • Release Tool/Test Probe: 15315247/J-35616-2A (GY)
  • Pins: A4-A6, D3-D6
  • Terminal/Tray: 15304711/8
  • Core/Insulation Crimp: Pins: D3 : 2/A
  • Core/Insulation Crimp: Pins: A4-A6, D4-D6: E/A
  • Release Tool/Test Probe: 15315247/J-35616-4A (PU)

Terminal Part Information

  • Terminal/Tray: See Terminal Repair Kit
  • Core/Insulation Crimp: See Terminal Repair Kit
  • Release Tool/Test Probe: See Terminal Repair Kit

X318 Instrument Panel Harness to Body Harness (Passenger/Cargo)

Pin

Wire

Circuit

Function

Pin

Wire

Circuit

Function

A1

0.8 OG

1853

Right Front Midrange Speaker Output (+)

A1

0.8 OG

1853

Right Front Midrange Speaker Output (+)

A2

0.8 D-GN

1953

Right Front Midrange Speaker Output (-)

A2

0.8 D-GN

1953

Right Front Midrange Speaker Output (-)

A3

0.5 BK//WH

1751

Ground

A3

0.5 BK//WH

1751

Ground

A4

0.5 TN/BK

371

Instrument Panel Module Disable Switch - Signal (C99)

A4

0.5 TN/BK

371

Instrument Panel Module Disable Switch - Signal (C99)

A5

0.5 WH/BK

6436

CAN Bus Low Terminated Serial Data (JL4)

A5

0.5 WH/BK

6436

CAN Bus Low Terminated Serial Data (JL4)

A6

0.5 BN/WH

6437

CAN Bus High Terminated Serial Data (JL4)

A6

0.5 BN/WH

6437

CAN Bus High Terminated Serial Data (JL4)

A7

0.35 D-BU/WH

1179

Left Rear Door Open Switch Signal (E26)

A7

0.35 D-BU/WH

1179

Left Rear Door Open Switch Signal (E26)

A8

0.35 YE/BK

1181

Right Rear Door Open Switch Signal

A8

0.35 YE/BK

1181

Right Rear Door Open Switch Signal

B1

0.8 L-BU

1320

CHMSL Control

B1

0.8 L-BU

1320

CHMSL Control

B2

0.5 BK/WH

1751

Ground (Light Duty)

B2

0.5 BK/WH

1751

Ground (Light Duty)

B3

0.8 TN

1855

Right Rear Midrange Speaker Output (+)

B3

1 TN

1855

Right Rear Midrange Speaker Output (+)

B4

0.8 OG

1955

Right Rear Midrange Speaker Output (-)

B4

1 OG

1955

Right Rear Midrange Speaker Output (-)

B5

0.5 BK/WH

1751

Ground

B5

0.5 BK/WH

1751

Ground

B6

0.5 GY/BK

1337

5-Volt Reference (JL4)

B6

0.5 GY/BK

1337

5-Volt Reference (JL4)

B7

0.5 BN/WH

6618

Discriminating Sensor - Signal

B7

0.5 BN/WH

6618

Discriminating Sensor - Signal

B8

0.5 D-BU/WH

6619

Low Reference

B8

0.5 D-BU/WH

6619

Low Reference

B9

0.35 D-GN

5060

Low Speed GMLAN Serial Data (Light Duty without YF7)

B9

0.5 D-GN

5060

Low Speed GMLAN Serial Data (Light Duty without YF7)

B10

0.35 D-GN

5060

Low Speed GMLAN Serial Data

B10

0.35 D-GN

5060

Low Speed GMLAN Serial Data

B11

0.35 D-GN

6134

Local Interconnect Network 3

B11

0.35 D-GN

6134

Local Interconnect Network 3

B12

--

--

Not Used

B12

--

--

Not Used

C1

--

--

Not Used

C1

--

--

Not Used

C2

0.35 PK

1139

Ignition Voltage

C2

0.35 PK

1139

Ignition Voltage

C3

0.8 TN

1859

Left Rear Midrange Speaker Output (+)

C3

1 TN

1859

Left Rear Midrange Speaker Output (+)

C4

0.8 WH

1959

Left Rear Midrange Speaker Output (-)

C4

1 WH

1959

Left Rear Midrange Speaker Output (-)

C5

--

--

Not Used

C5

--

--

Not Used

C6

0.5 BK/PU

7499

Low Reference (JL4)

C6

0.5 BK/PU

7499

Low Reference (JL4)

C7

0.35 L-GN

5926

Rear Access Open Switch Signal

C7

0.35 L-GN

5926

Rear Access Open Switch Signal

C8

0.35 PK/BK

1303

Cargo Door Ajar Switch Signal

C8

0.35 PK/BK

1303

Cargo Door Ajar Switch Signal

C9

0.35 TN/WH

746

Right Front Door Ajar Switch Signal

C9

0.35 TN/WH

746

Right Front Door Ajar Switch Signal

C10

0.35 L-GN

1177

Right Front Door Open Switch Signal

C10

0.35 L-GN

1177

Right Front Door Open Switch Signal

C11

0.5 TN

126

Left Front Door Open Switch Signal

C11

0.35 TN

126

Left Front Door Open Switch Signal

C12

0.35 GY/BK

745

Left Front Door Ajar Switch Signal

C12

0.35 GY/BK

745

Left Front Door Ajar Switch Signal

D1

0.8 D-BU

1857

Left Front Midrange Speaker Output (+)

D1

0.8 D-BU

1857

Left Front Midrange Speaker Output (+)

D2

0.8 L-BU

1957

Left Front Midrange Speaker Output (-)

D2

0.8 L-BU

1957

Left Front Midrange Speaker Output (-)

D3

0.8 OG

1732

Courtesy Lamps Control

D3

0.8 OG

1732

Courtesy Lamps Control

0.5 OG

1732

Courtesy Lamps Control

D4

0.5 PK

353

Instrument Panel Module Suppression Indicator Control (C99)

D4

0.5 PK

353

Instrument Panel Module Suppression Indicator Control (C99)

D5

0.5 PK/BK

780

Driver Door Lock Switch Lock Signal (AU3)

D5

0.35 PK/BK

780

Driver Door Lock Switch Lock Signal (AU3)

D6

0.5 OG/BK

781

Driver Door Lock Switch Unlock Signal (AU3)

D6

0.35 OG/BK

781

Driver Door Lock Switch Unlock Signal (AU3)

D7

0.35 L-BU

244

Passenger Door Lock Switch Lock Control (AU3)

D7

0.35 L-BU

244

Passenger Door Lock Switch Lock Control (AU3)

D8

0.35 D-BU

245

Passenger Door Lock Switch Unlock Control (AU3)

D8

0.35 D-BU

245

Passenger Door Lock Switch Unlock Control (AU3)

X319 Rear Heater Switch Harness to Body Harness (C36/ENC)


Object Number: 62439  Size: CH

Object Number: 62434  Size: CH

Connector Part Information

  • OEM: 12047886
  • Service: 12101822
  • Description: 8-Way F Metri-Pack 150 Series (BK)

Connector Part Information

  • OEM: 12045688
  • Service: 12101827
  • Description: 8-Way M Metri-Pack 150 Series (BK)

Terminal Part Information

  • Terminal/Tray: See Terminal Repair Kit
  • Core/Insulation Crimp: See Terminal Repair Kit
  • Release Tool/Test Probe: See Terminal Repair Kit

Terminal Part Information

  • Terminal/Tray: See Terminal Repair Kit
  • Core/Insulation Crimp: See Terminal Repair Kit
  • Release Tool/Test Probe: See Terminal Repair Kit

X319 Rear Heater Switch Harness to Body Harness (C36/ENC)

Pin

Wire

Circuit

Function

Pin

Wire

Circuit

Function

A

0.35 WH

1924

Auxiliary Blower Motor High Control

A

0.35 WH

1924

Auxiliary Blower Motor High Control

B

0.35 OG

1925

Auxiliary Blower Motor Medium Control

B

0.35 OG

1925

Auxiliary Blower Motor Medium Control

C

0.35 D-BU

1926

Auxiliary Blower Motor Low Control

C

0.35 D-BU

1926

Auxiliary Blower Motor Low Control

D

0.35 BN/WH

230

Instrument Panel Lamps Dimming Control

D

0.35 BN/WH

230

Instrument Panel Lamps Dimming Control

E

0.35 BK

450

Ground

E

0.35 BK

450

Ground

F-H

--

--

Not Used

F-H

--

--

Not Used

X320 Body Harness to Upfitter Connector (YF2/YF7)


Object Number: 800518  Size: CH

Object Number: 646377  Size: CH

Connector Part Information

  • OEM: 15332177
  • Service: 15332177
  • Description: 16-Way M GT 150 Series (BK)

Connector Part Information

  • OEM: 15332182
  • Service: 15332182
  • Description: 16-Way M GT 150 Series (BK)

Terminal Part Information

  • Terminal/Tray: See Terminal Repair Kit
  • Core/Insulation Crimp: See Terminal Repair Kit
  • Release Tool/Test Probe: See Terminal Repair Kit

Terminal Part Information

  • Terminal/Tray: See Terminal Repair Kit
  • Core/Insulation Crimp: See Terminal Repair Kit
  • Release Tool/Test Probe: See Terminal Repair Kit

X320 Body Harness to Upfitter Connector (YF2/YF7)

Pin

Wire

Circuit

Function

Pin

Wire

Circuit

Function

A

--

1959

Left Rear Midrange Speaker Output (-)

A

1 WH

1959

Left Rear Midrange Speaker Output (-)

B

--

1859

Left Rear Midrange Speaker Output (+)

B

1 TN

1859

Left Rear Midrange Speaker Output (+)

C

--

1955

Right Rear Midrange Speaker Output (-)

C

1 OG

1955

Right Rear Midrange Speaker Output (-)

D

--

1855

Right Rear Midrange Speaker Output (+)

D

1 TN

1855

Right Rear Midrange Speaker Output (+)

E-N

--

--

Not Used

E-N

--

--

Not Used

P

--

450

Ground

P

0.5 BK

450

Ground

R

--

149

Courtesy Lamp Control

R

0.5 D-BU/WH

149

Courtesy Lamp Control

S

--

2209

Rear Park Lamps Control

S

0.5 BN

2209

Rear Park Lamps Control

X321 Upfitter Harness to Body Harness (YF2/YF7)


Object Number: 365938  Size: CH

Object Number: 655680  Size: CH

Connector Part Information

  • OEM: 12015664
  • Service: 12015664
  • Description: 4-Way F Metri-Pack 630 Series (BK)

Connector Part Information

  • OEM: 12052623
  • Service: 15306008
  • Description: 4-Way M Metri-Pack 630 Series (BK)

Terminal Part Information

  • Terminal/Tray: See Terminal Repair Kit
  • Core/Insulation Crimp: See Terminal Repair Kit
  • Release Tool/Test Probe: See Terminal Repair Kit

Terminal Part Information

  • Terminal/Tray: See Terminal Repair Kit
  • Core/Insulation Crimp: See Terminal Repair Kit
  • Release Tool/Test Probe: See Terminal Repair Kit

X321 Upfitter Harness to Body Harness (YF2/YF7)

Pin

Wire

Circuit

Function

Pin

Wire

Circuit

Function

A

--

1042

Battery Positive Voltage

A

5 RD/BK

1042

Battery Positive Voltage

B

--

541

Ignition Voltage

B

5 BN

541

Ignition Voltage

C

--

450

Ground

C

5 BK

450

Ground

D

--

--

Not Used

D

--

--

Not Used

X324 Right Rear Side Impact Sensor Jumper to Body Harness (ASF)


Object Number: 632351  Size: CH

Object Number: 681875  Size: CH

Connector Part Information

  • OEM: 13510085
  • Service: See Catalog
  • Description: 2-Way F GT 150 Series Sealed (BK)

Connector Part Information

  • OEM: 13510099
  • Service: 19151499
  • Description: 2-Way M GT 150 Series Sealed (BK)

Terminal Part Information

  • Terminal/Tray: 12191819/8
  • Core/Insulation Crimp: E/A
  • Release Tool/Test Probe: 15315247/J-35616-2A (GY)

Terminal Part Information

  • Terminal/Tray: See Terminal Repair Kit
  • Core/Insulation Crimp: See Terminal Repair Kit
  • Release Tool/Test Probe: See Terminal Repair Kit

X324 Right Rear Side Impact Sensor Jumper to Body Harness (ASF)

Pin

Wire

Circuit

Function

Pin

Wire

Circuit

Function

A

0.5 PK/BK

6627

Low Reference

A

0.5 PK/BK

6627

Low Reference

B

0.5 L-BU/WH

6626

Right Rear Side Impact Sensing Module Signal

B

0.5 L-BU/WH

6626

Right Rear Side Impact Sensing Module Signal

X330 Instrument Panel Harness to Body Harness


Object Number: 744039  Size: CH

Object Number: 744041  Size: CH

Connector Part Information

  • OEM: 12191740
  • Service: 12191740
  • Description: 4-Way F Metri-Pack 280 Series (YE)

Connector Part Information

  • OEM: 15304974
  • Service: 15306013
  • Description: 4-Way M Metri-Pack 280 Series (YE)

Terminal Part Information

  • Terminal/Tray: 12034046/2
  • Core/Insulation Crimp: E/A
  • Release Tool/Test Probe: 12094430/J-35616-4A (PU)

Terminal Part Information

  • Terminal/Tray: See Terminal Repair Kit
  • Core/Insulation Crimp: See Terminal Repair Kit
  • Release Tool/Test Probe: See Terminal Repair Kit

X330 Instrument Panel Harness to Body Harness

Pin

Wire

Circuit

Function

Pin

Wire

Circuit

Function

A1

0.5 TN

3021

Steering Wheel Module - Stage 1 - High Control

A1

0.5 TN

3021

Steering Wheel Module - Stage 1 - High Control

A2

0.5 BN

3020

Steering Wheel Module - Stage 1 - Low Control

A2

0.5 BN

3020

Steering Wheel Module - Stage 1 - Low Control

B1

0.5 WH

3023

Steering Wheel Module - Stage 2 - High Control (Light Duty)

B1

0.5 WH

3023

Steering Wheel Module - Stage 2 - High Control (Light Duty)

B2

0.5 PK

3022

Steering Wheel Module - Stage 2 - Low Control (Light Duty)

B2

0.5 PK

3022

Steering Wheel Module - Stage 2 - Low Control (Light Duty)

X331 Instrument Panel Harness to Body Harness


Object Number: 594473  Size: CH

Object Number: 684931  Size: CH

Connector Part Information

  • OEM: 15336479
  • Service: 15306186
  • Description: 4-Way F Metri-Pack 280 Series (YE)

Connector Part Information

  • OEM: 15336476
  • Service: 88987998
  • Description: 4-Way M Metri-Pack 280 Series (YE)

Terminal Part Information

  • Terminal/Tray: See Terminal Repair Kit
  • Core/Insulation Crimp: See Terminal Repair Kit
  • Release Tool/Test Probe: See Terminal Repair Kit

Terminal Part Information

  • Terminal/Tray: See Terminal Repair Kit
  • Core/Insulation Crimp: See Terminal Repair Kit
  • Release Tool/Test Probe: See Terminal Repair Kit

X331 Instrument Panel Harness to Body Harness

Pin

Wire

Circuit

Function

Pin

Wire

Circuit

Function

A1

0.5 YE

3025

Instrument Panel Module - Stage 1 - High Control

A1

0.5 YE

3025

Instrument Panel Module - Stage 1 - High Control

A2

0.5 OG

3024

Instrument Panel Module - Stage 1 - Low Control

A2

0.5 OG

3024

Instrument Panel Module - Stage 1 - Low Control

B1

0.5 GY

3027

Instrument Panel Module - Stage 2 - High Control (Light Duty with AK5)

B1

0.5 GY

3027

Instrument Panel Module - Stage 2 - High Control (Light Duty with AK5)

B2

0.5 PU

3026

Instrument Panel Module - Stage 2 - Low Control (Light Duty with AK5)

B2

0.5 PU

3026

Instrument Panel Module - Stage 2 - Low Control (Light Duty with AK5)

X400 Right Rear Cargo Door to Body Harness (Passenger/Cargo)


Object Number: 603055  Size: CH

Object Number: 603056  Size: CH

Connector Part Information

  • OEM: 15324054
  • Service: See Catalog
  • Description: 10-Way F Metri-Pack 150 (BK)

Connector Part Information

  • OEM: 15324758
  • Service: See Catalog
  • Description: 10-Way M Metri-Pack 150 (BK)

Terminal Part Information

  • Pins: D-E, H-K
  • Terminal/Tray: 12064971/5
  • Core/Insulation Crimp: E/C
  • Release Tool/Test Probe: 12094429/J-35616-14 (GN)
  • Pins: A-B, F-G
  • Terminal/Tray: 12047767/2
  • Core/Insulation Crimp: E/A
  • Release Tool/Test Probe: 12094429/J-35616-14 (GN)

Terminal Part Information

  • Terminal/Tray: See Terminal Repair Kit
  • Core/Insulation Crimp: See Terminal Repair Kit
  • Release Tool/Test Probe: See Terminal Repair Kit

X400 Right Rear Cargo Door to Body Harness (Passenger/Cargo)

Pin

Wire

Circuit

Function

Pin

Wire

Circuit

Function

A

1 TN

1855

Right Rear Midrange Speaker Output (+)

A

1 TN

1855

Right Rear Midrange Speaker Output (+)

B

1 OG

1955

Right Rear Midrange Speaker Output (-)

B

1 OG

1955

Right Rear Midrange Speaker Output (-)

C

--

--

Not Used

C

--

--

Not Used

D

0.35 BK/WH

1051

Ground

D

1 BK/WH

1051

Ground

E

0.35 D-BU

245

Passenger Door Lock Switch Unlock Control (AU3)

E

0.35 D-BU

245

Passenger Door Lock Switch Unlock Control (AU3)

F

1 GY

295

Door Lock Actuator Lock Control (AU3)

F

1 GY

295

Door Lock Actuator Lock Control (AU3)

G

1 TN/BK

1095

Right Rear Door Lock Actuator Unlock Control (AU3)

G

1 TN/BK

1095

Right Rear Door Lock Actuator Unlock Control (AU3)

H

0.35 L-GN

5926

Rear Access Open Switch Signal

H

0.35 L-GN

5926

Rear Access Open Switch Signal

J

0.35 PK/BK

1303

Cargo Door Ajar Switch Signal

J

0.35 PK/BK

1303

Cargo Door Ajar Switch Signal

K

0.35 L-BU

244

Passenger Door Lock Switch Lock Control (AU3)

K

0.35 L-BU

244

Passenger Door Lock Switch Lock Control (AU3)

X401 Left Tail Lamp Harness to Body Harness (Passenger/Cargo)


Object Number: 62456  Size: CH

Object Number: 39689  Size: CH

Connector Part Information

  • OEM: 12064752
  • Service: 15305888
  • Description: 6-Way F Metri-Pack 280 Series (BK)

Connector Part Information

  • OEM: 12064754
  • Service: 12064754
  • Description: 6-Way M Metri-Pack 280 Series Self Lock (BK)

Terminal Part Information

  • Terminal/Tray: See Terminal Repair Kit
  • Core/Insulation Crimp: See Terminal Repair Kit
  • Release Tool/Test Probe: See Terminal Repair Kit

Terminal Part Information

  • Terminal/Tray: See Terminal Repair Kit
  • Core/Insulation Crimp: See Terminal Repair Kit
  • Release Tool/Test Probe: See Terminal Repair Kit

X401 Left Tail Lamp Harness to Body Harness (Passenger/Cargo)

Pin

Wire

Circuit

Function

Pin

Wire

Circuit

Function

A

0.5 BN

2509

Left Rear Park Lamps Control

A

0.5 BN

2509

Left Rear Park Lamps Control

0.5 BN

2509

Left Rear Park Lamps Control

B

1 YE

618

Left Rear Turn Signal Lamp Control

B

1 YE

618

Left Rear Turn Signal Lamp Control

C

--

--

Not Used

C

--

--

Not Used

D

0.8 BK

850

Ground

D

0.8 BK

850

Ground

E

--

--

Not Used

E

--

--

Not Used

F

0.8 L-GN

24

Backup Lamp Control

F

0.8 L-GN

24

Backup Lamp Control

X402 Right Tail Lamp Harness to Body Harness (Passenger/Cargo)


Object Number: 62456  Size: CH

Object Number: 39689  Size: CH

Connector Part Information

  • OEM: 12064752
  • Service: 15305888
  • Description: 6-Way F Metri-Pack 280 Series (BK)

Connector Part Information

  • OEM: 12064754
  • Service: 15305872
  • Description: 6-Way M Metri-Pack 280 Series Self Lock (BK)

Terminal Part Information

  • Terminal/Tray: See Terminal Repair Kit
  • Core/Insulation Crimp: See Terminal Repair Kit
  • Release Tool/Test Probe: See Terminal Repair Kit

Terminal Part Information

  • Terminal/Tray: See Terminal Repair Kit
  • Core/Insulation Crimp: See Terminal Repair Kit
  • Release Tool/Test Probe: See Terminal Repair Kit

X402 Right Tail Lamp Harness to Body Harness (Passenger/Cargo)

Pin

Wire

Circuit

Function

Pin

Wire

Circuit

Function

A

0.5 BN

2609

Right Rear Park Lamps Control/Park Lamps Control

A

0.5 BN

2609

Right Rear Park Lamps Control/Park Lamps Control

B

1 YE

619

Right Rear Turn Signal Lamp Control

B

1 D-GN

619

Right Rear Turn Signal Lamp Control

C

--

--

Not Used

C

--

--

Not Used

D

0.8 BK

1050

Ground

D

0.8 BK

1050

Ground

E

--

--

Not Used

E

--

--

Not Used

F

0.8 L-GN

24

Backup Lamp Control

F

0.8 L-GN

24

Backup Lamp Control

X405 Cutaway Rear Lighting Connector to Chassis Harness (Cutaway)


Object Number: 655815  Size: CH

Object Number: 655819  Size: CH

Connector Part Information

  • OEM: 15326660
  • Service: 88986262
  • Description: 10-Way F GT 280 5.8 Series Sealed (BK)

Connector Part Information

  • OEM: 15326661
  • Service: 15326661
  • Description: 10-Way M GT 280 5.8 Series Sealed (BK)

Terminal Part Information

  • Terminal/Tray: See Terminal Repair Kit
  • Core/Insulation Crimp: See Terminal Repair Kit
  • Release Tool/Test Probe: See Terminal Repair Kit

Terminal Part Information

  • Terminal/Tray: See Terminal Repair Kit
  • Core/Insulation Crimp: See Terminal Repair Kit
  • Release Tool/Test Probe: See Terminal Repair Kit

X405 Cutaway Rear Lighting Connector to Chassis Harness (Cutaway)

Pin

Wire

Circuit

Function

Pin

Wire

Circuit

Function

A-B

--

--

Not Used

A-B

--

--

Not Used

C

1 WH

17

CHMSL Control

C

1 L-BU

1320

CHMSL Control

D

1 YE

618

Left Rear Turn Signal Lamp Control

D

1 YE

618

Left Rear Turn Signal Lamp Control

E

1 D-GN

619

Right Rear Turn Signal Lamp Control

E

1 D-GN

619

Right Rear Turn Signal Lamp Control

F

1 BN

2109

Trailer Park Lamps Control

F

1 BN

2109

Trailer Park Lamps Control

G

1 BK

150

Ground

G

1 BK

150

Ground

H

1 L-GN

1624

Trailer Backup Lamps Control

H

1 L-GN

1624

Trailer Backup Lamps Control

J

--

--

Not Used

J

--

--

Not Used

K

0.8 D-BU/WH

149

Courtesy Lamp Control

K

0.8 D-BU/WH

149

Courtesy Lamp Control

X407 Rear HVAC Harness to Body Harness (C36/C69)


Object Number: 40422  Size: CH

Object Number: 40425  Size: CH

Connector Part Information

  • OEM: 12064762
  • Service: 12125665
  • Description: 6-Way F Metri-Pack 150 Series (GY)

Connector Part Information

  • OEM: 12064763
  • Service: 12101876
  • Description: 6-Way M Metri-Pack 150 Series (GY)

Terminal Part Information

  • Terminal/Tray: See Terminal Repair Kit
  • Core/Insulation Crimp: See Terminal Repair Kit
  • Release Tool/Test Probe: See Terminal Repair Kit

Terminal Part Information

  • Terminal/Tray: See Terminal Repair Kit
  • Core/Insulation Crimp: See Terminal Repair Kit
  • Release Tool/Test Probe: See Terminal Repair Kit

X407 Rear HVAC Harness to Body Harness (C36/C69)

Pin

Wire

Circuit

Function

Pin

Wire

Circuit

Function

A

0.35 OG

2775

Auxiliary Air Temperature Door Control (C69)

A

0.35 OG

2775

Auxiliary Air Temperature Door Control (C69)

B

0.35 D-BU

1926

Auxiliary Blower Motor Low Control

B

0.35 D-BU

1926

Auxiliary Blower Motor Low Control

C

0.35 WH

1924

Auxiliary Blower Motor High Control

C

0.35 WH

1924

Auxiliary Blower Motor High Control

D

0.35 OG

1925

Auxiliary Blower Motor Medium Control

D

0.35 OG

1925

Auxiliary Blower Motor Medium Control

E

0.35 BN

341

Ignition Voltage

E

0.35 BN

341

Ignition Voltage

F

0.35 GY

2599

Auxiliary Mode Door Control (C69)

F

0.35 GY

2599

Auxiliary Mode Door Control (C69)

X409 Rear HVAC Harness to Body Harness (C36/C69)


Object Number: 808706  Size: CH

Object Number: 38284  Size: CH

Connector Part Information

  • OEM: 12064749
  • Service: 12064749
  • Description: 2-Way F Metri-Pack 480 Series (BK)

Connector Part Information

  • OEM: 12064750
  • Service: 12101935
  • Description: 2-Way M Metri-Pack 480 Series (BK)

Terminal Part Information

  • Terminal/Tray: See Terminal Repair Kit
  • Core/Insulation Crimp: See Terminal Repair Kit
  • Release Tool/Test Probe: See Terminal Repair Kit

Terminal Part Information

  • Terminal/Tray: See Terminal Repair Kit
  • Core/Insulation Crimp: See Terminal Repair Kit
  • Release Tool/Test Probe: See Terminal Repair Kit

X409 Rear HVAC Harness to Body Harness (C36/C69)

Pin

Wire

Circuit

Function

Pin

Wire

Circuit

Function

A

5 RD/WH

1740

Battery Positive Voltage

A

5 RD/WH

1740

Battery Positive Voltage

B

5 BK

850

Ground

B

5 BK

850

Ground (C36/C69)

5 BK

450

Ground (ENC)

X411 Left Rear Cargo Door Harness to Body Harness (Passenger/Cargo)


Object Number: 62456  Size: CH

Object Number: 39689  Size: CH

Connector Part Information

  • OEM: 12064752
  • Service: 12064752
  • Description: 6-Way F Metri-Pack 280 Series (BK)

Connector Part Information

  • OEM: 12064754
  • Service: 15305872
  • Description: 6-Way M Metri-Pack 280 Series Self Lock (BK)

Terminal Part Information

  • Pins: A-B
  • Terminal/Tray: 12034046/2
  • Core/Insulation Crimp: C/D
  • Release Tool/Test Probe: 12094430/J-35616-4A (PU)
  • Pins: D-E
  • Terminal/Tray: 12015858/4
  • Core/Insulation Crimp: Pins: D : B/G
  • Core/Insulation Crimp: Pins: E : F/G
  • Release Tool/Test Probe: 12094430/J-35616-4A (PU)

Terminal Part Information

  • Terminal/Tray: See Terminal Repair Kit
  • Core/Insulation Crimp: See Terminal Repair Kit
  • Release Tool/Test Probe: See Terminal Repair Kit

X411 Left Rear Cargo Door Harness to Body Harness (Passenger/Cargo)

Pin

Wire

Circuit

Function

Pin

Wire

Circuit

Function

A

1 TN

1859

Left Rear Midrange Speaker Output (+)

A

1 TN

1859

Left Rear Midrange Speaker Output (+)

B

1 WH

1959

Left Rear Midrange Speaker Output (-)

B

1 WH

1959

Left Rear Midrange Speaker Output (-)

C

--

--

Not Used

C

--

--

Not Used

D

5 PU

293

Rear Defog Element Control (C49)

D

5 PU

293

Rear Defog Element Control (C49)

E

3 BK

850

Ground (C49)

E

3 BK

850

Ground (C49)

F

--

--

Not Used

F

--

--

Not Used

X412 Right Rear Cargo Door to Body Harness (Passenger/Cargo)


Object Number: 333042  Size: CH

Object Number: 1884161  Size: CH

Connector Part Information

  • OEM: 12020014
  • Service: 12020014
  • Description: 3-Way F Metri-Pack Connectors, Mixed (280, 480) Series (BK)

Connector Part Information

  • OEM: 12045681
  • Service: 12045681
  • Description: 3-Way M Metri-Pack 280, 480 Series (BK)

Terminal Part Information

  • Pins: A, C
  • Terminal/Tray: 12034046/2
  • Core/Insulation Crimp: E/A
  • Release Tool/Test Probe: 12094430/J-35616-4A (PU)
  • Pins: C
  • Terminal/Tray: 12015858/4
  • Core/Insulation Crimp: F/G
  • Release Tool/Test Probe: 12094430/J-35616-4A (PU)
  • Pins: B
  • Terminal/Tray: 12084595/2
  • Core/Insulation Crimp: B/G
  • Release Tool/Test Probe: 12094430/J-35616-40 (BU)

Terminal Part Information

  • Terminal/Tray: See Terminal Repair Kit
  • Core/Insulation Crimp: See Terminal Repair Kit
  • Release Tool/Test Probe: See Terminal Repair Kit

X412 Right Rear Cargo Door to Body Harness (Passenger/Cargo)

Pin

Wire

Circuit

Function

Pin

Wire

Circuit

Function

A

0.5 BN

2509

Left Rear Park Lamps Control

A

0.5 BN

2509

Left Rear Park Lamps Control

B

5 PU

293

Rear Defog Element Control (C49)

B

5 PU

293

Rear Defog Element Control (C49)

C

3 BK

1050

Ground (Passenger/Cargo with C49)

C

3 BK

1050

Ground

0.5 BK

1050

Ground (Passenger/Cargo without C49)

X413 Chassis Harness to Left Rear Wheel Speed Sensor Jumper Harness (JL4)


Object Number: 635009  Size: CH

Object Number: 333041  Size: CH

Connector Part Information

  • OEM: 12052641
  • Service: 12102747
  • Description: 2-Way F Metri-Pack 150 Series Sealed (BK)

Connector Part Information

  • OEM: 12162000
  • Service: 12167120
  • Description: 2-Way M Metri-Pack 150 Series Sealed (BK)

Terminal Part Information

  • Terminal/Tray: See Terminal Repair Kit
  • Core/Insulation Crimp: See Terminal Repair Kit
  • Release Tool/Test Probe: See Terminal Repair Kit

Terminal Part Information

  • Terminal/Tray: See Terminal Repair Kit
  • Core/Insulation Crimp: See Terminal Repair Kit
  • Release Tool/Test Probe: See Terminal Repair Kit

X413 Chassis Harness to Left Rear Wheel Speed Sensor Jumper Harness (JL4)

Pin

Wire

Circuit

Function

Pin

Wire

Circuit

Function

A

0.5 OG

885

Low Reference

A

0.5 BK

885

Low Reference

B

0.5 TN

884

Left Rear Wheel Speed Sensor Signal

B

0.5 RD

884

Left Rear Wheel Speed Sensor Signal

X414 Chassis Harness to Right Rear Wheel Speed Sensor Jumper Harness (JL4)


Object Number: 635009  Size: CH

Object Number: 333041  Size: CH

Connector Part Information

  • OEM: 12052641
  • Service: 12102747
  • Description: 2-Way F Metri-Pack 150 Series Sealed (BK)

Connector Part Information

  • OEM: 12162000
  • Service: 12162000
  • Description: 2-Way M Metri-Pack 150 Series Sealed (BK)

Terminal Part Information

  • Terminal/Tray: See Terminal Repair Kit
  • Core/Insulation Crimp: See Terminal Repair Kit
  • Release Tool/Test Probe: See Terminal Repair Kit

Terminal Part Information

  • Terminal/Tray: See Terminal Repair Kit
  • Core/Insulation Crimp: See Terminal Repair Kit
  • Release Tool/Test Probe: See Terminal Repair Kit

X414 Chassis Harness to Right Rear Wheel Speed Sensor Jumper Harness (JL4)

Pin

Wire

Circuit

Function

Pin

Wire

Circuit

Function

A

0.5 WH

883

Low Reference

A

0.5 BN

883

Low Reference

B

0.5 BN

882

Right Rear Wheel Speed Sensor Signal

B

0.5 WH

882

Right Rear Wheel Speed Sensor Signal

X415 Roof Center Speaker Harness to Body Harness (Passenger/Cargo)


Object Number: 130637  Size: CH

Object Number: 40399  Size: CH

Connector Part Information

  • OEM: 12064760
  • Service: 12064760
  • Description: 4-Way F Metri-Pack 150 Series (BK)

Connector Part Information

  • OEM: 12065658
  • Service: See Catalog
  • Description: 4-Way M Metri-Pack 150 Series (BK)

Terminal Part Information

  • Terminal/Tray: See Terminal Repair Kit
  • Core/Insulation Crimp: See Terminal Repair Kit
  • Release Tool/Test Probe: See Terminal Repair Kit

Terminal Part Information

  • Terminal/Tray: See Terminal Repair Kit
  • Core/Insulation Crimp: See Terminal Repair Kit
  • Release Tool/Test Probe: See Terminal Repair Kit

X415 Roof Center Speaker Harness to Body Harness (Passenger/Cargo)

Pin

Wire

Circuit

Function

Pin

Wire

Circuit

Function

A

1 WH

1959

Left Rear Midrange Speaker Output (-)

A

1 WH

1959

Left Rear Midrange Speaker Output (-)

B

1 TN

1859

Left Rear Midrange Speaker Output (+)

B

1 TN

1859

Left Rear Midrange Speaker Output (+)

C

1 OG

1955

Right Rear Midrange Speaker Output (-)

C

1 OG

1955

Right Rear Midrange Speaker Output (-)

D

1 TN

1855

Right Rear Midrange Speaker Output (+)

D

1 TN

1855

Right Rear Midrange Speaker Output (+)

X417 Dome Lamp Harness to Body Harness (Cargo without YF7)


Object Number: 82383  Size: CH

Object Number: 1664595  Size: CH

Connector Part Information

  • OEM: 12047662
  • Service: 12085535
  • Description: 2-Way F Metri-Pack 150 Series (BK)

Connector Part Information

  • OEM: 12048457
  • Service: 12085481
  • Description: 2-Way M Metri-Pack 150 Series (BK)

Terminal Part Information

  • Terminal/Tray: See Terminal Repair Kit
  • Core/Insulation Crimp: See Terminal Repair Kit
  • Release Tool/Test Probe: See Terminal Repair Kit

Terminal Part Information

  • Terminal/Tray: See Terminal Repair Kit
  • Core/Insulation Crimp: See Terminal Repair Kit
  • Release Tool/Test Probe: See Terminal Repair Kit

X417 Dome Lamp Harness to Body Harness (Cargo without YF7)

Pin

Wire

Circuit

Function

Pin

Wire

Circuit

Function

A

0.8 D-BU/WH

149

Courtesy Lamp Control

A

0.8 D-BU/WH

149

Courtesy Lamp Control

B

0.5 BK

850

Ground

B

0.5 BK

850

Ground

X419 High Mounted Stop Lamp Harness to Body Harness (Passenger/Cargo)


Object Number: 82383  Size: CH

Object Number: 1664595  Size: CH

Connector Part Information

  • OEM: 12047662
  • Service: 12085535
  • Description: 2-Way F Metri-Pack 150 Series (BK)

Connector Part Information

  • OEM: 12048457
  • Service: 12048457
  • Description: 2-Way M Metri-Pack 150 Series (BK)

Terminal Part Information

  • Terminal/Tray: See Terminal Repair Kit
  • Core/Insulation Crimp: See Terminal Repair Kit
  • Release Tool/Test Probe: See Terminal Repair Kit

Terminal Part Information

  • Terminal/Tray: See Terminal Repair Kit
  • Core/Insulation Crimp: See Terminal Repair Kit
  • Release Tool/Test Probe: See Terminal Repair Kit

X419 High Mounted Stop Lamp Harness to Body Harness (Passenger/Cargo)

Pin

Wire

Circuit

Function

Pin

Wire

Circuit

Function

A

0.8 L-BU

1320

CHMSL Control

A

0.8 L-BU

1320

CHMSL Control

B

0.8 BK

850

Ground

B

0.8 BK

850

Ground

X420 Rear Headliner Harness to Body Harness (Passenger/Cargo)


Object Number: 476149  Size: CH

Object Number: 847281  Size: CH

Connector Part Information

  • OEM: 15326110
  • Service: 15306171
  • Description: 12-Way F GT 280 Series (BK)

Connector Part Information

  • OEM: 15326942
  • Service: 15326942
  • Description: 12-Way M GT 280 Series (BK)

Terminal Part Information

  • Terminal/Tray: See Terminal Repair Kit
  • Core/Insulation Crimp: See Terminal Repair Kit
  • Release Tool/Test Probe: See Terminal Repair Kit

Terminal Part Information

  • Terminal/Tray: See Terminal Repair Kit
  • Core/Insulation Crimp: See Terminal Repair Kit
  • Release Tool/Test Probe: See Terminal Repair Kit

X420 Rear Headliner Harness to Body Harness (Passenger/Cargo)

Pin

Wire

Circuit

Function

Pin

Wire

Circuit

Function

A

0.8 D-BU/WH

149

Courtesy Lamp Control

A

0.8 D-BU/WH

149

Courtesy Lamp Control

B

0.8 D-BU/WH

149

Courtesy Lamp Control

B

0.8 D-BU/WH

149

Courtesy Lamp Control

C

0.35 BN/WH

230

Instrument Panel Lamps Dimming Control (C69)

C

0.35 BN/WH

230

Instrument Panel Lamps Dimming Control (C69)

D

0.5 WH

1924

Auxiliary Blower Motor High Control (C69)

D

0.5 WH

1924

Auxiliary Blower Motor High Control (C69)

E

0.5 OG

1925

Auxiliary Blower Motor Medium Control (C69)

E

0.5 OG

1925

Auxiliary Blower Motor Medium Control (C69)

F

0.5 D-BU

1926

Auxiliary Blower Motor Low Control (C69)

F

0.5 D-BU

1926

Auxiliary Blower Motor Low Control (C69)

G

0.35 BN

341

Ignition Voltage (C69)

G

0.35 BN

341

Ignition Voltage (C69)

H

0.8 BK

1050

Ground

H

0.8 BK

1050

Ground

J

0.8 OG

1732

Courtesy Lamps Control

J

0.8 OG

1732

Courtesy Lamps Control

K

0.5 BN

5263

Rear Auxiliary Air Temperature Door Control (C69)

K

0.5 BN

5263

Rear Auxiliary Air Temperature Door Control (C69)

L

0.5 PU/WH

5264

Rear Auxiliary Mode Door Control (C69)

L

0.5 PU/WH

5264

Rear Auxiliary Mode Door Control (C69)

M

0.5 PK/BK

5265

Rear Auxiliary Blower Motor Switch Control (C69)

M

0.5 PK/BK

5265

Rear Auxiliary Blower Motor Switch Control (C69)

X500 Driver Door Harness to Body Harness


Object Number: 1538788  Size: CH

Object Number: 1715230  Size: CH

Connector Part Information

  • OEM: 15448129
  • Service: See Catalog
  • Description: 40-Way F GT 150 280 Series (BK)

Connector Part Information

  • OEM: 15475869
  • Service: 88988307
  • Description: 40-Way M GT 150 280 Series (BK)

Terminal Part Information

  • Pins: A1, A7-A8, B1-B4, B7-B8, B12, C1-C2, C7-C8, C12, D7-D8
  • Terminal/Tray: 12191812/19
  • Core/Insulation Crimp: Pins: A7, B7-B8, B12, C12 : C/A
  • Core/Insulation Crimp: Pins: A1, A8, B1-B4, C1-C2, C7-C8, D7-D8 : E/C
  • Release Tool/Test Probe: 15315247/J-35616-2A (GY)
  • Pins: A5-A6
  • Terminal/Tray: 15304711/8
  • Core/Insulation Crimp: E/A
  • Release Tool/Test Probe: 15315247/J-35616-4A (PU)
  • Pins: A5, D4-D6
  • Terminal/Tray: 15304713/19
  • Core/Insulation Crimp: F/D
  • Release Tool/Test Probe: 15315247/J-35616-4A (PU)

Terminal Part Information

  • Terminal/Tray: See Terminal Repair Kit
  • Core/Insulation Crimp: See Terminal Repair Kit
  • Release Tool/Test Probe: See Terminal Repair Kit

X500 Driver Door Harness to Body Harness

Pin

Wire

Circuit

Function

Pin

Wire

Circuit

Function

A1

0.35 TN

126

Left Front Door Open Switch Signal

A1

0.35 TN

126

Left Front Door Open Switch Signal

A2-A4

--

--

Not Used

A2-A4

--

--

Not Used

A5

0.35 BK

450

Ground (AU3 without DE5/DE7/A31)

A5

3 BK

450

Ground

3 BK

450

Ground (AU3 with DE5/DE7/A31)

A6

0.35 BN/WH

230

Instrument Panel Lamps Dimming Control (AU3)

A6

0.35 BN/WH

230

Instrument Panel Lamps Dimming Control (AU3/A31)

0.35 BN/WH

230

Instrument Panel Lamps Dimming Control (A31)

A7

0.8 OG

2267

Mirror Heating Element Control (DE5/DE7)

A7

0.8 OG

2267

Mirror Heating Element Control (DE5/DE7)

A8

0.35 PU/WH

889

Passenger Mirror Motor Down Control (DE5/DE7)

A8

0.5 PU/WH

889

Passenger Mirror Motor Down Control (DE5/DE7)

B1

0.35 OG/BK

781

Driver Door Lock Switch Unlock Signal (AU3)

B1

0.35 OG/BK

781

Driver Door Lock Switch Unlock Signal (AU3)

B2

0.35 PK/BK

780

Driver Door Lock Switch Lock Signal (AU3)

B2

0.35 PK/BK

780

Driver Door Lock Switch Lock Signal (AU3)

B3

0.35 GY/BK

745

Left Front Door Ajar Switch Signal

B3

0.35 GY/BK

745

Left Front Door Ajar Switch Signal

B4

0.35 BK

450

Ground

B4

0.35 BK

450

Ground

B5-B6

--

--

Not Used

B5-B6

--

--

Not Used

B7

0.8 TN

694

Driver Door Lock Actuator Unlock Control (AU3)

B7

0.8 TN

694

Driver Door Lock Actuator Unlock Control (AU3)

B8

0.8 GY

295

Door Lock Actuator Lock Control (AU3)

B8

1 GY

295

Door Lock Actuator Lock Control (AU3)

B9-B11

--

--

Not Used

B9-B11

--

--

Not Used

B12

0.8 D-BU

1857

Left Front Midrange Speaker Output (+)

B12

0.8 D-BU

1857

Left Front Midrange Speaker Output (+)

C1

0.5 PU/WH

6628

Low Reference (ASF)

C1

0.5 PU/WH

6628

Low Reference (ASF)

C2

0.5 WH

2132

Side Impact Sensing Module - Left - Signal (ASF)

C2

0.5 WH

2132

Side Impact Sensing Module - Left - Signal (ASF)

C3-C6

--

--

Not Used

C3-C6

--

--

Not Used

C7

0.5 L-BU/WH

1314

Left Front Turn Signal Lamp Control (DE5/DE7)

C7

0.5 L-BU/WH

1314

Left Front Turn Signal Lamp Control (DE5/DE7)

C8

0.5 RD/WH

4340

Battery Positive Voltage (DE5/DE7)

C8

0.5 RD/WH

4340

Battery Positive Voltage (DE5/DE7)

C9-C11

--

--

Not Used

C9-C11

--

--

Not Used

C12

0.8 L-BU

1957

Left Front Midrange Speaker Output (-)

C12

0.8 L-BU

1957

Left Front Midrange Speaker Output (-)

D1-D3

--

--

Not Used

D1-D3

--

--

Not Used

D4

3 TN

167

Power Window Master Switch Right Front Down Signal (A31)

D4

3 TN

167

Power Window Master Switch Right Front Down Signal (A31)

D5

3 L-BU

166

Power Window Master Switch Right Front Up Signal (A31)

D5

3 L-BU

166

Power Window Master Switch Right Front Up Signal (A31)

D6

3 D-GN

1001

RAP Control (A31)

D6

3 D-GN

1001

RAP Control (A31)

D7

0.35 BN/WH

1498

Passenger Mirror Motor Left/Down Control (DE5/DE7)

D7

0.5 BN/WH

1498

Passenger Mirror Motor Left/Down Control (DE5/DE7)

D8

0.35 OG/WH

881

Passenger Mirror Motor Right Control (DE5/DE7)

D8

0.5 OG/WH

881

Passenger Mirror Motor Right Control (DE5/DE7)

X501 Driver Side Impact Sensor Jumper Harness to Driver Door Harness (ASF)


Object Number: 632351  Size: CH

Object Number: 681875  Size: CH

Connector Part Information

  • OEM: 13510085
  • Service: See Catalog
  • Description: 2-Way F GT 150 Series Sealed (BK)

Connector Part Information

  • OEM: 13510099
  • Service: 19151499
  • Description: 2-Way M GT 150 Series Sealed (BK)

Terminal Part Information

  • Terminal/Tray: 12191819/8
  • Core/Insulation Crimp: E/A
  • Release Tool/Test Probe: 15315247/J-35616-2A (GY)

Terminal Part Information

  • Terminal/Tray: See Terminal Repair Kit
  • Core/Insulation Crimp: See Terminal Repair Kit
  • Release Tool/Test Probe: See Terminal Repair Kit

X501 Driver Side Impact Sensor Jumper Harness to Driver Door Harness (ASF)

Pin

Wire

Circuit

Function

Pin

Wire

Circuit

Function

A

0.5 PU/WH

6628

Low Reference

A

0.5 PU/WH

6628

Low Reference

B

0.5 WH

2132

Side Impact Sensing Module - Left - Signal

B

0.5 WH

2132

Side Impact Sensing Module - Left - Signal

X600 Passenger Door Harness to Body Harness


Object Number: 524205  Size: CH

Object Number: 524211  Size: CH

Connector Part Information

  • OEM: 15326063
  • Service: 15326063
  • Description: 22-Way F GT 150, 280 (GY)

Connector Part Information

  • OEM: 15326064
  • Service: 15326064
  • Description: 22-Way M GT 150, 280 (GY)

Terminal Part Information

  • Pins: A1-A3, A9-A11, B1-B3, B10-B11
  • Terminal/Tray: 12191812/19
  • Core/Insulation Crimp: Pins: A1-A3, B1-B2 : C/A
  • Core/Insulation Crimp: Pins: B3, B10-B11, A9-A11 : E/C
  • Release Tool/Test Probe: 15315247/J-35616-2A (GY)
  • Pins: A5-A8, B6-B8
  • Terminal/Tray: 15304711/8
  • Core/Insulation Crimp: Pins: A5 : 2/A
  • Core/Insulation Crimp: Pins: A5-A8, B6-B8 : E/A
  • Release Tool/Test Probe: 15315247/J-35616-4A (PU)
  • Pins: A4, B4-B5
  • Terminal/Tray: 15304713/19
  • Core/Insulation Crimp: F/D
  • Release Tool/Test Probe: 15315247/J-35616-4A (PU)

Terminal Part Information

  • Terminal/Tray: See Terminal Repair Kit
  • Core/Insulation Crimp: See Terminal Repair Kit
  • Release Tool/Test Probe: See Terminal Repair Kit

X600 Passenger Door Harness to Body Harness

Pin

Wire

Circuit

Function

Pin

Wire

Circuit

Function

A1

0.8 OG

1853

Right Front Midrange Speaker Output (+)

A1

0.8 OG

1853

Right Front Midrange Speaker Output (+)

A2

0.8 TN

294

Door Lock Actuator Unlock Control (AU3)

A2

0.8 TN

294

Door Lock Actuator Unlock Control (AU3)

A3

0.8 OG

2267

Mirror Heating Element Control (DE5/DE7)

A3

0.8 OG

2267

Mirror Heating Element Control (DE5/DE7)

A4

3 L-BU

166

Power Window Master Switch Right Front Up Signal (A31)

A4

3 L-BU

166

Power Window Master Switch Right Front Up Signal (A31)

A5

0.8 BK

1850

Ground

A5

0.8 BK

1850

Ground

A6

0.35 BN/WH

1498

Passenger Mirror Motor Left/Down Control (DE5/DE7)

A6

0.5 BN/WH

1498

Passenger Mirror Motor Left/Down Control (DE5/DE7)

0.35 BN/WH

1498

Passenger Mirror Motor Left/Down Control (DE5/DE7)

A7

0.35 OG/WH

881

Passenger Mirror Motor Right Control (DE5/DE7)

A7

0.5 OG/WH

881

Passenger Mirror Motor Right Control (DE5/DE7)

A8

0.35 TN/WH

746

Right Front Door Ajar Switch Signal

A8

0.35 TN/WH

746

Right Front Door Ajar Switch Signal

A9

0.35 BK

1850

Ground

A9

0.35 BK

1850

Ground

A10

0.5 D-GN

2134

Side Impact Sensing Module - Right - Signal

A10

0.5 D-GN

2134

Side Impact Sensing Module - Right -- Signal

A11

0.35 L-BU

244

Passenger Door Lock Switch Lock Control (AU3)

A11

0.35 L-BU

244

Passenger Door Lock Switch Lock Control (AU3)

B1

0.8 D-GN

1953

Right Front Midrange Speaker Output (-)

B1

0.8 D-GN

1953

Right Front Midrange Speaker Output (-)

B2

0.8 GY

295

Door Lock Actuator Lock Control (AU3)

B2

1 GY

295

Door Lock Actuator Lock Control (AU3)

B3

0.5 D-BU/WH

1315

Right Front Turn Signal Lamp Control (DE5/DE7)

B3

0.5 D-BU/WH

1315

Right Front Turn Signal Lamp Control (DE5/DE7)

B4

3 TN

167

Power Window Master Switch Right Front Down Signal (A31)

B4

3 TN

167

Power Window Master Switch Right Front Down Signal (A31)

B5

3 D-GN

1001

RAP Control (A31)

B5

3 D-GN

1001

RAP Control (A31)

B6

0.35 BN/WH

230

Instrument Panel Lamps Dimming Control (AU3)

B6

0.35 BN/WH

230

Instrument Panel Lamps Dimming Control (AU3/A31)

0.35 BN/WH

230

Instrument Panel Lamps Dimming Control (A31)

B7

0.35 PU/WH

889

Passenger Mirror Motor Down Control (DE5/DE7)

B7

0.5 PU/WH

889

Passenger Mirror Motor Down Control (DE5/DE7)

B8

0.35 L-GN

1177

Right Front Door Open Switch Signal

B8

0.35 L-GN

1177

Right Front Door Open Switch Signal

B9

--

--

Not Used

B9

--

--

Not Used

B10

0.5 WH/BK

6629

Low Reference (ASF)

B10

0.5 WH/BK

6629

Low Reference (ASF)

B11

0.35 D-BU

245

Passenger Door Lock Switch Unlock Control (AU3)

B11

0.35 D-BU

245

Passenger Door Lock Switch Unlock Control (AU3)

X601 Passenger Side Impact Sensor Jumper Harness to Passenger Door Harness (ASF)


Object Number: 523630  Size: CH

Object Number: 681875  Size: CH

Connector Part Information

  • OEM: 13510085
  • Service: See Catalog
  • Description: 2-Way F GT 150 Series Sealed (BK)

Connector Part Information

  • OEM: 13510099
  • Service: 19151499
  • Description: 2-Way M GT 150 Series Sealed (BK)

Terminal Part Information

  • Terminal/Tray: 12191819/8
  • Core/Insulation Crimp: E/A
  • Release Tool/Test Probe: 15315247/J-35616-2A (GY)

Terminal Part Information

  • Terminal/Tray: See Terminal Repair Kit
  • Core/Insulation Crimp: See Terminal Repair Kit
  • Release Tool/Test Probe: See Terminal Repair Kit

X601 Passenger Side Impact Sensor Jumper Harness to Passenger Door Harness (ASF)

Pin

Wire

Circuit

Function

Pin

Wire

Circuit

Function

A

0.5 PU/WH

6628

Low Reference

A

0.5 WH/BK

6629

Low Reference

B

0.5 WH

2132

Side Impact Sensing Module - Right - Signal

B

0.5 D-GN

2134

Side Impact Sensing Module - Right - Signal

X901 Defogger Jumper Harness to Left Rear Cargo Door Harness (C49 with A12)


Object Number: 808706  Size: CH

Object Number: 38284  Size: CH

Connector Part Information

  • OEM: 12064749
  • Service: 12101888
  • Description: CONN 2 F M/P 480 BLK

Connector Part Information

  • OEM: 12064750
  • Service: 12101935
  • Description: 2-Way M Metri-Pack 480 Series (BK)

Terminal Part Information

  • Terminal/Tray: 12084595/2
  • Core/Insulation Crimp: Pins: A : B/G
  • Core/Insulation Crimp: Pins: B : F/G
  • Release Tool/Test Probe: 12094430/J-35616-40 (BU)

Terminal Part Information

  • Terminal/Tray: See Terminal Repair Kit
  • Core/Insulation Crimp: See Terminal Repair Kit
  • Release Tool/Test Probe: See Terminal Repair Kit

X901 Defogger Jumper Harness to Left Rear Cargo Door Harness (C49 with A12)

Pin

Wire

Circuit

Function

Pin

Wire

Circuit

Function

A

5 PU

293

Rear Defog Element Control

A

5 PU

293

Rear Defog Element Control

B

3 BK

850

Ground

B

3 BK

850

Ground

X902 Rear Window Defogger Jumper Harness to Right Rear Cargo Door Harness (C49 with A12)


Object Number: 808706  Size: CH

Object Number: 38284  Size: CH

Connector Part Information

  • OEM: 12064749
  • Service: 12101888
  • Description: CONN 2 F M/P 480 BLK

Connector Part Information

  • OEM: 12064750
  • Service: 12101935
  • Description: 2-Way M Metri-Pack 480 Series (BK)

Terminal Part Information

  • Terminal/Tray: 12084595/2
  • Core/Insulation Crimp: Pins: A : B/G
  • Core/Insulation Crimp: Pins: B : F/G
  • Release Tool/Test Probe: 12094430/J-35616-40 (BU)

Terminal Part Information

  • Terminal/Tray: See Terminal Repair Kit
  • Core/Insulation Crimp: See Terminal Repair Kit
  • Release Tool/Test Probe: See Terminal Repair Kit

X902 Rear Window Defogger Jumper Harness to Right Rear Cargo Door Harness (C49 with A12)

Pin

Wire

Circuit

Function

Pin

Wire

Circuit

Function

A

5 PU

293

Rear Defog Element Control

A

5 PU

293

Rear Defog Element Control

B

3 BK

1050

Ground

B

3 BK

1050

Ground