GM Service Manual Online
For 1990-2009 cars only
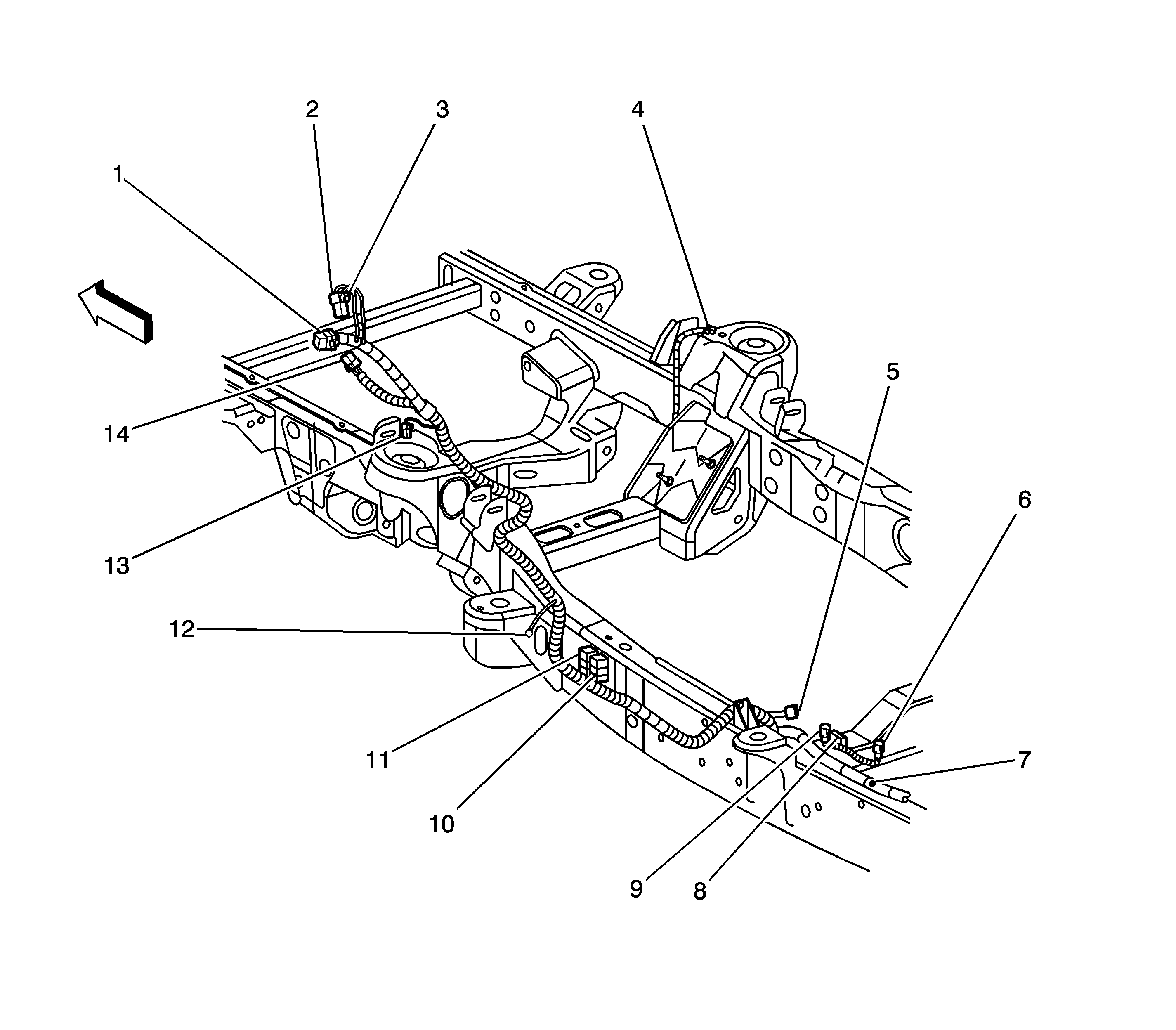
Figure 1:

Chassis Harness Routing (Passenger/Cargo)


Object Number: 884970  Size: LF
(1)Fuse Block Underhood - C3
(2)Fuse Block Underhood - C7
(3)Fuse Block Underhood - C8 (UY7)
(4)Wheel Speed Sensor (WSS) Connector - RF
(5)Brake Pressure Differential Switch Connector (Light Duty)
(6)Evaporative Emission (EVAP) Canister Vent Solenoid Connector
(7)S301
(8)Electronic Brake Control Module (EBCM) - C2
(9)Electronic Brake Control Module (EBCM) - C1
(10)Trailer Right Stop/Turn Relay (UY7)
(11)Trailer Left Stop/Turn Relay (UY7)
(12)G300
(13)Wheel Speed Sensor (WSS) Connector - LF
(14)C101
Figure 2:

Left Side Frame


Object Number: 886085  Size: MF
(1)Evaporative Emission (EVAP) Canister Vent Solenoid
(2)Electronic Brake Control Module (EBCM)