GM Service Manual Online
For 1990-2009 cars only
Figure 1:

Forward Lamps Harness Routing


Object Number: 882406  Size: LF
(1)Marker Lamp Connector - LF
(2)G100
(3)Headlamp - Low Beam Connector - Left (Composite)
(4)Headlamp - High Beam Connector - Left (Composite)
(5)S110
(6)S118
(7)Park/Turn Signal Lamp Connector - RF
(8)Marker Lamp Connector - RF
(9)G101
(10)Headlamp - Low Beam Connector - Right (Composite)
(11)Headlamp - High Beam Connector - Right (Composite)
(12)Park/Turn Signal Lamp Connector - LF
(13)Fuse Block Underhood - C4
Figure 2:

Engine Harness - Left Side of the Engine (4.3L)


Object Number: 882655  Size: LF
(1)S101
(2)A/C Compressor Clutch Connector (C60)
(3)Throttle Position (TP) Sensor Connector
(4)Idle Air Control (IAC) Valve Connector
(5)A/C High Pressure Switch Connector (C60)
Figure 3:

Engine Harness - Right Side of the Engine (4.3L)


Object Number: 882666  Size: LF
(1)Central Sequential Fuel Injection (Central SFI) Connector
(2)Manifold Air Pressure (MAP) Sensor Connector
(3)Ignition Control Module (ICM) Connector
(4)Generator Connector
(5)S102
(6)Ignition Coil Connector
(7)Evaporative Emission (EVAP) Canister Purse Solenoid Connector
Figure 4:

Engine Harness - Rear of the Engine Compartment (4.3L)


Object Number: 882671  Size: LF
(1)S101
(2)C109
(3)Powertrain Control Module (PCM) C1, C2
(4)Fuse Block Underhood - C6
(5)Fuse Block Underhood - C1
(6)Horn Assembly Connector
(7)C100
(8)C101
(9)A/C Compressor Clutch Connector (C60)
Figure 5:

Engine Harness - Rear of the Engine (4.3L/5.3L)


Object Number: 882683  Size: MF
(1)Vehicle Speed Sensor (VSS) Connector
(2)C175
Figure 6:

Engine Harness - Left Side of the Engine (4.8L/5.3L/6.0L)


Object Number: 882686  Size: LF
(1)Fuel Injector 1 Connector
(2)Fuel Injector 3 Connector
(3)Fuel Injector 5 Connector
(4)S101
(5)C103
(6)S102
(7)Fuel Injector 7 Connector
(8)Ignition Coil/Module 7 Connector
(9)Ignition Coil/Module 5 Connector
(10)C126
(11)Ignition Coil/Module 3 Connector
(12)Engine Coolant Temperature (ECT) Sensor Connector
(13)Ignition Coil/Module 1 Connector
Figure 7:

Engine Harness - Right Side of the Engine (4.8L/5.3L/6.0L)


Object Number: 882689  Size: LF
(1)Fuel Injector 8 Connector
(2)Fuel Injector 6 Connector
(3)Fuel Injector 4 Connector
(4)Fuel Injector 2 Connector
(5)Exhaust Gas Recirculation (EGR) Valve Connector (6.0L)
(6)Ignition Coil/Module 2 Connector
(7)Ignition Coil/Module 4 Connector
(8)Ignition Coil/Module 6 Connector
(9)C127
(10)Ignition Coil/Module 8 Connector
Figure 8:

Engine Harness - Top of the Engine (4.8L/5.3L/6.0L)


Object Number: 882693  Size: MF
(1)Manifold Absolute Pressure (MAP) Sensor Connector
(2)S102
(3)S101
(4)C103
(5)Evaporative Emission (EVAP) Canister Purge Solenoid Valve
(6)Throttle Body
Figure 9:

Engine Harness - Rear of the Engine Compartment (4.8L/5.3L/6.0L)


Object Number: 882706  Size: LF
(1)C109
(2)Powertrain Control Module (PCM) C1, C2
(3)Fuse Block Underhood - C6
(4)Horn Assembly Connector
(5)Fuse Block Underhood - C1
(6)C100
(7)C101
(8)Brake Fluid Level Switch Connector (Heavy Duty)
Figure 10:

Engine Harness - Rear of the Engine (4.8L/6.0L)


Object Number: 882711  Size: LF
(1)Heated Oxygen Sensor (HO2S) Bank 1 Sensor 1 Connector
(2)Automatic Transmission Input Speed (A/T ISS) Sensor Connector
(3)Vehicle Speed Sensor (VSS) Connector
(4)C175
(5)Park/Neutral Position (PNP) Switch - C1
(6)Park/Neutral Position (PNP) Switch - C2
Figure 11:

Engine Harness - Oxygen Sensors (4.8L/6.0L)


Object Number: 882716  Size: LF
(1)C128
(2)Heated Oxygen Sensor (HO2S) Bank 2 Sensor 1 Connector
(3)Heated Oxygen Sensor (HO2S) Bank 1 Sensor 2 Connector
(4)Heated Oxygen Sensor (HO2S) Bank 2 Sensor 2 Connector
(5)Heated Oxygen Sensor (HO2S) Bank 1 Sensor 1 Connector
Figure 12:

Power Brake (PB) Booster Fluid Alarm Switches Harness Routing (UJ1)


Object Number: 883605  Size: MF
(1)Power Brake (PB) Booster Fluid Pressure Alarm Switch Connector
(2)C141
(3)Power Brake (PB) Booster Fluid Flow Alarm Switch - C1, C2
Figure 13:

I/P Harness Routing - Front of the Engine Compartment


Object Number: 883607  Size: MF
(1)C100
(2)C104 (Late Production)
(3)Inflatable Restraint Front End Sensor Connector
(4)Radiator Support
Figure 14:

I/P Harness Routing - Left Side of the Passenger Compartment


Object Number: 883611  Size: MF
(1)Park Brake Switch
(2)Park Brake Switch Connector
(3)C220
(4)C311
(5)C318
Figure 15:

I/P Harness Routing - Lower Left Side of the Passenger Compartment


Object Number: 883613  Size: LF
(1)Inflatable Restraint Sensing and Diagnostic Module (SDM) Connector
(2)C318
(3)G301
(4)G302
(5)G303
(6)SP200
(7)C222 (YF7)
(8)Seat Belt Pretentioner Connector - LF (Light Duty)
(9)C300 (Light Duty)
(10)Fuse Block Body - C5 (YF7)
(11)Fuse Block Body - C3
Figure 16:

I/P Harness Routing - Left Side of the I/P


Object Number: 883616  Size: MF
(1)C221
(2)Data Link Connector (DLC)
(3)Stop Lamp Switch Connector
Figure 17:

I/P Harness Routing - Center of the I/P


Object Number: 883633  Size: LF
(1)HVAC Control Assembly Connectors
(2)S246 (DE7)
(3)S245 (DE7)
(4)Instrument Panel Cluster (IPC) Connector
(5)Remote Control Door Lock Receiver (RCDLR) Connector (AU0)
(6)S248
(7)C200
(8)Vehicle Communication Interface Module (VCIM) - C1, C2, C5, C6 (UE1)
(9)Turn Signal/Hazard Flasher Module Connector
(10)Cigar Lighter Connector
(11)Tow/Haul Switch Connector
(12)Antenna Connector
(13)Radio - C1, C2
Figure 18:

I/P Harness Routing - Right Side of the I/P


Object Number: 883634  Size: LF
(1)Auxiliary Power Outlet Connector
(2)Inflatable Restraint I/P Module Connector
(3)S249
(4)S250
(5)Body Control Module (BCM) - C1, C2, C3, C4, C5
(6)Air Temperature Actuator Connector
Figure 19:

I/P Harness Routing - Right Side of the Passenger Compartment


Object Number: 883636  Size: MF
(1)C201 (UE1)
(2)C225 (DF5/UE1)
(3)C312
(4)G304
(5)C202 (UE1)
Figure 20:

Steering Column Harness Routing


Object Number: 883637  Size: MF
(1)Turn Signal/Multifunction Switch Lever
(2)Ignition Key Cylinder
(3)A/T Shift Lock Control Solenoid Connector
(4)C200
Figure 21:

Mobile Telephone, Navigation and Inside Rearview Mirror Harness


Object Number: 883904  Size: MF
(1)Inside Rearview Mirror Connector (DF5/UE1)
(2)Navigation Antenna Connector (UE1)
(3)Cellular Antenna Connector (UE1)
(4)Cellular Telephone Microphone Connector (UE1)
(5)C225 (DF5/UE1)
Figure 22:

Front Headliner Harness Routing


Object Number: 883638  Size: MF
(1)C304 (w/o YF7)
(2)C420 (C69/Rear Auxiliary Controls w/o YF7)
(3)S332 (Passenger)
(4)S314
(5)Left B-Pillar
Figure 23:

HVAC Controls Harness Routing


Object Number: 883639  Size: LF
(1)HVAC Control Assembly Connector - Rear Auxiliary (C69)
(2)HVAC Control Processor Connector - Auxiliary (C69)
(3)HVAC Control Assembly Connector - Front Auxiliary (C69)
(4)S355 (Rear Auxiliary Controls w/YF7)
(5)S307 (Rear Auxiliary Controls w/YF7)
(6)S354 (Rear Auxiliary Controls w/YF7)
(7)S305 (Rear Auxiliary Controls w/YF7)
(8)S306 (Rear Auxiliary Controls w/YF7)
(9)S314
(10)C303 (Rear Auxiliary Controls w/YF7/C69)
(11)Left B-Pillar
(12)C203 (YF7/DH6)
Figure 24:

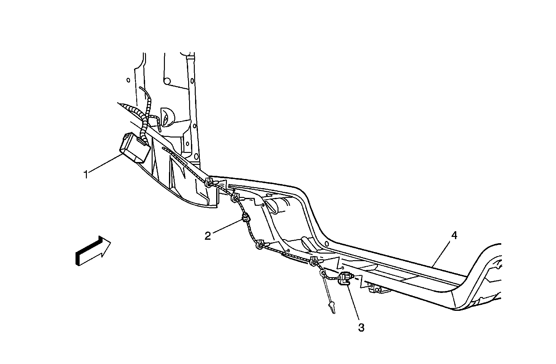
Chassis Harness Routing (Passenger/Cargo)


Object Number: 884970  Size: LF
(1)Fuse Block Underhood - C3
(2)Fuse Block Underhood - C7
(3)Fuse Block Underhood - C8 (UY7)
(4)Wheel Speed Sensor (WSS) Connector - RF
(5)Brake Pressure Differential Switch Connector (Light Duty)
(6)Evaporative Emission (EVAP) Canister Vent Solenoid Connector
(7)S301
(8)Electronic Brake Control Module (EBCM) - C2
(9)Electronic Brake Control Module (EBCM) - C1
(10)Trailer Right Stop/Turn Relay (UY7)
(11)Trailer Left Stop/Turn Relay (UY7)
(12)G300
(13)Wheel Speed Sensor (WSS) Connector - LF
(14)C101
Figure 25:

Inner Center Frame (Cutaway)


Object Number: 884971  Size: LF
(1)Fuel Tank Pressure (FTP) Sensor Connector
(2)Fuel Pump and Sender Assembly Connector
(3)S301
(4)Evaporative Emission (EVAP) Canister Vent Solenoid Connector
(5)Electronic Brake Control Module (EBCM) - C2
(6)Electronic Brake Control Module (EBCM) - C1
Figure 26:

Rear Frame


Object Number: 884973  Size: MF
(1)C405 (Cutaway)
(2)S402
(3)G400
Figure 27:

Driver Door Harness Routing


Object Number: 884975  Size: LF
(1)Outside Rearview Mirror Connector - Driver (DE5/DE7)
(2)Window Switch Connector - Driver (A31)
(3)Outside Rearview Mirror Switch Connector (DE5/DE7)
(4)Window Motor Connector - Driver (A31)
(5)Door Lock Switch Connector - Driver (AU3)
(6)C311
(7)Speaker Connector - LF Door
(8)S500 (AU3)
(9)S502 (DE5/DE7)
Figure 28:

Passenger Door Harness Routing


Object Number: 884978  Size: LF
(1)Window Motor Connector - Front Passenger (A31)
(2)Window Switch Connector - Front Passenger (A31)
(3)Outside Rearview Mirror Connector - Passenger (DE5/DE7)
(4)S600 (AU3)
(5)Speaker Connector - RF Door
(6)C312
(7)Door Lock Switch Connector - Front Passenger (AU3)
Figure 29:

Body Harness Routing - Left Front of the Passenger Compartment


Object Number: 885001  Size: LF
(1)S313 (Light Duty)
(2)C307
(3)C319 (C36/ENC)
(4)C318
(5)C311
(6)Fuse Block Body - C4 (YF7)
(7)C300 (Light Duty)
Figure 30:

Body Harness Routing - Left B-Pillar (Passenger/Cargo)


Object Number: 885006  Size: LF
(1)Body Harness Cover
(2)S311 (w/o YF7)
(3)S310 (w/o YF7)
(4)S308 (w/o YF7)
(5)C304 (w/o YF7)
(6)C203 (YF7/DH6)
(7)C303 (YF7/C69 w/Rear Auxiliary Controls)
(8)Door Contact Plate Connector - Left (E26/AU3)
(9)C407 (ENC)
(10)C409 (ENC)
(11)Fuse Block Body - C2
(12)S310 (YF7)
(13)S308 (YF7)
(14)S311 (YF7)
(15)Body Harness
(16)Body Harness
(17)Lower B-Pillar
(18)Door Ajar Switch Connector - LR (E26)
(19)SP347
(20)G347
Figure 31:

Body Harness Routing - Right B-Pillar


Object Number: 901419  Size: MF
(1)C312
(2)Seat Belt Pretensioner Connector - RF (Light Duty)
(3)C306
(4)Door Contact Plate Connector - Right (Passenger/Cargo w/AU3)
(5)Door Ajar Switch Connector - RR (Passenger/Cargo)
Figure 32:

Body Harness Routing - Left Rear of the Passenger Compartment (YF7)


Object Number: 885008  Size: MF
(1)C321
(2)C320
Figure 33:

Body Harness Routing - Rear of the Passenger Compartment (Passenger/Cargo)


Object Number: 885009  Size: LF
(1)G401
(2)S451
(3)C415
(4)C419
(5)S450
(6)S401
(7)S404
(8)G402
(9)Tail Lamp Assembly Connector - Left
(10)C411
(11)C407 - 135 Wheel Base (C36/C69)
(12)C409 - 135 Wheel Base (C36/C69)
(13)C400
(14)C412
(15)Tail Lamp Assembly Connector - Right
(16)S403 (w/o YF7)
Figure 34:

Pro Harness and Components (PRP)


Object Number: 824051  Size: LF
(1)Dome Fluorescent Work Lamp - LR (UF2)
(2)Dome Fluorescent Work Lamp - LF (UF2)
(3)S350 (UF2)
(4)S348 (UF2)
(5)Dome Fluorescent Work Lamp - 2 (UF2)
(6)Dome Fluorescent Work Lamp - 1 (UF2)
(7)Dome Fluorescent Work Lamp - RH (UF2)
(8)Access Panel Actuator - Right Side Front
(9)Access Panel Actuator - Right Side Rear
(10)S409
(11)C204
(12)Body Control Module (BCM)
(13)S205
(14)C206
(15)C205
(16)I/P Harness
(17)Fuse Block - Body
(18)S302 (UF2)
(19)S303
(20)Fuse Block - Rear
(21)S309
(22)S300
(23)S408
(24)G403
(25)Access Panel Actuator - Left Rear Side Rear
(26)Access Panel Actuator - Left Rear Side Front
(27)Access Panel Actuator - Left Front Side Rear
(28)Access Panel Actuator - Left Front Side Front
Figure 35:

Auxiliary Heater and A/C Harness Routing - Front (C36/C69)


Object Number: 885010  Size: LF
(1)Blower Motor Resistor Assembly Connector - Auxiliary
(2)C409
(3)C407
(4)Blower Motor Connector - Auxiliary
(5)Air Temperature Actuator Connector - Auxiliary (C69)
(6)S413
Figure 36:

Auxiliary Heater and A/C Harness Routing - Rear (C36/C69)


Object Number: 885012  Size: LF
(1)Blower Motor Connector - Auxiliary
(2)Medium Speed Blower Motor Relay - Auxiliary
(3)C407
(4)C409
(5)Low Speed Blower Motor Relay Connector - Auxiliary
(6)S412
(7)S405
(8)S411 (C69)
(9)High Speed Blower Motor Relay Connector - Auxiliary
(10)Mode Actuator Connector - Auxiliary (C69)
Figure 37:

Rear Dome Lamp Harness Routing (Cargo)


Object Number: 885013  Size: MF
(1)C417
(2)Dome Lamp - Rear
Figure 38:

Left Rear Cargo Door Harness Routing (Passenger/Cargo)


Object Number: 885017  Size: MF
(1)Rear Window Defogger Grid Connector - Left (C49)
(2)C411
(3)Speaker Connector - LR Door (UB1/UC6)
Figure 39:

Right Rear Cargo Door Harness Routing (Passenger/Cargo)


Object Number: 885020  Size: LF
(1)Rear Window Defogger Grid Connector - Right (C49)
(2)Mini-Wedge Door Jamb Switch - Cargo
(3)Door Lock Switch Connector - Rear Cargo (AU3)
(4)License Lamp Connector
(5)S902
(6)Speaker Connector - RR Door (UB1/UC6)
(7)C412
(8)C400