GM Service Manual Online
For 1990-2009 cars only
Table 1: Access Panel Actuators - Left Front Side (PRP)
Table 2: Access Panel Actuators - Left Rear Side (PRP)
Table 3: Access Panel Actuators - Right Side (PRP)

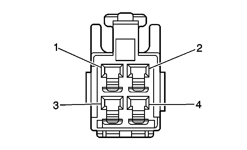
Access Panel Actuators - Left Front Side (PRP)


Object Number: 888268  Size: CH

Connector Part Information

    • 7283-1040-90
    • 4-Way F Yazaki (BLU)

Pin

Wire Color

Circuit No.

Function

1-2

--

--

Not Used

3

TAN

294

Access Panel Left Front Side Unlock Control

4

BLK

750

Ground

Access Panel Actuators - Left Rear Side (PRP)


Object Number: 888268  Size: CH

Connector Part Information

    • 7283-1040-90
    • 4-Way F Yazaki (BLU)

Pin

Wire Color

Circuit No.

Function

1-2

--

--

Not Used

3

PNK

1092

Access Panel Left Rear Side Unlock Control

4

BLK

750

Ground

Access Panel Actuators - Right Side (PRP)


Object Number: 888268  Size: CH

Connector Part Information

    • 7283-1040-90
    • 4-Way F Yazaki (BLU)

Pin

Wire Color

Circuit No.

Function

1-2

--

--

Not Used

3

TAN/BLK

1095

Access Panel Right Side Unlock Control

4

BLK

750

Ground