GM Service Manual Online
For 1990-2009 cars only

Removal Procedure

    Caution: Do not strike or jolt the inflatable restraint front end sensor. Before applying power to the front end sensor make sure that it is securely fastened. Failure to observe the correct installation procedure could cause SIR deployment, personal injury, or unnecessary SIR system repairs.

  1. Disable the SIR. Refer to SIR Disabling and Enabling .
  2. Raise the vehicle and support. Refer to Lifting and Jacking the Vehicle in General Information.

  3. Object Number: 854335  Size: SH
  4. Remove the connector position assurance (CPA) from the inflatable restraint front end discriminating sensor electrical connector.
  5. Disconnect the inflatable restraint front end sensor electrical connector.
  6. Important: The fastener has a left hand thread.

  7. Loosen the inflatable restraint front end sensor mounting nut (1).

  8. Object Number: 854235  Size: SH
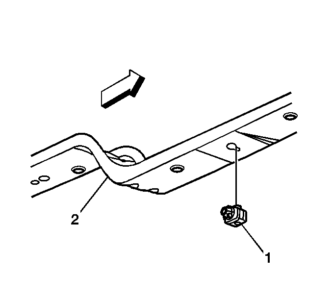
  9. Slide the inflatable restraint front end sensor (1) towards the front of the vehicle.
  10. Remove the sensor (1) from the keyhole slot in the lower radiator support (2).

Installation Procedure

  1. Remove any dirt, grease, or other impurities from the mounting surface.
  2. Point the arrow on the sensor toward the front of the vehicle.

  3. Object Number: 854235  Size: SH
  4. Install the inflatable restraint front end sensor (1) into the keyhole slot in lower radiator support (2).
  5. Notice: Refer to Fastener Notice in the Preface section.


    Object Number: 854335  Size: SH
  6. Push the sensor towards the rear of the vehicle to seat the sensor in the keyhole slot in the lower radiator support (2).
  7. Tighten
    Tighten the nut (1) to 10 N·m (89 lb in).

  8. Connect the inflatable restraint front end sensor electrical connector.
  9. Install the CPA to the electrical connector.
  10. Remove the safety stands and lower the vehicle.
  11. Enable the SIR system. Refer to SIR Disabling and Enabling .