GM Service Manual Online
For 1990-2009 cars only

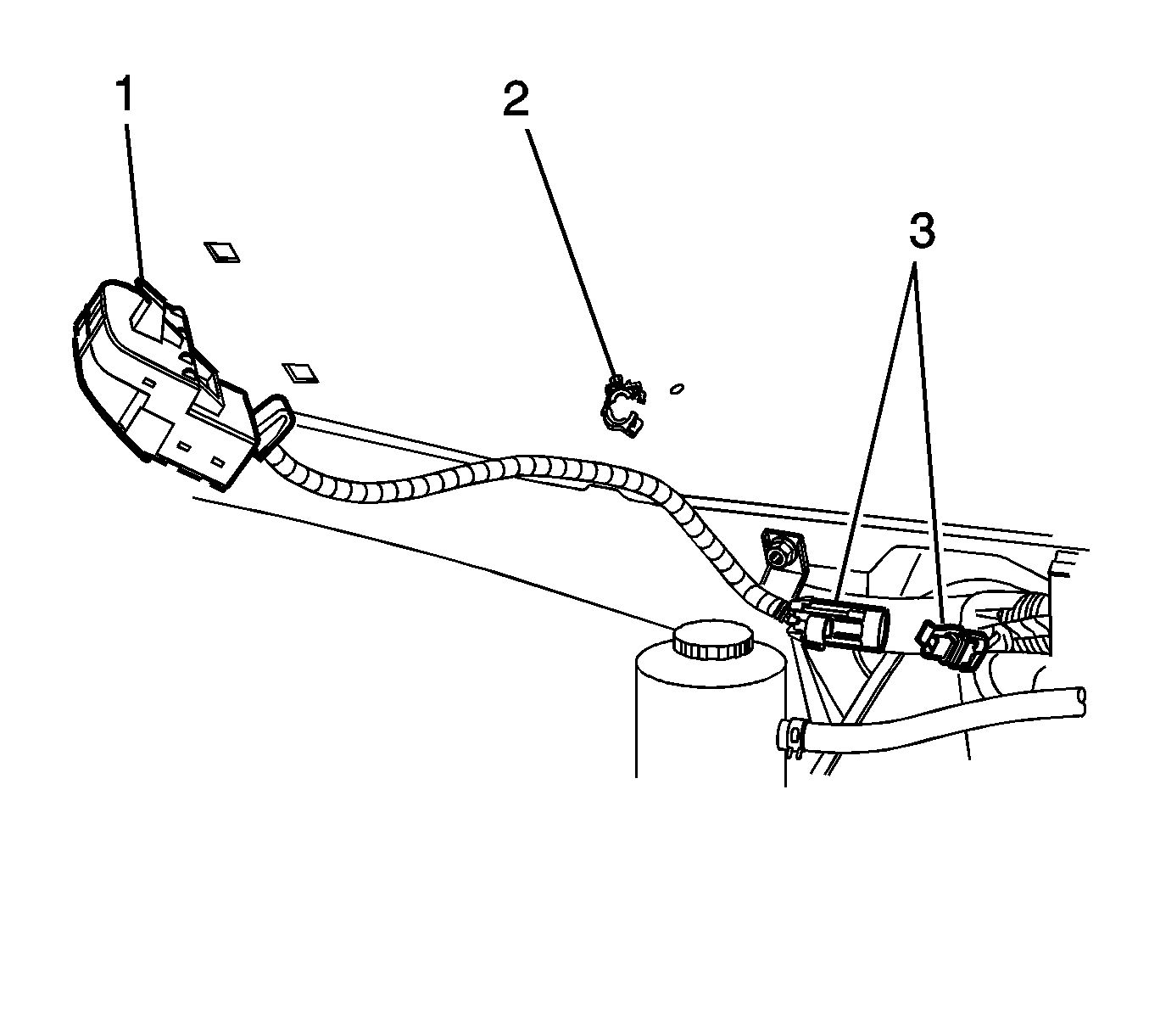
Removal Procedure


    Object Number: 1208129  Size: SH
  1. Disconnect the electrical connector (3) from the underhood lamp (1).
  2. Release the retaining clip (2).
  3. Remove the underhood lamp (1).

Installation Procedure


    Object Number: 1208129  Size: SH
  1. Install the underhood lamp (1).
  2. Install the electrical connector cord into the retaining clip (2) and close to retain the cord.
  3. Connect the electrical connector (3) to the underhood lamp (1).