GM Service Manual Online
For 1990-2009 cars only

Removal Procedure


    Object Number: 497992  Size: SH
  1. Remove the wiper arms. Refer to Windshield Wiper Arm Replacement .
  2. Remove the air inlet grille panel. Refer to Air Inlet Grille Panel Replacement .
  3. Disconnect the electrical connector from the wiper motor.

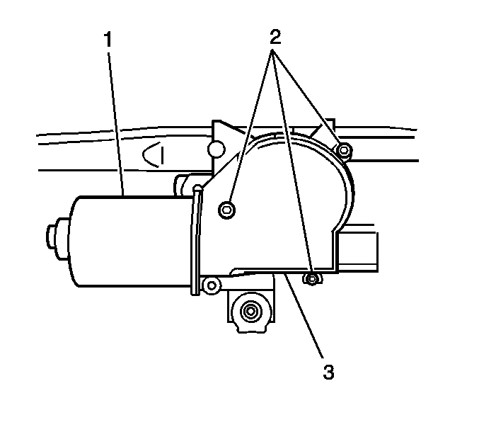
  4. Object Number: 781418  Size: SH
  5. Remove the 3 screws (2) and the wiper motor cover (3) from the wiper motor (1).
  6. Remove the wiper motor cover (3).

Installation Procedure

    Notice: Refer to Fastener Notice in the Preface section.


    Object Number: 497995  Size: SH
  1. Install the wiper motor cover onto the wiper motor with the 3 screws.
  2. Tighten
    Tighten the screws to 3 N·m (26 lb in).


    Object Number: 497992  Size: SH
  3. Connect the electrical connector to the wiper motor.
  4. Install the air inlet grille panel. Refer to Air Inlet Grille Panel Replacement .
  5. Install the wiper arms. Refer to Windshield Wiper Arm Replacement .
  6. Operate the wipers and inspect for proper operation.