GM Service Manual Online
For 1990-2009 cars only

Product Safety - Wheel Bearing Assembly Retaining Nut Missing

Subject:02053A -- Wheel Bearing Assembly Retaining Nut Missing

Models:2003 Chevrolet Express 2500/3500 Series
2003 GMC Savana 2500/3500 Series



DUST CAPS USED IN THIS RECALL ARE NOW AVAILABLE THROUGH GMSPO. THE SERVICE PROCEDURE HAS BEEN REVISED TO INCLUDE THE REPLACEMENT OF THE DUST CAPS INSTEAD OF REINSTALLING THE ORIGINAL ONES. PLEASE DISCARD ALL COPIES OF BULLETIN 02053 ISSUED NOVEMBER 2002.


Condition

General Motors has decided that a defect which relates to motor vehicle safety exists in certain 2003 model year Chevrolet Express and GMC Savana vehicles. Some of these vehicles were built without a wheel bearing assembly retaining nut, which could lead to a possible bearing separation. If this were to occur, the amber-colored ABS telltale lamp in the instrument cluster would illuminate and the ABS system would be disabled. The driver would also notice a grinding noise, a decrease in vehicle speed, and the steering will pull in the direction of the affected brake assembly. Failure to heed these warnings can result in loss of vehicle control and a vehicle crash could occur.

To reduce the possibility of losing control due to this condition, the customer should avoid driving over 35 mph or during inclement weather. If the amber-colored ABS telltale lamp illuminates or a grinding noise is heard, the driver should immediately pull off of the road and call Roadside Assistance to have their vehicle towed to the nearest GM dealer for repair.

Correction

Dealers are to inspect the wheel bearing assembly. If the inspection reveals a missing retaining nut, replace the wheel bearing assembly.

Vehicles Involved

Involved are certain 2003 model year Chevrolet Express and GMC Savana vehicles built within these VIN breakpoints.

Year

Division

Model

Plant

From

Through

2003

Chevrolet

Express

Wentzville

31100003

31131813

2003

GMC

Savana

Wentzville

31100008

31131812

Important: Dealers should confirm vehicle eligibility through GMVIS (GM Vehicle Inquiry System) or GM Access Screen (Canada only) or DCS Screen 445 (IPC only) before beginning recall repairs. [Not all vehicles within the above breakpoints may be involved.]

Involved vehicles have been identified by Vehicle Identification Number. Computer listings containing the complete Vehicle Identification Number, customer name and address data have been prepared, and are being furnished to involved dealers with the recall bulletin. The customer name and address data furnished will enable dealers to follow-up with customers involved in this recall. Any dealer not receiving a computer listing with the recall bulletin has no involved vehicles currently assigned.

These dealer listings may contain customer names and addresses obtained from Motor Vehicle Registration Records. The use of such motor vehicle registration data for any other purpose is a violation of law in several states/provinces/countries. Accordingly, you are urged to limit the use of this listing to the follow-up necessary to complete this recall.

Parts Information

Parts required to complete this recall are to be obtained from General Motors Service Parts Operations (GMSPO). Please refer to your "involved vehicles listing" before ordering parts. Normal orders should be placed on a DRO=Daily Replenishment Order. In an emergency situation, parts should be ordered on a CSO=Customer Special Order.

Part Number

Description

Qty

25762218

Cap, F/Axl Hub (Dust Cap)

2

Service Procedure

The following service procedure describes how to inspect for the presence of a nut on the backside of the front wheel hub and bearing assembly. The inspection procedure must be done on BOTH front wheels.

  1. Raise the vehicle on a suitable hoist.
  2. Remove the hub cap and wheel and tire assembly.
  3. Important: On vehicles equipped with dual rear wheels, remove the wheel extension from the front hub in the next step.

  4. If equipped, remove the 8 nuts attaching the wheel extension to the hub and bearing assembly and remove the extension.
  5. Important: Do not remove the brake caliper from the caliper mounting bracket. Remove the brake caliper and mounting bracket as an assembly in the next step.

  6. Remove the two bolts attaching the brake caliper mounting bracket to the knuckle.
  7. Remove the brake caliper and mounting assembly from the knuckle, and support as necessary.
  8. Disconnect the wheel speed sensor electrical connector from the vehicle harness connector.
  9. Release the ABS sensor harness from the retainers.
  10. Remove the clips securing the brake rotor to the hub and remove the rotor.
  11. From the backside of the knuckle, remove the four bolts attaching the hub and bearing assembly to the knuckle.
  12. Important: The brake rotor backing plate will also come off when removing the hub and bearing assembly in the next step.

  13. Remove the hub and bearing assembly and backing plate from the knuckle.
  14. Place the hub and bearing assembly on a suitable work surface with the lug nut studs facing down.

  15. Object Number: 1200623  Size: MF
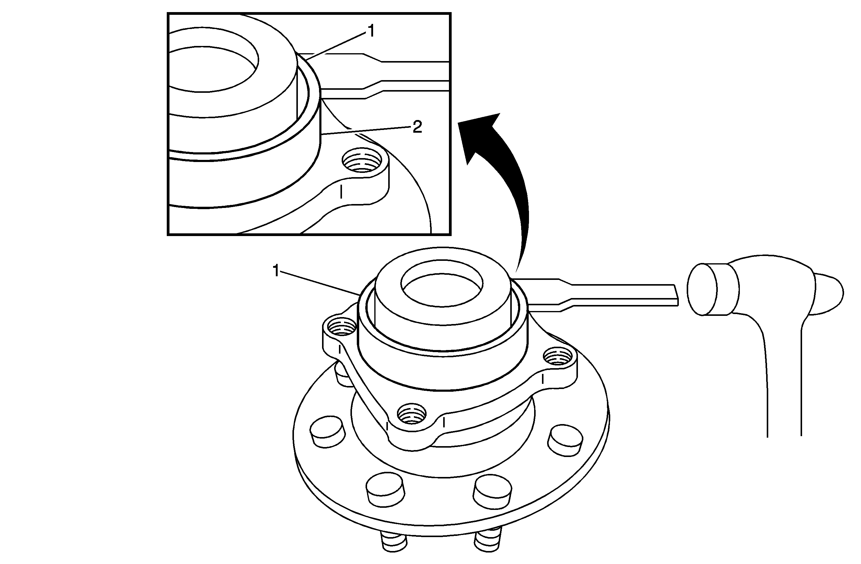
  16. Using a flat bladed tool (e.g., gasket scraper or stiff putty knife) and mallet, carefully pry the edge of the dust cap up from the hub. Continue working your way around the dust cap until it disengages from the hub.

  17. Object Number: 1200624  Size: MH
  18. Remove the dust cap and inspect for the presence of a spanner nut (1) on the threaded shaft.
  19. • If hub and bearing assembly HAS the spanner nut (1), then proceed to the next step and install a new dust cap.
    • If a hub and bearing assembly DOES NOT have the spanner nut (2), then the hub and bearing assembly must be replaced. Replacement hub and bearing assemblies do NOT need to be inspected. Therefore, do NOT remove the dust cap on a replacement assembly. Proceed to Step 15 after obtaining a new hub and bearing assembly.

    Object Number: 1200625  Size: MF
  20. Carefully install a new dust cap on the hub (3) using a drift (1) and mallet around the perimeter (2).
  21. Position the backing plate to the knuckle and install the hub and bearing assembly to the knuckle with the wheel speed sensor harness at the top.
  22. Install the four bolts that attach the hub and bearing assembly to the knuckle.
  23. Tighten
    Tighten the bolts to 180 N·m (133 lb ft).

  24. Route the wheel speed sensor harness and secure with retainers.
  25. Connect the wheel speed sensor electrical connector to the vehicle harness connector.
  26. Install the brake rotor on the hub.
  27. Position and install the brake caliper and mounting bracket on the knuckle.
  28. Apply a drop of sealer, P/N 12345493 (Goodwrench Threadlocker #272) on the two bolts that attach the brake caliper mounting bracket to the knuckle. Install the bolts.
  29. Tighten
    Tighten the bolts to 300 N·m (221 lb ft).

  30. If equipped, install the wheel extension to the hub and bearing assembly and install the 8 nuts.
  31. Tighten
    Tighten to 130 N·m (96 lb ft).

  32. Install the wheel and tire assembly and hub cap.
  33. Tighten
    Tighten the lug nuts to 190 N·m (140 lb ft).

  34. Lower the vehicle.

Floor Plan Reimbursement

Dealers in possession of vehicles included in the Stop Delivery are eligible for reimbursement of floor plan expense upon completion of this recall. This reimbursement is limited to the number of days from the Stop Delivery message to receipt of the recall parts and/or repair procedures. Floor plan reimbursement beyond these dates is not allowed. The amount of reimbursement should be charged as a net amount expense using the recall labor operation provided.

Courtesy Transportation

The General Motors Courtesy Transportation program is intended to minimize customer inconvenience when a vehicle requires a repair that is covered by the New Vehicle Limited Warranty. The availability of courtesy transportation to customers whose vehicles are within the warranty coverage period and involved in a product program is very important in maintaining customer satisfaction. Dealers are to ensure that these customers understand that shuttle service or some other form of courtesy transportation is available and will be provided at no charge. Dealers should refer to the General Motors Service Policies and Procedures Manual for Courtesy Transportation guidelines.

Claim Information

Submit a Product Recall Claim with the information indicated below:

Repair Performed

Part Count

Part No.

Parts Allow

CC-FC

Labor Op

Labor Hours*

Net Item

Inspect Both Wheel Bearings, No Further Action Req'd

Add: Dual Rear Wheels

2

--

**

MA-96

V0931

1.2

0.3

N/A

Inspect Both Wheel Bearings, Replace 1 or 2 Wheel Bearings

Add: Dual Rear Wheels

--

--

**

MA-96

V0932

1.1

0.3

N/A

Courtesy Transportation

N/A

N/A

N/A

MA-96

***

N/A

****

Floor Plan Reimbursement

N/A

N/A

N/A

MA-96

V0933

N/A

*****

* -- For Recall Administrative Allowance, add 0.1 hours to the "Labor Hours".

** -- The "Parts Allowance" should be the sum total of the current GMSPO Dealer net price plus applicable Mark-Up or Landed Cost Mark-Up (for IPC) for the parts needed to complete the repair.

*** -- Submit courtesy transportation using normal labor operations for courtesy transportation as indicated in the GM Service Policies and Procedures Manual.

**** -- The amount identified in the "Net Item" column should represent the actual dollar amount for courtesy transportation.

***** -- The amount identified in the "Net Item" column should represent the dollar amount shown below:

    • Vehicle:Chevrolet Express/Reimbursement Amount: $3.66 US ($3.65 Canada)
    • Vehicle: GMC Savana/Reimbursement Amount:$4.19 US ($3.65 Canada)

Refer to the General Motors WINS Claims Processing Manual for details on Product Recall Claim Submission.

Customer Notification -- For US

General Motors customers will be notified of this recall on their vehicles by General Motors (see copy of customer letter included with this bulletin). In addition, the Chevrolet and GMC Outbound Calling Centers will be contacting owners of any involved vehicles via telephone.

Customer Notification -- For Canada

General Motors customers will be notified of this recall on their vehicles by General Motors (see copy of customer letter included with this bulletin).

Customer Notification -- For IPC

Letters will be sent to known owners of record located within areas covered by the US National Traffic and Motor Vehicle Safety Act. For owners outside these areas, dealers should notify customers using the attached sample letter.

Dealer Recall Responsibility -- For US and IPC (US States, Territories, and Possessions)

The US National Traffic and Motor Vehicle Safety Act provides that each vehicle which is subject to a recall of this type must be adequately repaired within a reasonable time after the customer has tendered it for repair. A failure to repair within sixty days after tender of a vehicle is prima facie evidence of failure to repair within a reasonable time. If the condition is not adequately repaired within a reasonable time, the customer may be entitled to an identical or reasonably equivalent vehicle at no charge or to a refund of the purchase price less a reasonable allowance for depreciation. To avoid having to provide these burdensome remedies, every effort must be made to promptly schedule an appointment with each customer and to repair their vehicle as soon as possible. In the recall notification letters, customers are told how to contact the US National Highway Traffic Safety Administration if the recall is not completed within a reasonable time.

Dealer Recall Responsibility -- For All

All unsold new vehicles in dealers' possession and subject to this recall MUST be held and inspected/repaired per the service procedure of this recall bulletin BEFORE customers take possession of these vehicles.

Dealers are to service all vehicles subject to this recall at no charge to customers, regardless of mileage, age of vehicle, or ownership, from this time forward.

Customers who have recently purchased vehicles sold from your vehicle inventory, and for which there is no customer information indicated on the dealer listing, are to be contacted by the dealer. Arrangements are to be made to make the required correction according to the instructions contained in this bulletin. This could be done by mailing to such customers a copy of the customer letter accompanying this bulletin. Recall follow-up cards should not be used for this purpose, since the customer may not as yet have received the notification letter.

In summary, whenever a vehicle subject to this recall enters your vehicle inventory, or is in your dealership for service in the future, please take the steps necessary to be sure the recall correction has been made before selling or releasing the vehicle.

November, 2002

Dear General Motors Customer:

This notice is sent to you in accordance with the requirements of the National Traffic and Motor Vehicle Safety Act.

Reason For This Recall

General Motors has decided that a defect which relates to motor vehicle safety exists in certain 2003 model year Chevrolet Express and GMC Savana vehicles. Some of these vehicles were built without a wheel bearing assembly retaining nut, which could lead to a possible bearing separation. If this were to occur, the amber-colored ABS telltale lamp in the instrument cluster would illuminate and the ABS system would be disabled. The driver would also notice a grinding noise, a decrease in vehicle speed, and the steering will pull in the direction of the affected brake assembly. Failure to heed these warnings can result in loss of vehicle control and a vehicle crash could occur.

To reduce the possibility of losing control due to this condition, you should avoid driving over 35 mph or during inclement weather. If the amber-colored ABS telltale lamp illuminates or you hear a grinding noise, you should immediately pull off of the road and call Roadside Assistance at the appropriate number below to have your vehicle towed to the nearest GM dealer for repair.

Division

Number

Text Telephone

Chevrolet

1-800-CHEV-USA

(1-800-243-8872)

1-888-889-2438

GMC

1-800-GMC-8782

(1-800-462-8782)

1-888-889-2438

What Will Be Done

Your GM dealer will inspect the wheel bearing assembly. If the inspection reveals a missing retaining nut, the wheel bearing assembly will be replaced. This service will be performed for you at no charge .

How Long Will The Repair Take?

The length of time required to perform this inspection and service correction, if required, is approximately 1 hour and 15 minutes. Additional time may be required to schedule and process your vehicle. If you dealer has a large number of vehicles awaiting service, this additional time may be significant. Please ask your dealer if you wish to know how much additional time will be needed to schedule, process and repair your vehicle.

Contacting Your Dealer

Please contact your dealer as soon as possible to arrange a service date. Parts are available and instructions for making this correction have been sent to your dealer.

Your dealer is best equipped to obtain parts and provide services to correct your vehicle as promptly as possible. Should your dealer be unable to schedule a service date within a reasonable time, you should contact the appropriate Customer Assistance Center at the number listed below:

Division

Number

Deaf, Hearing Impaired, or Speech Impaired*

Chevrolet

1-800-222-1020

1-800-833-2438

GMC

1-800-462-8782

1-800-462-8583

GMODC

(905)644-4112

 

Puerto Rico - English

1-800-496-9992

 

Puerto Rico - EspaƱol

1-800-496-9993

 

Virgin Islands

1-800-496-9994

 

* Utilizes Telecommunication Devices for the Deaf/Text Telephones (TDD/TTY)

If, after contacting the appropriate customer assistance center, you are still not satisfied that we have done our best to remedy this condition without charge and within a reasonable time, you may wish to write the Administrator, National Highway Traffic Safety Administration, 400 Seventh Street SW, Washington, DC 20590 or call 1-888-327-4236.

Courtesy Transportation

If your vehicle is within the New Vehicle Limited Warranty your dealer may provide you with shuttle service or some other form of courtesy transportation while your vehicle is at the dealership for this repair. Please refer to your Owner's Manual and your dealer for details on Courtesy Transportation.

We are sorry to cause you this inconvenience; however, we have taken this action in the interest of your safety and continued satisfaction with our products.

General Motors Corporation

Enclosure