The pressure control (PC) solenoid valve is a powertrain control module (PCM) controlled device that regulates the transmission line pressure. The PCM compares throttle position (TP) sensor voltage, engine RPM, and other inputs in order to determine the appropriate line pressure for a given load. The PCM regulates line pressure by applying a varying duty cycle to the PC solenoid valve based on the resistance of the solenoid, and the amperage needed to obtain optimum line pressure. The applied amperage varies from 0.1 amps for maximum line pressure to 1.1 amps for minimum line pressure.
If the PCM detects a PC duty cycle that exceeds 95 percent or less than 0.5 percent, then DTC P0748 sets. DTC P0748 is a type C DTC.
| • | The system voltage is greater than 11 volts at -40°C (40°F) TFT or 12 volts at 150°C (302°F) TFT. |
| • | The engine must be running more than 300 RPM for at least 7 seconds, and not in fuel cut-off. |
| • | The pressure control solenoid is enabled. |
| • | The PC duty cycle exceeds 95 percent or is less than 0.5 percent. |
| • | All conditions are met for 700 milliseconds (0.7 seconds). |
| • | The PCM does not illuminate the malfunction indicator lamp (MIL). |
| • | The PCM disables the PC solenoid valve, defaulting the transmission to maximum line pressure. |
| • | The PCM freezes shift adapts. |
| • | The PCM records the operating conditions when the Conditions for Setting the DTC are met. The PCM stores this information as Failure Records. |
| • | The PCM stores DTC P0748 in PCM history. |
| • | A scan tool clears the DTC from PCM history. |
| • | The PCM clears the DTC from PCM history if the vehicle completes 40 warm-up cycles without a non-emission related diagnostic fault occurring. |
| • | The PCM cancels the DTC default actions when the fault no longer exists and the ignition switch is OFF long enough in order to power down the PCM. |
| • | Inspect for improperly wired aftermarket equipment. |
| • | DTC P0748 defaults to an elevated line pressure condition which may result in partial TCC apply. This may produce an idle surge that could stall the engine. |
The numbers below refer to the step numbers on the diagnostic table.
This step tests the ability of the PCM to command the PC solenoid valve.
This step tests the PC solenoid valve and the AT wiring harness assembly for incorrect resistance.
Step | Action | Value(s) | Yes | No |
|---|---|---|---|---|
1 | Did you perform the Diagnostic System Check - Engine Controls? | -- | Go to Step 2 | Go to Diagnostic System Check - Engine Controls in Engine Controls - 4.8L, 5.3L, and 6.0L |
Important: Before clearing the DTC, use the scan tool in order to record the Failure Records. Using the Clear Info function erases the Failure Records from the PCM. Refer to Line Pressure . Does the PC Sol. Actual Current differ from the PC Sol. Ref. Current by more than the specified value? | 0.16 amp | Go to Intermittent Conditions in Engine Controls - 4.8L, 5.3L, and 6.0L | Go to Step 3 | |
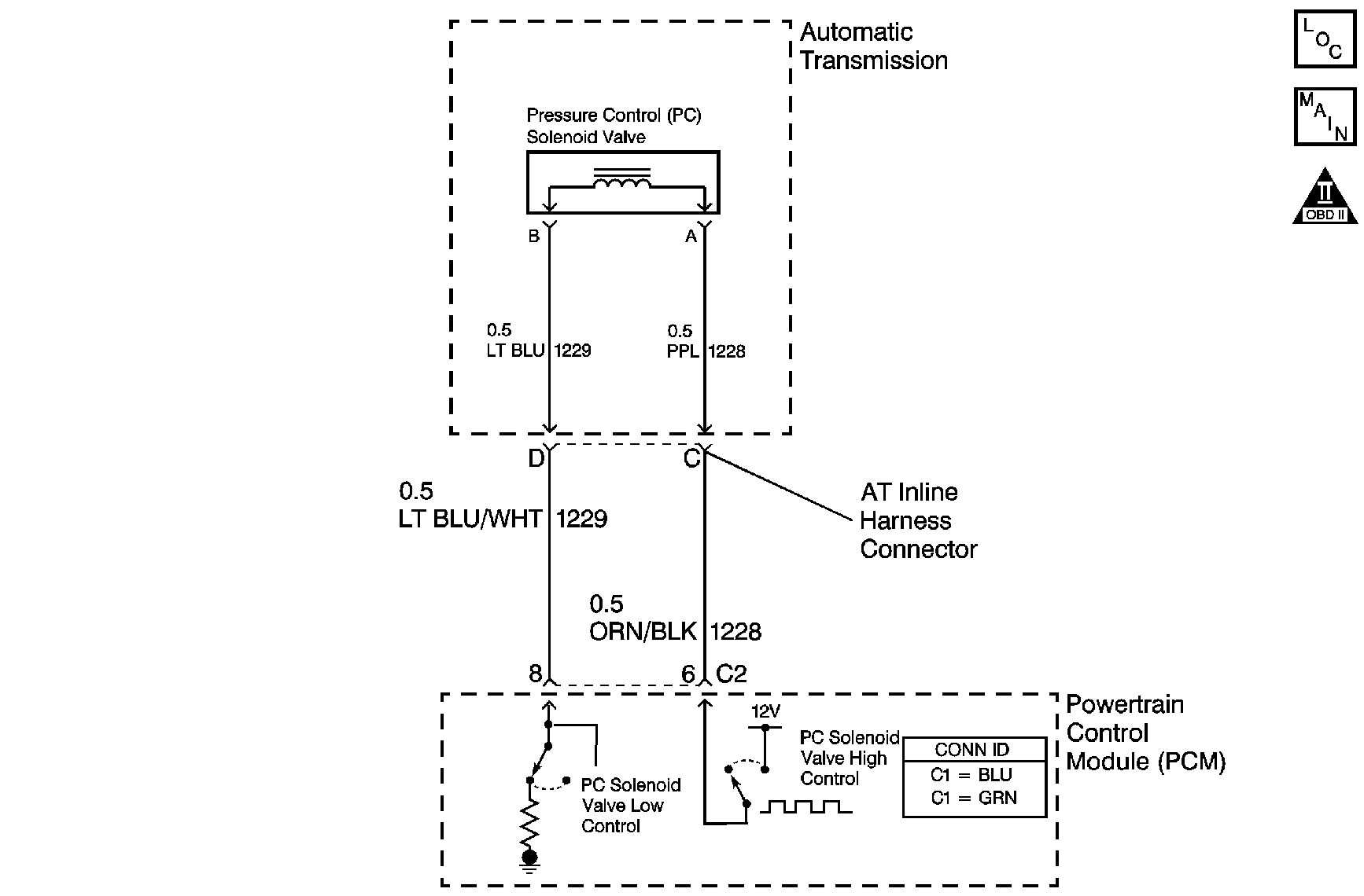
Refer to Automatic Transmission Inline 20-Way Connector End View . Does the resistance measure within the specified range? | 3-7 ohms | Go to Step 5 | Go to Step 4 | |
4 | Does the resistance measure greater than the specified value? | 7 ohms | Go to Step 9 | Go to Step 10 |
5 | Measure the resistance from terminal C of the J 44152 to the transmission case. Refer to Automatic Transmission Inline 20-Way Connector End View . Does the resistance measure greater than the specified value? | 250 K ohms | Go to Step 6 | Go to Step 11 |
6 |
Does the resistance measure within the specified range? | 3-7 ohms | Go to Step 8 | Go to Step 7 |
7 | Does the resistance measure greater than the specified value? | 7 ohms | Go to Step 12 | Go to Step 13 |
8 | Using the DMM and the J 35616 , measure the resistance from PCM connector terminal C2-6 to ground. Does the resistance measure greater than the specified value? | 250 K ohms | Go to Step 17 | Go to Step 14 |
9 | Test the high control circuit (CKT 1228) and the low control circuit (CKT 1229) of the PC solenoid valve for an open between the AT inline 20-way connector and the PC solenoid valve. Refer to Testing for Continuity in Wiring Systems. Did you find an open condition? | -- | Go to Step 16 | Go to Step 15 |
10 | Test the high control circuit (CKT 1228) and the low control circuit (CKT 1229) of the PC solenoid valve for a shorted together condition between the AT inline 20-way connector and the PC solenoid valve. Refer to Circuit Testing in Wiring Systems. Did you find a shorted together condition? | -- | Go to Step 16 | Go to Step 15 |
11 | Test the high control circuit (CKT 1228) and the low control circuit (CKT 1229) of the PC solenoid valve for a short to ground between the AT inline 20-way connector and the PC solenoid valve. Refer to Testing for Short to Ground in Wiring Systems. Did you find a short to ground condition? | -- | Go to Step 16 | Go to Step 15 |
12 | Test the high control circuit (CKT 1228) and the low control circuit (CKT 1229) of the PC solenoid valve for an open between the PCM connector C2 and the AT inline 20-way connector. Refer to Testing for Continuity and Wiring Repairs in Wiring Systems. Did you find and correct the condition? | -- | Go to Step 19 | -- |
13 | Test the high control circuit (CKT 1228) and the low control circuit (CKT 1229) of the PC solenoid valve for a shorted together condition between the PCM connector C2 and the AT inline 20-way connector. Refer to Circuit Testing and Wiring Repairs in Wiring Systems. Did you find and correct the condition? | -- | Go to Step 19 | -- |
14 | Test the high control circuit (CKT 1228) and the low control circuit (CKT 1229) of the PC solenoid valve for a short to ground between the PCM connector C2 and the AT inline 20-way connector. Refer to Testing for Short to Ground and Wiring Repairs in Wiring Systems. Did you find and correct the condition? | -- | Go to Step 19 | -- |
15 | Replace the PC solenoid valve. Refer to Valve Body and Pressure Switch Replacement . Did you complete the replacement? | -- | Go to Step 19 | -- |
16 | Replace the AT wiring harness assembly. Refer to Valve Body and Pressure Switch Replacement . Did you complete the replacement? | -- | Go to Step 19 | -- |
17 | Test the high control circuit (CKT 1228) and the low control circuit (CKT 1229) of the PC solenoid for a short to voltage. Refer to Testing for a Short to Voltage and Wiring Repairs in Wiring Systems. Did you find and correct the condition? | -- | Go to Step 19 | Go to Step 18 |
18 | Replace the PCM. Refer to Powertrain Control Module Replacement in Engine Controls - 4.8L, 5.3L, and 6.0L. Did you complete the replacement? | -- | Go to Step 19 | -- |
19 | Perform the following procedure in order to verify the repair:
The difference between the scan tool PC Sol. Actual Current and the PC Sol. Ref. Current is less than 0.16 amp. Has the test run and passed? | -- | Go to Step 20 | Go to Step 2 |
20 | With the scan tool, observe the stored information, capture info and DTC info. Does the scan tool display any DTCs that you have not diagnosed? | -- | Go to Diagnostic Trouble Code (DTC) List in Engine Controls - 4.8L, 5.3L, and 6.0L | System OK |