GM Service Manual Online
For 1990-2009 cars only

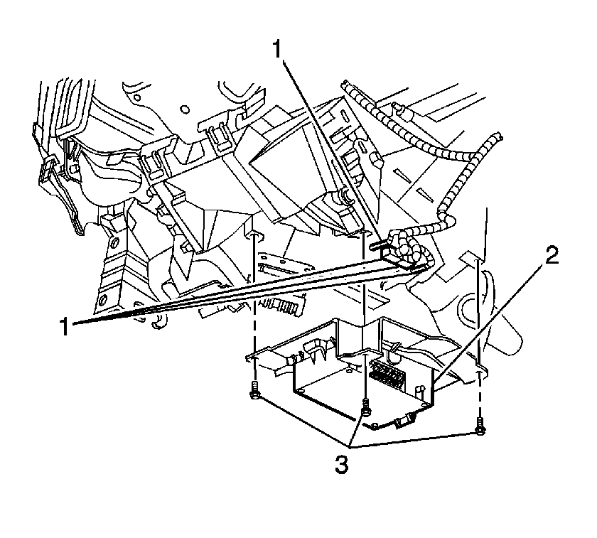
Removal Procedure


    Object Number: 871220  Size: SH

    Important: Do not exchange the vehicle communication interface module with other vehicles. Each vehicle communication interface module has a specific station identification (STID) and electronic serial number (ESN). These identification numbers are stored in the General Motors vehicle history files by VIN and used by OnStar® and the National Cellular Telephone Network.

  1. Remove the drivers knee bolster. Refer to Driver Knee Bolster Replacement in Instrument Panel, Gages, and Console.
  2. Disconnect the coaxial cable and the electrical connectors (2) from the module.
  3. Remove the bolts (3) retaining the module bracket to the instrument panel (I/P).
  4. Remove the module and bracket (2) from the vehicle.

  5. Object Number: 871219  Size: SH
  6. Release the tab (2) on the mounting bracket and pull that end of the module (3) away from the bracket.
  7. Slide the module (3) out of the mounting bracket (1).

Installation Procedure


    Object Number: 871219  Size: SH
  1. Slide the module (3) into the mounting bracket (1).
  2. Push the module (3) towards the mounting bracket (1) at the end near the tab (2).
  3. Push until the module (3) is seated in the mounting bracket (1).


    Object Number: 871220  Size: SH
  4. Install the module and bracket (2) to the I/P.
  5. Notice: Refer to Fastener Notice in the Preface section.

  6. Install the bolts (3).
  7. Tighten
    Tighten the bolts (3) to 3 N·m (27 lb in).

  8. Connect the coaxial cable and the electrical connectors (2) to the module.
  9. Install the drivers knee bolster. Refer to Driver Knee Bolster Replacement in Instrument Panel, Gages, and Console.