Callout | Component Name |
|---|---|
Preliminary Procedures
| |
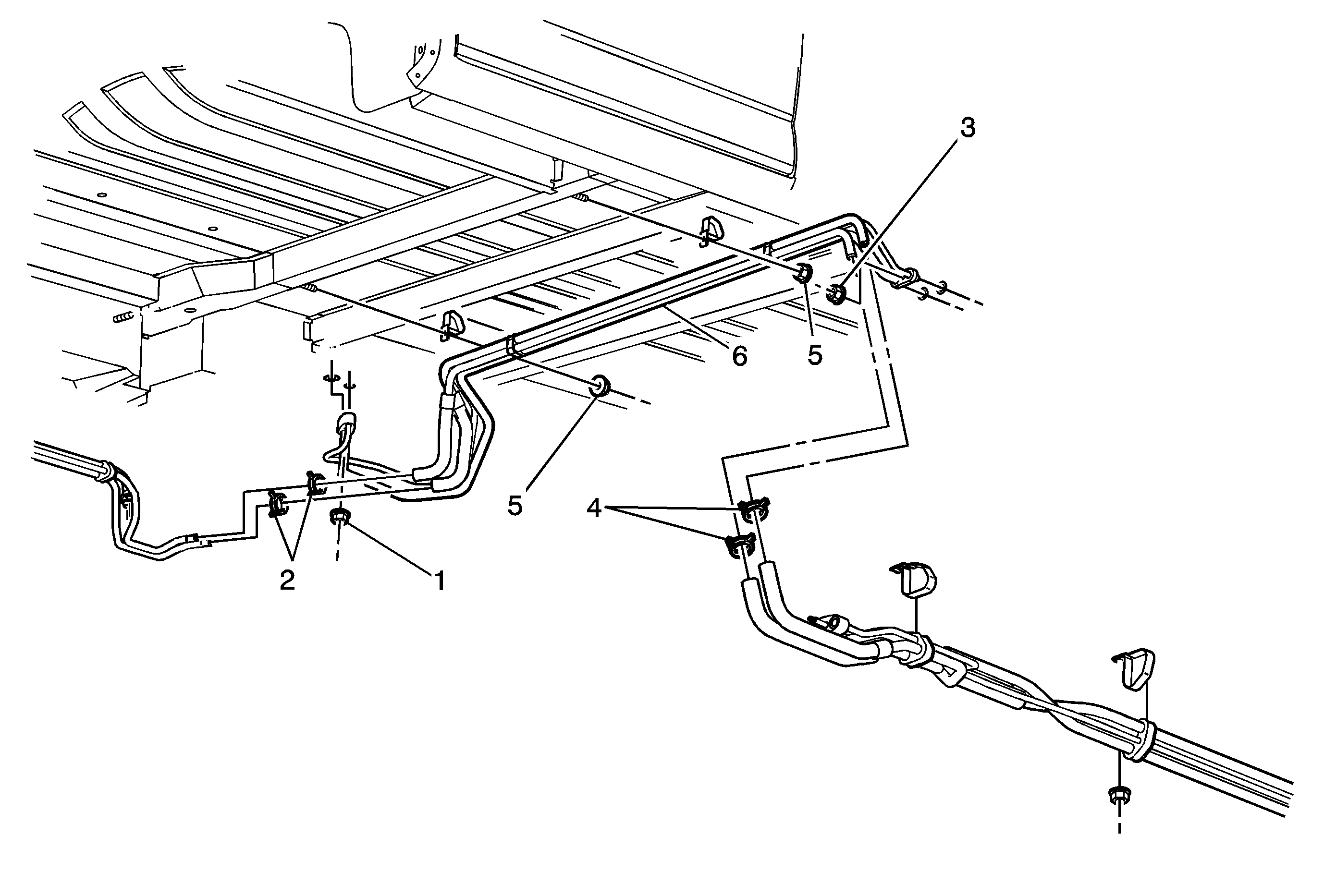
1 | Auxiliary A/C Evaporator Nut Notice: Refer to Fastener Notice in the Preface section. Tighten |
2 | Auxiliary Heater Hose Clamp (Qty:2) |
3 | Auxiliary A/C Evaporator Nut Tighten |
4 | Auxiliary Heater Hose Clamp (Qty:2) |
5 | Auxiliary A/C and Heater Hose Bracket Nut (Qty:2) Tighten |
6 | Auxiliary A/C Evaporator and Auxiliary Heater (Intermediate) Hose |
Callout | Component Name |
|---|---|
Preliminary Procedures
| |
1 | Auxiliary A/C Evaporator Nut Notice: Refer to Fastener Notice in the Preface section. Tighten |
2 | Auxiliary Heater Hose Clamp (Qty:2) |
3 | Auxiliary A/C Evaporator Nut Tighten |
4 | Auxiliary Heater Hose Clamp (Qty:2) |
5 | Auxiliary A/C and Heater Hose Bracket Nut (Qty:2) Tighten |
6 | Auxiliary A/C Evaporator and Auxiliary Heater (Intermediate) Hose |