GM Service Manual Online
For 1990-2009 cars only

Passenger Van

There are top strap anchors for each seating position in the second row and for the center seating positions in the third and fourth row (if equipped with three-passenger bench seats). The anchors are located at the bottom rear of the seat cushion.

Do not secure a child restraint in the right front passenger's position, the outside seating positions of the third and fourth rows (if equipped with three-passenger bench seats), or in any four-passenger rear bench seat, if a national or local law requires that the top strap be anchored, or if the instructions that come with the child restraint say that the top strap must be anchored. There is no place to anchor the top strap in these positions.

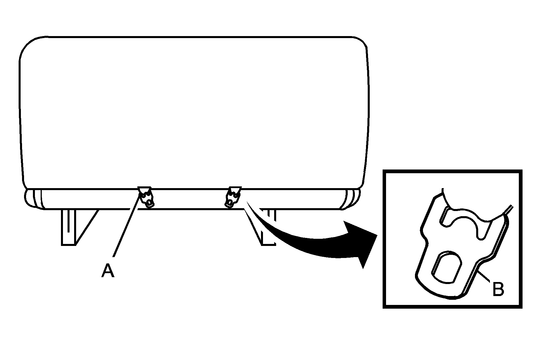
Second Row


Object Number: 1440523  Size: B3

For the second row only, in the left outboard seating position, use anchor point (A). For the right outboard seating position, use anchor point (B). For a center seating position, use either anchor point (A) or (B). Do not use one anchor for more than one top strap.

Third and Fourth Row


Object Number: 1554494  Size: B3

For three-passenger bench seats in the third row and fourth row (if equipped), there is one anchor (A) to be used only with the center seating position.

Passenger Van with an Airbag Off Switch or Cargo Van

Passenger Van with an Airbag Off Switch or Cargo Van


Object Number: 1440521  Size: B3

On passenger vans with an airbag off switch or on cargo vans with a front passenger seat, the anchor for a top strap is located at the rear of the seat cushion on the right front passenger's seat.