GM Service Manual Online
For 1990-2009 cars only

Object Number: 1442854  Size: MF
Master Electrical Component List
Automatic Transmission Controls Schematics
OBD II Symbol Description Notice

Circuit Description

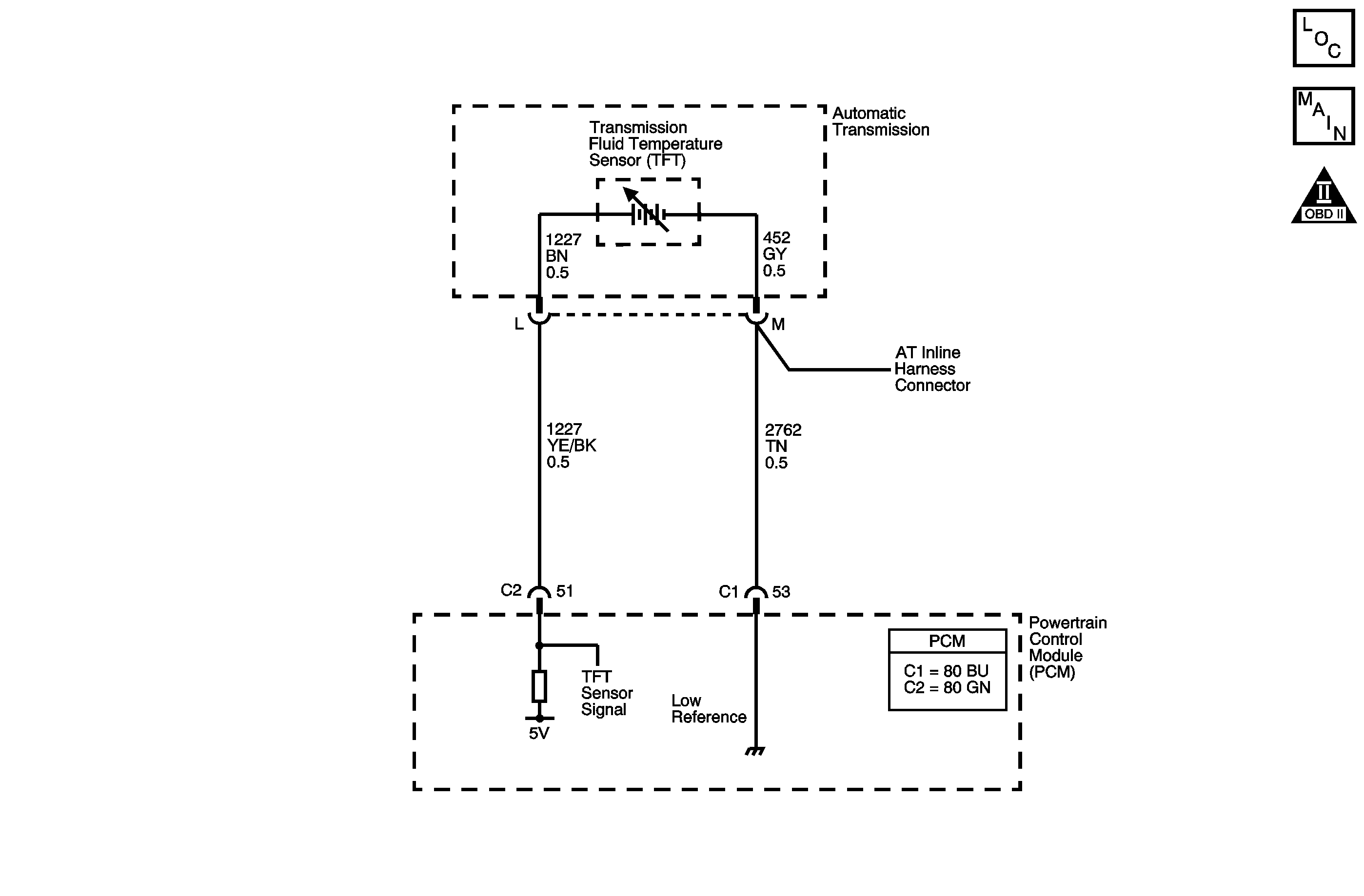
The automatic transmission fluid temperature (TFT) sensor is part of the 4L80-E automatic transmission (AT) wiring harness assembly. The TFT sensor is a resistor, or thermistor, which changes value based on temperature. The sensor has a negative temperature coefficient. This means that as the temperature increases, the resistance decreases, and as the temperature decreases the resistance increases. The powertrain control module (PCM) supplies a 5 volt reference signal to the sensor and measures the voltage drop in the circuit. When the transmission fluid is cold, the sensor resistance is high and the PCM detects high signal voltage. As the fluid temperature warms to a normal operating temperature, the resistance becomes less and the signal voltage decreases. The PCM uses this information to control shift quality and torque converter clutch apply.

If the PCM detects a continuous open or short to voltage in the TFT signal circuit or the TFT sensor, then DTC P0713 sets. DTC P0713 is a type C DTC.

Conditions for Running the DTC

    • System voltage is 8-18 volts.
    • The engine is running for greater than 7 seconds.
    • No TFT sensor DTC P0712.

Conditions for Setting the DTC

The TFT sensor indicates a voltage greater than 4.94 volts for 407 seconds (6.8 minutes).

Action Taken When the DTC Sets

    • The PCM does not illuminate the malfunction indicator lamp (MIL).
    • The PCM commands increased line pressure.
    • The PCM freezes transmission adaptive functions.
    • The PCM determines a default transmission fluid temperature (TFT) using the following matrix:
       - If the engine run time is less than 60 seconds then default TFT equals 47°C (117°F).
       - If ECT is less than 20°C (68°F), then default TFT equals IAT.
       - If the ECT is 20-110°C (68-230°F) then default TFT equals ECT.
       - If the ECT is greater than 110°C (230°F) then default TFT is set to 140°C (284°F) and transmission shift pattern is in hot mode.
       - If ECT and TFT DTCs are both set then default TFT is 140°C (284°F).
    • The PCM records the operating conditions when the Conditions for Setting the DTC are met. The PCM stores this information as Failure Records.
    • The PCM stores DTC P0713 in PCM history.

Conditions for Clearing the DTC

    • A scan tool clears the DTC from PCM history.
    • The PCM clears the DTC from PCM history if the vehicle completes 40 warm-up cycles without a non-emission related diagnostic fault occurring.
    • The PCM cancels the DTC default actions when the fault no longer exists and the ignition switch is OFF long enough in order to power down the PCM.

Diagnostic Aids

DTC P0713 defaults to an elevated line pressure condition which may result in partial TCC apply. This may produce an idle surge that could stall the engine.

Test Description

The numbers below refer to the step numbers on the diagnostic table.

  1. This step verifies a condition in the TFT sensor circuit inside the transmission.

  2. This step tests for higher than normal circuit voltage which may also damage the TFT sensor.

Step

Action

Value(s)

Yes

No

1

Did you perform the Diagnostic System Check - Engine Controls?

--

Go to Step 2

Go to Diagnostic System Check - Engine Controls in Engine Controls - 4.8L, 5.3L, and 6.0L

2

Inspect for correct transmission fluid level. Refer to Transmission Fluid Check .

Did you perform the fluid checking procedure?

--

Go to Step 3

Go to Transmission Fluid Check

3

  1. Install a scan tool.
  2. Turn ON the ignition, with the engine OFF.
  3. Important: Before clearing the DTC, use the scan tool in order to record the Failure Records. Using the Clear Info function erases the Failure Records from the PCM.

  4. Record the DTC Failure Records.
  5. Clear the DTC.

Does the scan tool display a TFT Sensor signal voltage less than the specified value?

4.92 V

Go to Intermittent Conditions in Engine Controls - 4.8L, 5.3L, and 6.0L

Go to Step 4

4

  1. Turn OFF the ignition.
  2. Disconnect the AT inline 20-way connector. Additional DTCs may set.
  3. Install the J 44152 Jumper Harness (20 pins) on the engine side of the AT inline 20-way connector.
  4. Connect a fused jumper wire between terminal L and terminal M of the J 44152 . Refer to Automatic Transmission Inline 20-Way Connector End View .
  5. Turn ON the ignition, with the engine OFF.

Does the TFT Sensor signal voltage drop to less than the specified value?

0.2 V

Go to Step 5

Go to Step 6

5

  1. Turn OFF the ignition.
  2. Install the J 44152 on the transmission side of the AT inline 20-way connector.
  3. Using the DMM and the J 35616 GM Terminal Test Kit, measure the resistance between terminal L and terminal M of the J 44152 . Refer to Automatic Transmission Inline 20-Way Connector End View .

Does the resistance measure within the specified range?

3088-3942 ohms at 20°C (68°F)

159-198 ohms at 100°C (212°F)

Go to Intermittent Conditions in Engine Controls - 4.8L, 5.3L, and 6.0L

Go to Step 8

6

Test the signal circuit of the TFT sensor an open or short to voltage between the PCM connector C2 and the AT inline 20-way connector. Refer to Circuit Testing and Wiring Repairs in Wiring Systems.

Did you find and correct the condition?

--

Go to Step 10

Go to Step 7

7

Test the low reference circuit of the TFT sensor for an open. Refer to Testing for Continuity and Wiring Repairs in Wiring Systems.

Did you find and correct the condition?

--

Go to Step 10

Go to Step 9

8

Replace the AT wiring harness assembly. Refer to Valve Body and Pressure Switch Replacement .

Did you complete the replacement?

--

Go to Step 10

--

9

Replace the PCM. Refer to Powertrain Control Module Replacement in Engine Controls - 4.8L, 5.3L, and 6.0L.

Did you complete the replacement?

--

Go to Step 10

--

10

Perform the following procedure in order to verify the repair:

  1. Select DTC.
  2. Select Clear Info.
  3. Turn ON the ignition, with the engine OFF.
  4. Verify that the scan tool indicates a TFT Sensor signal voltage less than 4.92 volts for 409 seconds (6.8 minutes).
  5. Select Specific DTC.
  6. Enter DTC P0713.

Has the test run and passed?

--

Go to Step 11

Go to Step 2

11

With the scan tool, observe the stored information, capture info and DTC info.

Does the scan tool display any DTCs that you have not diagnosed?

--

Go to Diagnostic Trouble Code (DTC) List in Engine Controls - 4.8L, 5.3L, and 6.0L

System OK