GM Service Manual Online
For 1990-2009 cars only
Figure 1:

Battery - G106


Object Number: 882408  Size: MF
(1)Battery Cable (+)
(2)Battery
(3)G106
(4)Battery Cable (-)
Figure 2:

Front of the Engine (4.3L)


Object Number: 886060  Size: MF
(1)Generator
(2)A/C Compressor Clutch Connector (C60)
(3)Crankshaft Position (CKP) Sensor Connector
Figure 3:

Upper Front of the Engine (4.8L/5.3L/6.0L)


Object Number: 886065  Size: LF
(1)Evaporative Emissions (EVAP) Canister Purge Solenoid
(2)Idle Air Control (IAC) Valve (w/o JL4)
(3)Throttle Position (TP) Sensor (w/o JL4)
(4)Generator
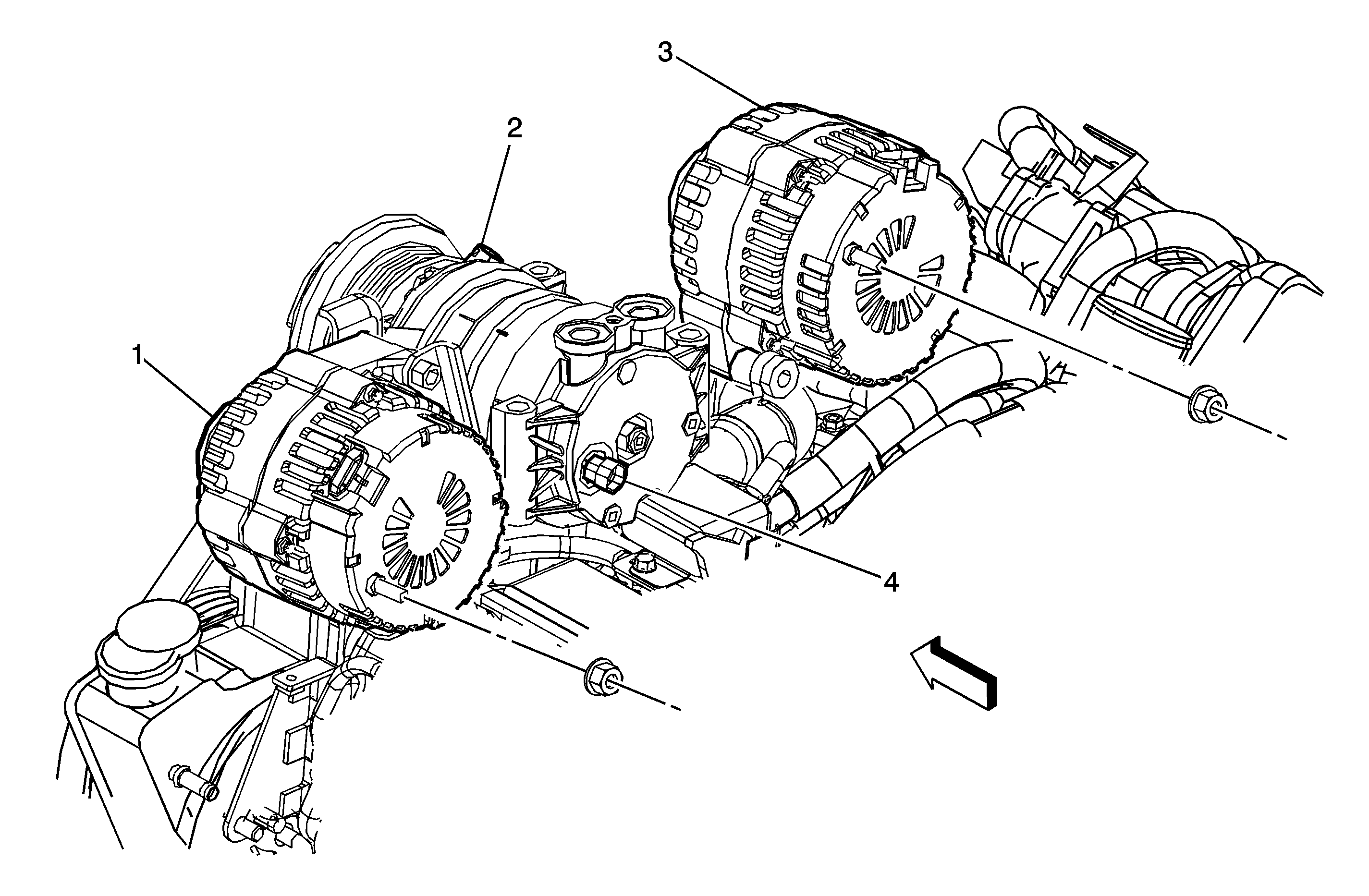
Figure 4:

Upper Front of the Engine (6.6L)


Object Number: 1625884  Size: MF
(1)Generator - Auxiliary (KD9/YF2)
(2)A/C Compressor Clutch Connector (C60)
(3)Generator
(4)A/C High Pressure Switch (C60)
Figure 5:

Right Side of the Engine


Object Number: 886064  Size: MF
(1)Starter Motor
(2)Engine Oil Level Switch Connector (4.8L/5.3L/6.0L)
Figure 6:

Left Side Frame (6.6L)


Object Number: 1607995  Size: MF
(1)Fuel Level Sensor Connector
(2)Battery - Secondary
(3)G305
(4)Coolant Heater - Fuel Pump (K08)
(5)Coolant Heater (K08)
(6)Fuel Pump Assembly