GM Service Manual Online
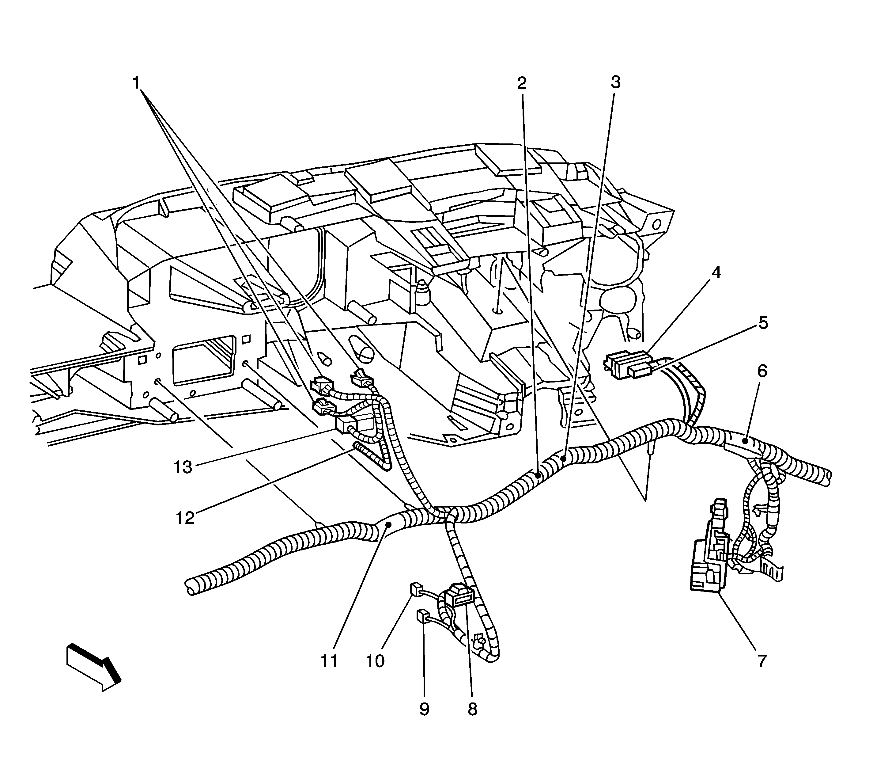
For 1990-2009 cars only
Figure 1:

Forward Lamps Harness Routing


Object Number: 882406  Size: LF
(1)Marker Lamp Connector - LF
(2)G100
(3)Headlamp - Low Beam Connector - Left (Composite)
(4)Headlamp - High Beam Connector - Left (Composite)
(5)S110
(6)S118
(7)Park/Turn Signal Lamp Connector - RF
(8)Marker Lamp Connector - RF
(9)G101
(10)Headlamp - Low Beam Connector - Right (Composite)
(11)Headlamp - High Beam Connector - Right (Composite)
(12)Park/Turn Signal Lamp Connector - LF
(13)Fuse Block Underhood - C4
Figure 2:

Engine Harness - Left Side of the Engine (4.3L)


Object Number: 882655  Size: LF
(1)S101
(2)A/C Compressor Clutch Connector (C60)
(3)Throttle Position (TP) Sensor Connector
(4)Idle Air Control (IAC) Valve Connector
(5)A/C High Pressure Switch Connector (C60)
Figure 3:

Engine Harness - Right Side of the Engine (4.3L)


Object Number: 882666  Size: LF
(1)Central Sequential Fuel Injection (Central SFI) Connector
(2)Manifold Air Pressure (MAP) Sensor Connector
(3)Ignition Control Module (ICM) Connector
(4)Generator Connector
(5)S102
(6)Ignition Coil Connector
(7)Evaporative Emission (EVAP) Canister Purse Solenoid Connector
Figure 4:

Engine Harness - Rear of the Engine Compartment (4.3L)


Object Number: 882671  Size: LF
(1)S101
(2)C109
(3)Powertrain Control Module (PCM) C1, C2
(4)Fuse Block Underhood - C6
(5)Fuse Block Underhood - C1
(6)Horn Assembly Connector
(7)C100
(8)C101
(9)A/C Compressor Clutch Connector (C60)
Figure 5:

Engine Harness - Rear of the Engine (4.3L/5.3L)


Object Number: 882683  Size: MF
(1)Vehicle Speed Sensor (VSS) Connector
(2)C175
Figure 6:

Engine Harness - Left Side of the Engine (4.8L/5.3L/6.0L)


Object Number: 882686  Size: LF
(1)Fuel Injector 1 Connector
(2)Fuel Injector 3 Connector
(3)Fuel Injector 5 Connector
(4)S101
(5)C103
(6)S102
(7)Fuel Injector 7 Connector
(8)Ignition Coil/Module 7 Connector
(9)Ignition Coil/Module 5 Connector
(10)C126
(11)Ignition Coil/Module 3 Connector
(12)Engine Coolant Temperature (ECT) Sensor Connector
(13)Ignition Coil/Module 1 Connector
Figure 7:

Engine Harness - Right Side of the Engine (4.8L/5.3L/6.0L)


Object Number: 1226716  Size: LF
(1)Fuel Injector 8 Connector
(2)Fuel Injector 6 Connector
(3)Fuel Injector 4 Connector
(4)Fuel Injector 2 Connector
(5)Ignition Coil/Module 2 Connector
(6)Ignition Coil/Module 4 Connector
(7)Ignition Coil/Module 6 Connector
(8)C127
(9)Ignition Coil/Module 8 Connector
Figure 8:

Engine Harness - Top of the Engine (4.8L/5.3L/6.0L)


Object Number: 882693  Size: MF
(1)Manifold Absolute Pressure (MAP) Sensor Connector
(2)S102
(3)S101
(4)C103
(5)Evaporative Emission (EVAP) Canister Purge Solenoid Valve
(6)Throttle Body
Figure 9:

Engine Harness - Rear of the Engine Compartment (4.8L/5.3L/6.0L)


Object Number: 882706  Size: LF
(1)C109
(2)Powertrain Control Module (PCM) C1, C2
(3)Fuse Block Underhood - C6
(4)Horn Assembly Connector
(5)Fuse Block Underhood - C1
(6)C100
(7)C101
(8)Brake Fluid Level Switch Connector (Heavy Duty)
Figure 10:

Engine Harness - Rear of the Engine (4.8L/6.0L)


Object Number: 1226719  Size: LF
(1)Heated Oxygen Sensor (HO2S) Bank 1 Sensor 1 Connector
(2)Automatic Transmission Input Speed (A/T ISS) Sensor Connector
(3)Vehicle Speed Sensor (VSS) Connector
(4)C175
(5)Park/Neutral Position (PNP) Switch Connector
Figure 11:

Engine Harness - Top of the Engine (LLY)


Object Number: 1605421  Size: LF
(1)C112
(2)Fuel Rail Pressure (FRP) Sensor
(3)Turbocharger Vane Position Control Solenoid Valve
(4)Turbocharger Vane Position Sensor
(5)Glow Plug Control Module (GPCM)
(6)Fuel Rail Temperature (FRT) Sensor
(7)Intake Air Temperature (IAT) Sensor 2
(8)C111
(9)C110
(10)C107
(11)Fuel Pressure Regulator
(12)Engine Coolant Temperature (ECT) Sensor
(13)Intake Air Heater (IAH) Module
(14)Manifold Absolute Pressure (MAP) Sensor
(15)C108
(16)Exhaust Gas Recirculation (EGR) Valve
Figure 12:

Engine Harness - Left Side of the Engine (LLY)


Object Number: 1650992  Size: LF
(1)Horn Assembly Connector
(2)C100
(3)C101
(4)Fuse Block - Underhood C6
(5)Fuse Block - Underhood C1
(6)Engine Control Module (ECM) - C2
(7)Engine Control Module (ECM) - C1
(8)C108
(9)C105
(10)G108
(11)G104
(12)S103
(13)C109
(14)C107
(15)S102
(16)G107
(17)G102
(18)G103
(19)S101
Figure 13:

C115


Object Number: 1843655  Size: LF
(1)C115
(2)Engine - LMM
Figure 14:

Engine Harness - Oxygen Sensors (4.8L/6.0L)


Object Number: 882716  Size: LF
(1)C128 (Cutaway)
(2)Heated Oxygen Sensor (HO2S) Bank 2 Sensor 1 Connector
(3)Heated Oxygen Sensor (HO2S) Bank 1 Sensor 2 Connector
(4)Heated Oxygen Sensor (HO2S) Bank 2 Sensor 2 Connector
(5)Heated Oxygen Sensor (HO2S) Bank 1 Sensor 1 Connector
Figure 15:

Power Brake (PB) Booster Fluid Alarm Switches Harness Routing (UJ1)


Object Number: 883605  Size: MF
(1)Power Brake (PB) Booster Fluid Pressure Alarm Switch Connector
(2)C141
(3)Power Brake (PB) Booster Fluid Flow Alarm Switch - C1, C2
Figure 16:

I/P Harness Routing - Front of the Engine Compartment


Object Number: 883607  Size: MF
(1)C100
(2)C104
(3)Inflatable Restraint Front End Sensor Connector
(4)Radiator Support
Figure 17:

I/P Harness Routing - Left Side of the Passenger Compartment


Object Number: 883611  Size: MF
(1)Park Brake Switch
(2)Park Brake Switch Connector
(3)C220
(4)C311
(5)C318
Figure 18:

I/P Harness Routing - Lower Left Side of the Passenger Compartment


Object Number: 1658441  Size: LF
(1)C318
(2)G301
(3)G302
(4)G303
(5)C311
(6)C222 (YF7)
(7)SP200
(8)SP250 (Diesel)
(9)Seat Belt Pretentioner Connector - LF (Light Duty)
(10)C300 (Light Duty)
(11)Fuse Block Body - C5 (YF7)
(12)Fuse Block Body - C3
(13)Inflatable Restraint Sensing and Diagnostic Module (SDM) Connector
Figure 19:

I/P Harness Routing - Left Side of the I/P


Object Number: 883616  Size: MF
(1)C221
(2)Data Link Connector (DLC)
(3)Stop Lamp Switch Connector
Figure 20:

I/P Harness Routing - Center of the I/P


Object Number: 1658434  Size: LF
(1)HVAC Control Assembly Connectors
(2)S246 (DE7)
(3)S245 (DE7)
(4)Instrument Panel Cluster (IPC) Connector
(5)Remote Control Door Lock Receiver (RCDLR) Connector (AU0)
(6)S248
(7)C200
(8)Turn Signal/Hazard Flasher Module Connector
(9)Cigar Lighter (DT4)/Auxiliary Power Outlet 1 (w/o DT4) Connector
(10)Tow/Haul Switch Connector
(11)S206 (Diesel)
(12)Antenna Connector
(13)Radio Connector
Figure 21:

I/P Harness Routing - Right Side of the I/P


Object Number: 883634  Size: LF
(1)Auxiliary Power Outlet 2 Connector
(2)Inflatable Restraint I/P Module Connector
(3)S249
(4)S250
(5)Body Control Module (BCM) - C1, C2, C3, C4, C5
(6)Air Temperature Actuator Connector
Figure 22:

I/P Harness Routing - Right Side of the Passenger Compartment


Object Number: 1658437  Size: MF
(1)C225 (DF5)
(2)G304
(3)C312
Figure 23:

Steering Column


Object Number: 1443929  Size: MF
(1)Hazard Switch
(2)Inflatable Restraint Steering Wheel Module Coil - C2 (Light Duty)
(3)Inflatable Restraint Steering Wheel Module Coil - C1
(4)Turn Signal/Multifunction Switch
(5)C200
(6)C275
Figure 24:

Driver Seat


Object Number: 1609204  Size: MF
(1)Seat Belt Buckle Driver - C1 (Light Duty)
(2)Seat Belt Buckle Driver - C2 (Light Duty)
(3)Seat Adjuster Switch - Driver (AG1)
(4)S304 (AG1)
(5)C307
(6)Seat Motors - Driver (AG1)
(7)Inflatable Restraint Seat Position Sensor (SPS) - Left (Light Duty)
(8)Seat Belt Buckle Connector - Driver (Heavy Duty)
Figure 25:

Passenger Seat


Object Number: 1609206  Size: MF
(1)Seat Adjuster Switch - Passenger (AG2)
(2)S317 (Light Duty w/AG2)
(3)C306
(4)Inflatable Restraint Passenger Presence System (PPS) Sensor (Light Duty w/o YF7)
(5)Inflatable Restraint Passenger Presence System (PPS) Module (Light Duty w/o YF7)
(6)Seat Belt Buckle Passenger - C2 (Light Duty)
(7)Seat Belt Buckle Passenger - C1 (Light Duty)
(8)Inflatable Restraint Seat Position Sensor (SPS) - Right (Light Duty)
(9)Seat Motors - Passenger (AG2)
Figure 26:

Front Headliner Harness Routing


Object Number: 883638  Size: MF
(1)C304 (w/o YF7)
(2)C420 (C69/Rear Auxiliary Controls w/o YF7)
(3)S332 (Passenger)
(4)S314
(5)Left B-Pillar
Figure 27:

HVAC Controls Harness Routing


Object Number: 883639  Size: LF
(1)HVAC Control Assembly Connector - Rear Auxiliary (C69)
(2)HVAC Control Processor Connector - Auxiliary (C69)
(3)HVAC Control Assembly Connector - Front Auxiliary (C69)
(4)S355 (Rear Auxiliary Controls w/YF7)
(5)S307 (Rear Auxiliary Controls w/YF7)
(6)S354 (Rear Auxiliary Controls w/YF7)
(7)S305 (Rear Auxiliary Controls w/YF7)
(8)S306 (Rear Auxiliary Controls w/YF7)
(9)S314
(10)C303 (Rear Auxiliary Controls w/YF7/C69)
(11)Left B-Pillar
(12)C203 (YF7/DH6)
Figure 28:

Chassis Harness Routing (Passenger/Cargo)


Object Number: 1371219  Size: LF
(1)Fuse Block Underhood - C3
(2)Fuse Block Underhood - C7
(3)Fuse Block Underhood - C8 (UY7)
(4)Wheel Speed Sensor (WSS) Connector - RF
(5)Brake Pressure Differential Switch Connector (Light Duty)
(6)Evaporative Emission (EVAP) Canister Vent Solenoid Connector (Gas)
(7)S301
(8)Electronic Brake Control Module (EBCM) Connector (JL4)/Electronic Brake Control Module (EBCM) - C2 (w/o JL4)
(9)Electronic Brake Control Module (EBCM) - C1 (w/o JL4)
(10)Trailer Right Stop/Turn Relay (UY7)
(11)Trailer Left Stop/Turn Relay (UY7)
(12)S315 (JL4)
(13)G300
(14)Wheel Speed Sensor (WSS) Connector - LF
(15)C101
Figure 29:

Chassis/Transmission Harness - Center Frame (6.6L)


Object Number: 1650994  Size: LF
(1)Transmission
(2)C175
(3)C316
(4)S316
(5)Fuel Pump Assembly
(6)C305 (K08)
(7)Coolant Heater - Fuel Pump (K08)
(8)C174
(9)Park/Neutral Position (PNP) Switch
(10)C314 (K08) or Coolant Heater - C2 (w/o K08)
(11)Trailer Stop/Turn Relay - Right (UY7)
(12)Trailer Stop/Turn Relay - Left (UY7)
(13)G300
Figure 30:

Inner Center Frame (Cutaway)


Object Number: 884971  Size: LF
(1)Fuel Tank Pressure (FTP) Sensor Connector
(2)Fuel Pump and Sender Assembly Connector
(3)S301
(4)Evaporative Emission (EVAP) Canister Vent Solenoid Connector
(5)Electronic Brake Control Module (EBCM) - C2
(6)Electronic Brake Control Module (EBCM) - C1
Figure 31:

Rear Frame


Object Number: 1650995  Size: MF
(1)C406 (T79)
(2)S402
(3)G400
(4)S903 (T79)
(5)C405 (Cutaway)
(6)S904 (T79)
Figure 32:

Rear Frame (JL4)


Object Number: 1371351  Size: MF
(1)C413
(2)C414
Figure 33:

Driver Door Harness Routing


Object Number: 884975  Size: LF
(1)Outside Rearview Mirror Connector - Driver (DE5/DE7)
(2)Window Switch Connector - Driver (A31)
(3)Outside Rearview Mirror Switch Connector (DE5/DE7)
(4)Window Motor Connector - Driver (A31)
(5)Door Lock Switch Connector - Driver (AU3)
(6)C311
(7)Speaker Connector - LF Door
(8)S500 (AU3)
(9)S502 (DE5/DE7)
Figure 34:

Passenger Door Harness Routing


Object Number: 884978  Size: LF
(1)Window Motor Connector - Front Passenger (A31)
(2)Window Switch Connector - Front Passenger (A31)
(3)Outside Rearview Mirror Connector - Passenger (DE5/DE7)
(4)S600 (AU3)
(5)Speaker Connector - RF Door
(6)C312
(7)Door Lock Switch Connector - Front Passenger (AU3)
Figure 35:

Body Harness Routing - Left Front of the Passenger Compartment


Object Number: 885001  Size: LF
(1)S313 (Light Duty)
(2)C307
(3)C319 (C36/ENC)
(4)C318
(5)C311
(6)Fuse Block Body - C4 (YF7)
(7)C300 (Light Duty)
Figure 36:

Body Harness Routing - Left B-Pillar (Passenger/Cargo)


Object Number: 885006  Size: LF
(1)Body Harness Cover
(2)S311 (w/o YF7)
(3)S310 (w/o YF7)
(4)S308 (w/o YF7)
(5)C304 (w/o YF7)
(6)C203 (YF7/DH6)
(7)C303 (YF7/C69 w/Rear Auxiliary Controls)
(8)Door Contact Plate Connector - Left Side (E26/AU3)
(9)C407 (ENC)
(10)C409 (ENC)
(11)Fuse Block Body - C2
(12)S310 (YF7)
(13)S308 (YF7)
(14)S311 (YF7)
(15)Body Harness
(16)Body Harness
(17)Lower B-Pillar
(18)Door Jamb Switch Connector - LR Side (E26)
(19)SP347
(20)G347
Figure 37:

Body Harness Routing - Right B-Pillar


Object Number: 901419  Size: MF
(1)C312
(2)Seat Belt Pretensioner Connector - RF (Light Duty)
(3)C306
(4)Door Contact Plate Connector - Right Side (Passenger/Cargo w/AU3)
(5)Door Jamb Switch Connector - RR Side (Passenger/Cargo)
Figure 38:

Body Harness Routing - Left Rear of the Passenger Compartment (YF7)


Object Number: 885008  Size: MF
(1)C321
(2)C320
Figure 39:

Body Harness Routing - Rear of the Passenger Compartment (Passenger/Cargo)


Object Number: 885009  Size: LF
(1)G401
(2)S451
(3)C415
(4)C419
(5)S450
(6)S401
(7)S404
(8)G402
(9)C401
(10)C411
(11)C407 - 135 Wheel Base (C36/C69)
(12)C409 - 135 Wheel Base (C36/C69)
(13)C400
(14)C412
(15)C402
(16)S403 (w/o YF7)
Figure 40:

Access/Pro Harness and Components (PRP)


Object Number: 1226742  Size: LF
(1)Dome Fluorescent Work Lamp - LR (UF2)
(2)Dome Fluorescent Work Lamp - LF (UF2)
(3)S350 (UF2)
(4)S348 (UF2)
(5)Dome Fluorescent Work Lamp - 2 (UF2)
(6)Dome Fluorescent Work Lamp - 1 (UF2)
(7)Dome Fluorescent Work Lamp - RH (UF2)
(8)Access Panel Actuator - Right Side Front
(9)Access Panel Actuator - Right Side Rear
(10)S409
(11)Access/Pro Wiring Harness
(12)Body Control Module (BCM)
(13)Fuse Block - Body
(14)S302 (UF2)
(15)S303
(16)Dome Fluorescent Work Lamps Relay (UF2)
(17)Fuse Block - Rear
(18)S309
(19)S300
(20)S408
(21)G403
(22)Access Panel Actuator - Left Rear Side Rear
(23)Access Panel Actuator - Left Rear Side Front
(24)Access Panel Actuator - Left Front Side Rear
(25)Access Panel Actuator - Left Front Side Front
Figure 41:

Auxiliary Heater and A/C Harness Routing - Front (C36/C69)


Object Number: 885010  Size: LF
(1)Blower Motor Resistor Assembly Connector - Auxiliary
(2)C409
(3)C407
(4)Blower Motor Connector - Auxiliary
(5)Air Temperature Actuator Connector - Auxiliary (C69)
(6)S413
Figure 42:

Auxiliary Heater and A/C Harness Routing - Rear (C36/C69)


Object Number: 885012  Size: LF
(1)Blower Motor Connector - Auxiliary
(2)Medium Speed Blower Motor Relay - Auxiliary
(3)C407
(4)C409
(5)Low Speed Blower Motor Relay Connector - Auxiliary
(6)S412
(7)S405
(8)S411 (C69)
(9)High Speed Blower Motor Relay Connector - Auxiliary
(10)Mode Actuator Connector - Auxiliary (C69)
Figure 43:

Rear Dome Lamp Harness Routing (Cargo)


Object Number: 885013  Size: MF
(1)C417
(2)Dome Lamp - Rear
Figure 44:

Left Rear Cargo Door Harness Routing (Passenger/Cargo)


Object Number: 1639648  Size: MF
(1)C901 (C49 w/A12)
(2)Rear Window Defogger Grid - Left (C49)
(3)C411
(4)Speaker Connector - LR Door (UB1/UC6)
Figure 45:

Right Rear Cargo Door Harness Routing (Passenger/Cargo)


Object Number: 1639649  Size: LF
(1)C902 (C49 w/A12)
(2)Rear Window Defogger Grid - Right (C49)
(3)Door Latch Assembly - Cargo
(4)Door Lock Switch Connector - Rear Cargo (AU3)
(5)License Lamp Connector
(6)S902
(7)Speaker Connector - RR Door (UB1/UC6)
(8)C412
(9)C400