GM Service Manual Online
For 1990-2009 cars only

This vehicle may have a Rear Vision Camera system. Read this entire section before using it.

Caution: The Rear Vision Camera (RVC) system does not replace driver vision. RVC does not:

   • Detect objects that are outside the camera's field of view, below the bumper, or underneath the vehicle.
   • Detect children, pedestrians, bicyclists, or pets.
Do not back the vehicle by only looking at the rear vision camera screen, or use the screen during longer, higher speed backing maneuvers or where there could be cross-traffic. Your judged distances using the screen will differ from actual distances.

So if you do not use proper care before backing up, you could hit a vehicle, child, pedestrian, bicyclist, or pet, resulting in vehicle damage, injury, or death. Even though the vehicle has the RVC system, always check carefully before backing up by checking behind and around the vehicle.

Vehicles Without Navigation System

The rear vision camera system is designed to help the driver when backing up by displaying a view of the area behind the vehicle. When the key is in the ON/RUN position and the driver shifts the vehicle into R (Reverse), the video image automatically appears on the inside rear view mirror. Once the driver shifts out of R (Reverse), the video image automatically disappears from the inside rear view mirror.

Turning the Rear Vision Camera System Off or On

To turn off the rear vision camera system, press and hold , located on the inside rearview mirror, until the left indicator light turns off. The rear camera vision display is now disabled.

To turn the rear vision camera system on again, press and hold until the left indicator light illuminates. The rear vision camera system display is now enabled and the display will appear in the mirror normally.

Vehicles With Navigation System

The rear vision camera system is designed to help the driver when backing up by displaying a view of the area behind the vehicle. When the driver shifts the vehicle into R (Reverse), the video image automatically appears on the navigation screen. Once the driver shifts out of R (Reverse), the navigation screen will go back to the last screen that had been displayed, after a delay.

Turning the Rear Vision Camera System On or Off

To turn the rear vision camera system on or off:

  1. Shift into P (Park).
  2. Press the MENU button to enter the configure menu options, then press the MENU hard key to select Display or touch the Display screen button.
  3. Select the Rear Camera Options screen button. The Rear Camera Options screen will display.

  4. Object Number: 1685906  Size: B3
  5. Select the Video screen button. When the Video screen button is highlighted the RVC system is on.

The delay that is received after shifting out of R (Reverse) is approximately 10 seconds. The delay can be cancelled by performing one of the following:

    • Pressing a hard key on the navigation system.
    • Shifting in to P (Park).
    • Reach a vehicle speed of 5 mph (8 km/h).

There is a message on the rear vision camera screen that states "Check Surroundings for Safety".

Adjusting the Brightness and Contrast of the Screen

To adjust the brightness and contrast of the screen, press the MENU button while the rear vision camera image is on the display. Any adjustments made will only affect the rear vision camera screen.

(Brightness) : Touch the + (plus) or - (minus) screen buttons to increase or decrease the brightness of the screen.

(Contrast) : Touch the + (plus) or - (minus) screen buttons to increase or decrease the contrast of the screen.

Symbols

The navigation system may have a feature that lets the driver view symbols on the navigation screen while using the rear vision camera. The Ultrasonic Rear Park Assist (URPA) system must not be disabled to use the caution symbols. If URPA has been disabled and the symbols have been turned on, the Rear Parking Assist Symbols Unavailable error message may display. See Ultrasonic Rear Parking Assist (URPA).

The symbols appear when an object has been detected by the URPA system. The symbol may cover the object when viewing the navigation screen.

To turn the symbols on or off:

  1. Make sure that URPA has not been disabled.
  2. Shift into P (Park).
  3. Press the MENU hard key to enter the configure menu options, then press the MENU hard key repeatedly until Display is selected or touch the Display screen button.
  4. Select the Rear Camera Options screen button. The Rear Camera Options screen will display.
  5. Touch the Symbols screen button. The screen button will be highlighted when on.

Rear Vision Camera Error Messages

Service Rear Vision Camera System: This message can display when the system is not receiving information it requires from other vehicle systems.

If any other problem occurs or if a problem persists, see your dealer/retailer.

Rear Vision Camera Location


Object Number: 2047963  Size: B3

The image is provided by the camera located in the bezel for the tailgate handle.

The camera uses a special lens. The distance of the image that appears on the screen differs from the actual distance. The area displayed by the camera is limited. The camera does not display objects which are close to either corner of the bumper or under the bumper. The area displayed on the screen can vary according to vehicle orientation or road conditions.

The following illustration shows the field of view that the camera provides.


Object Number: 2054818  Size: B5

Disconnecting the Rear Vision Camera

To disconnect the camera:

  1. Remove the license plate.
  2. Disconnect the camera connector from the chassis harness, located behind the license plate, by pressing on the release tab on the chassis harness.

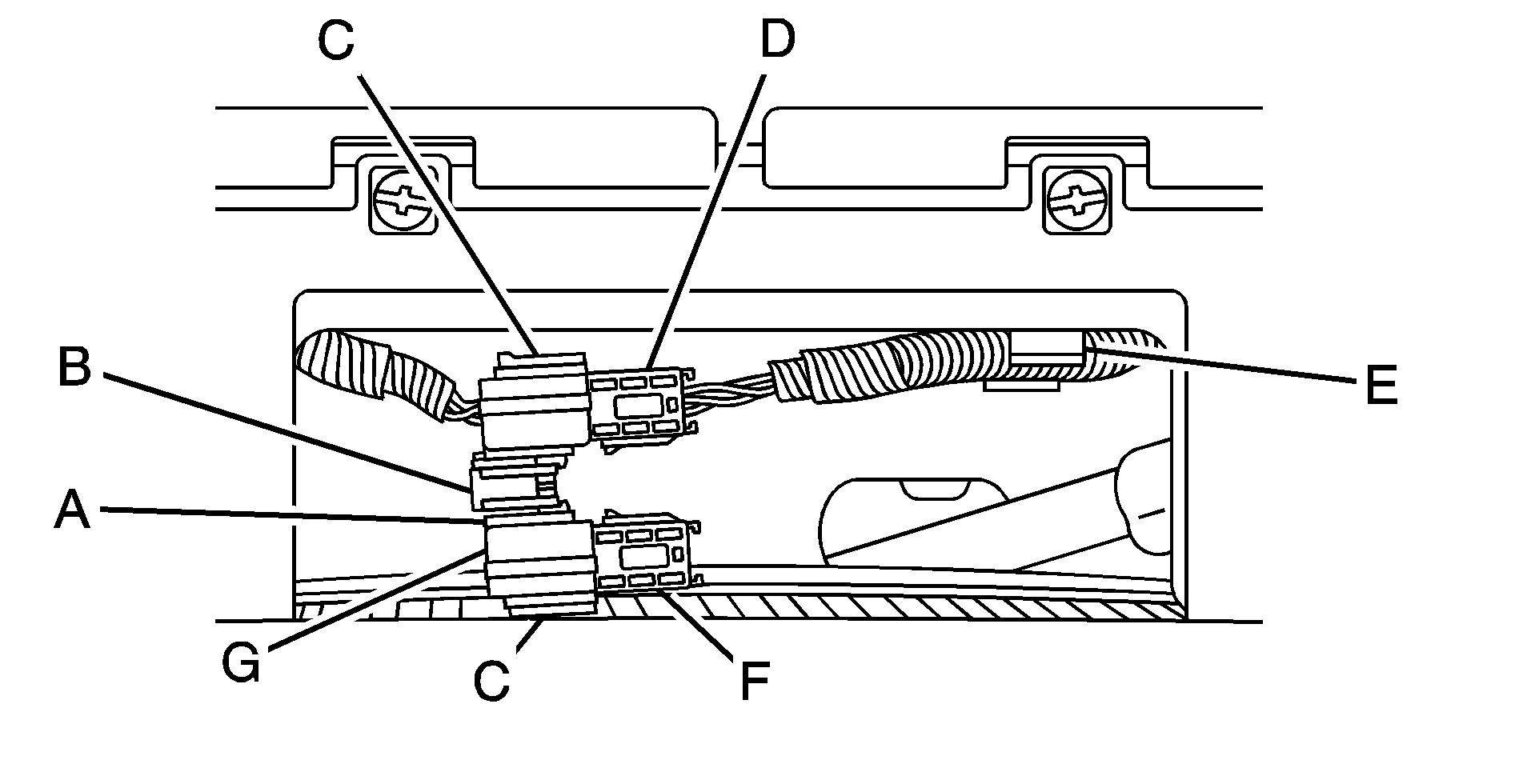
  3. Object Number: 2086944  Size: B2

      Camera connector cap tab

      Chassis harness

      Release tab

      Camera connector

      Retaining clip

      Protective connector cap

      Camera connector cap

  4. Disconnect the protective connector cap from the chassis harness by pressing on the release tab on the chassis harness, then remove the cap.
  5. Install the protective connector cap onto the chassis harness where the camera connector was located.

  6. Object Number: 2086945  Size: B2

      Chassis harness

      Release tab

      Protective connector cap

      Camera connector cap

  7. Lift up on the camera connector cap tab and remove the camera connector cap from the chassis harness, then install the camera connector cap on the camera connector.
  8. Release the rear vision camera cable from the retaining clip.
  9. Loosen the camera harness grommet from the pickup box and feed the harness through the pickup box.
  10. Remove the tailgate. See Tailgatefor more information.

Reverse this procedure to reinstall the rear vision camera and make sure the grommet and connection is secure.

When the System Does Not Seem To Work Properly

The rear vision camera system might not work properly or display a clear image if:

    • The RVC is turned off. See "Turning the Rear Camera System On or Off" earlier in this section.
    • It is dark.
    • The sun or the beam of headlights is shining directly into the camera lens.
    • Ice, snow, mud, or anything else builds up on the camera lens. Clean the lens, rinse it with water, and wipe it with a soft cloth.
    • The back of the vehicle is in an accident, the position and mounting angle of the camera can change or the camera can be affected. Be sure to have the camera and its position and mounting angle checked at your dealer/retailer.
    • There are extreme temperature changes.

The rear vision camera system display in the rearview mirror may turn off or not appear as expected due to one of the following conditions. If this occurs the left indicator light on the mirror will flash.

    • A slow flash may indicate a loss of video signal, or no video signal present during the reverse cycle.
    • A fast flash may indicate that the display has been on for the maximum allowable time during a reverse cycle, or the display has reached an Over Temperature limit.
        The fast flash conditions are used to protect the video device from high temperature conditions. Once conditions return to normal the device will reset and the green indicator will stop flashing.

During any of these fault conditions, the display will be blank and the indicator will continue to flash as long as the vehicle is in R (Reverse) or until the conditions return to normal.

Pressing and holding when the left indicator light is flashing will turn off the video display along with the left indicator light.