GM Service Manual Online
For 1990-2009 cars only

Cleaning Procedure

  1. Clean the exhaust manifold in solvent.
  2. Warning: Refer to Safety Glasses Warning in the Preface section.

  3. Dry the exhaust manifold with compressed air.

Inspection Procedure


    Object Number: 1830272  Size: SH
  1. Inspect the right exhaust manifold for the following:
  2. • Damage or excessive corrosion to the exhaust manifold exterior (1)
    • Damage to the exhaust manifold mounting holes (2)
    • Damage to the threaded holes (3) for the heat shield
    • Damage to the exhaust manifold flange bolt holes (4)
    • Damage to the heated oxygen sensor (HO2S) hole threads (5)

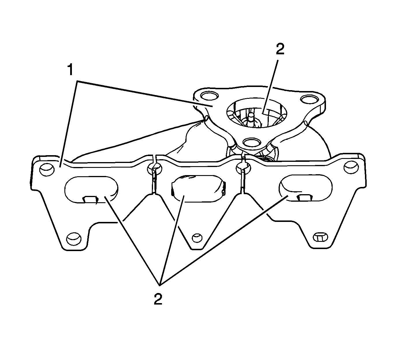
    Object Number: 1830275  Size: SH
  3. Inspect the right exhaust manifold for the following:
  4. • Damage to the gasket sealing surfaces (1)
    • Damage or restrictions within the exhaust passages (2)
  5. Repair or replace the right exhaust manifold and/or components as necessary.

  6. Object Number: 1830276  Size: SH
  7. Measure the alignment or surface flatness of the exhaust manifold flanges, using a straight edge and a feeler gage. Exhaust manifold surface flatness must not exceed 0.254 mm (0.010 in).
  8. If the surface flatness is not within specifications, the exhaust manifold is warped and must be replaced.