GM Service Manual Online
For 1990-2009 cars only

Info - Modification of Fuel Pipe Bracket During Fuel Rail Replacement

Subject:Modification of Fuel Pipe Bracket During Fuel Rail Replacement

Models:2003 Chevrolet Kodiak C4500/C5500 Series Models
2003 GMC Topkick C4500/C5500 Series Models
with 6.6L Duramax™ Diesel Engine (VIN 1 -- RPO LB7)



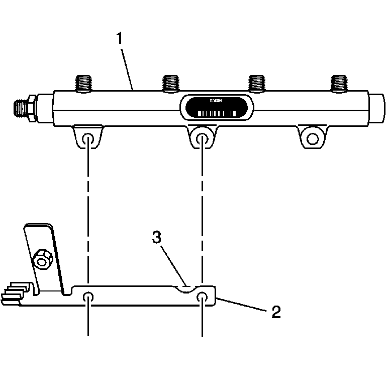
When replacing the left fuel rail on 2003 C4500/C5500 series Chevrolet Kodiak or GMC Topkick trucks, with engines built prior to June 5, 2002, the fuel pipe bracket may interfere with the new fuel rail at the hold down bolt area. A modification to the fuel rail was made during the 2003 model year that requires a contoured fuel pipe bracket. If the left fuel rail is replaced on vehicles with engines built before June 5, 2002, modify the fuel pipe bracket as illustrated for proper fit to the fuel rail.


Object Number: 903577  Size: SH
(1)First Design Fuel Rail
(2)Fuel Pipe Bracket

Object Number: 903579  Size: SH
(1)Second Design Fuel Rail
(2)Fuel Pipe Bracket
(3)Area of Modification