GM Service Manual Online
For 1990-2009 cars only
Makes
🢒
GMC_Truck
🢒
2005
🢒
TopKick C-Series (Conventional) C4/C5
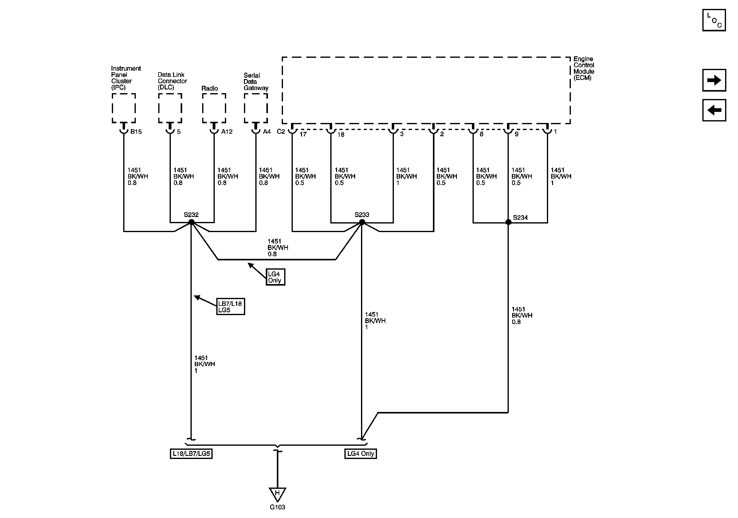
🢒 G103 - 2 of 2
G103 - 2 of 2
G103 - 2 of 2
Master Electrical Component List
G118, G119, and G120
G103 - 1 of 2, G105, and G106
G103 - 1 of 2, G105, and G106