GM Service Manual Online
For 1990-2009 cars only

Chrome Front Bumper Revised Procedure to Install Washers Behind Bumper to Aid in Installation Without Damage to Bumper

Subject:Chrome Front Bumper Revised Procedure to Install Washers Behind Bumper to Aid in Installation Without Damage to Bumper

Models:2008 Chevrolet Kodiak C4500/C5500 Series (2WD Only)
2008 GMC TopKick C4500/C5500 Series (2WD Only)
with Chrome Front Bumper (RPO V46)



When replacing a chrome front bumper, the chrome surface can be damaged during tightening of the mounting bolts.

The chrome plating on the bumper may become over-stressed from tightening the mounting bolts and may cause a slight crack in the finish.

Note: New vehicles built without washers do not need the washers installed. The washers are needed to reduce the possibility of damaging the chrome surface during bumper installation only. If the bumper has been installed without damage, do not add the washers.


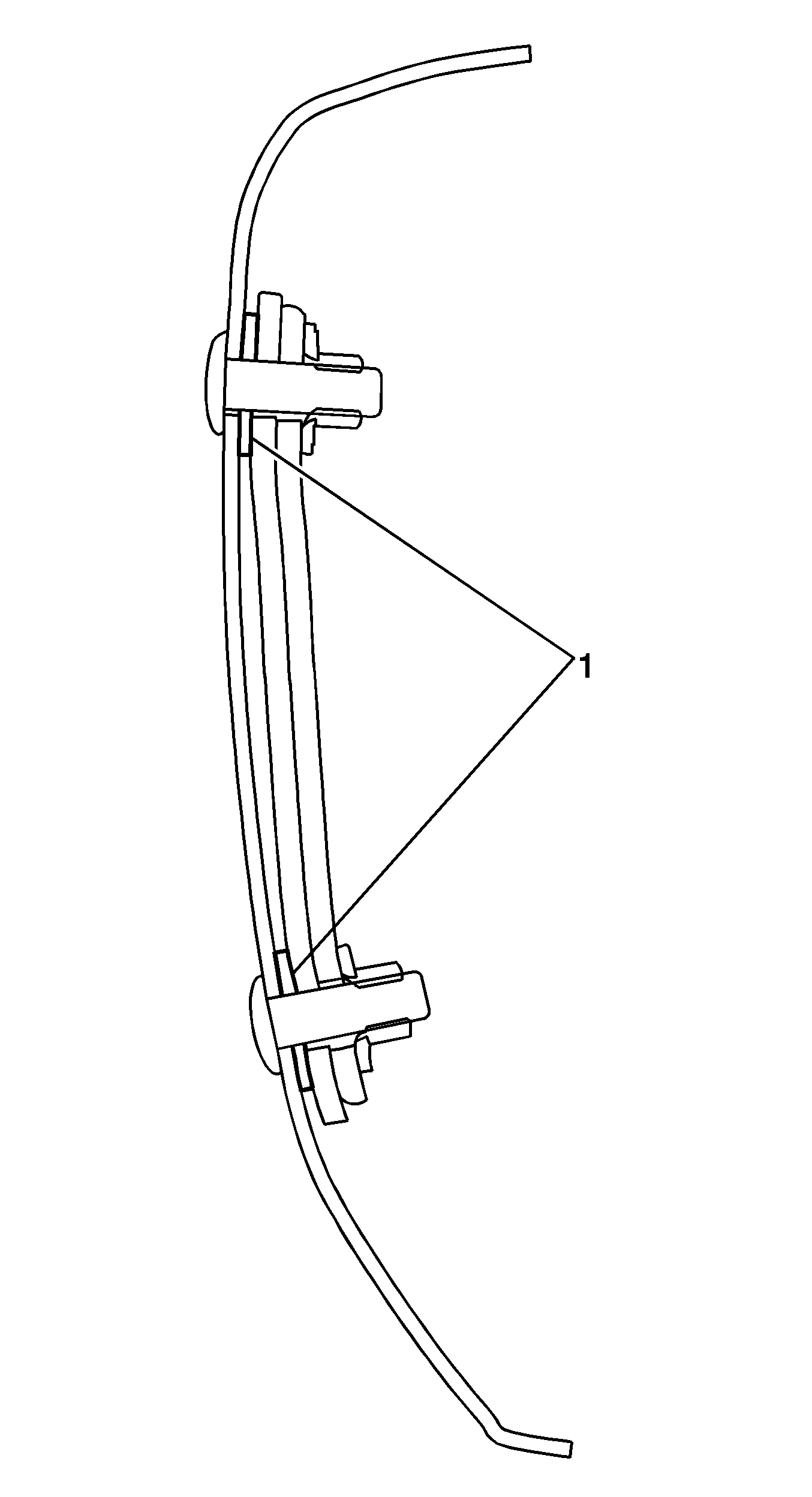
Object Number: 2178759  Size: LH

When replacing the bumper, refer to the Front Bumper Replacement (Swept Back Bumper) procedure in SI. Also, install a washer (1), P/N 14047726, on each of the four mounting bolts behind the bumper, between it and the front side of the mounting bracket. Refer to the above illustration.

Parts Information

Part Number

Description

Qty

14047726

Washer-Frt Bpr Impact Bar

4

Warranty Information

For vehicles repaired under warranty, use:

Labor Operation

Description

Labor Time

B0218

Front Bumper Impact Bar Replacement

Use Published Labor Operation Time