GM Service Manual Online
For 1990-2009 cars only
Figure 1:

Engine Flywheel and Flywheel Housing Components


Object Number: 815964  Size: LF
(1)Transmission Converter Cover Bolt
(2)Transmission Converter Cover
(3)Flywheel Housing - Automatic Transmission
(4)Flywheel Housing Adapter Bolt
(5)Flywheel Adapter Bolt
(6)Flywheel Housing Adapter - Manual Transmission
(7)Flywheel - Automatic Transmission
(8)Flywheel Bolt
(9)Flywheel - Manual Transmission
(10)Flywheel Bolt
Figure 2:

Cylinder Head and Components


Object Number: 815965  Size: LF
(1)Cylinder Head
(2)Valve Rotator
(3)Valve Stem Oil Seal
(4)Valve Spring
(5)Valve Spring Cap
(6)Valve Keys
(7)Valve Rocker Arm Cover Bolt Gasket
(8)Valve Rocker Arm Cover Bolt
(9)Valve Rocker Arm Cover
(10)Valve Rocker Arm Cover Gasket
(11)Intake Valve Push Rod
(12)Exhaust Valve Push Rod
(13)Valve Rocker Arm Nut
(14)Valve Rocker Arm Ball
(15)Valve Rocker Arm
(16)Valve Rocker Arm Stud
(17)Push Rod Guide
(18)Cylinder Head Bolt
(19)Engine Coolant Temperature (ECT) Sensor-Right Cylinder Head
(20)Coolant Hole Plug-Left Cylinder Head
(21)Exhaust Manifold Stud
(22)Exhaust Manifold Gasket
(23)Exhaust Manifold
(24)Exhaust Manifold Bolt
(25)Heat Shield Nut
(26)Heat Shield
(27)Heat Shield Bolts
(28)Intake Valve
(29)Exhaust Valve Guide
(30)Exhaust Valve
(31)Exhaust Valve Seat
(32)Cylinder Head Gasket
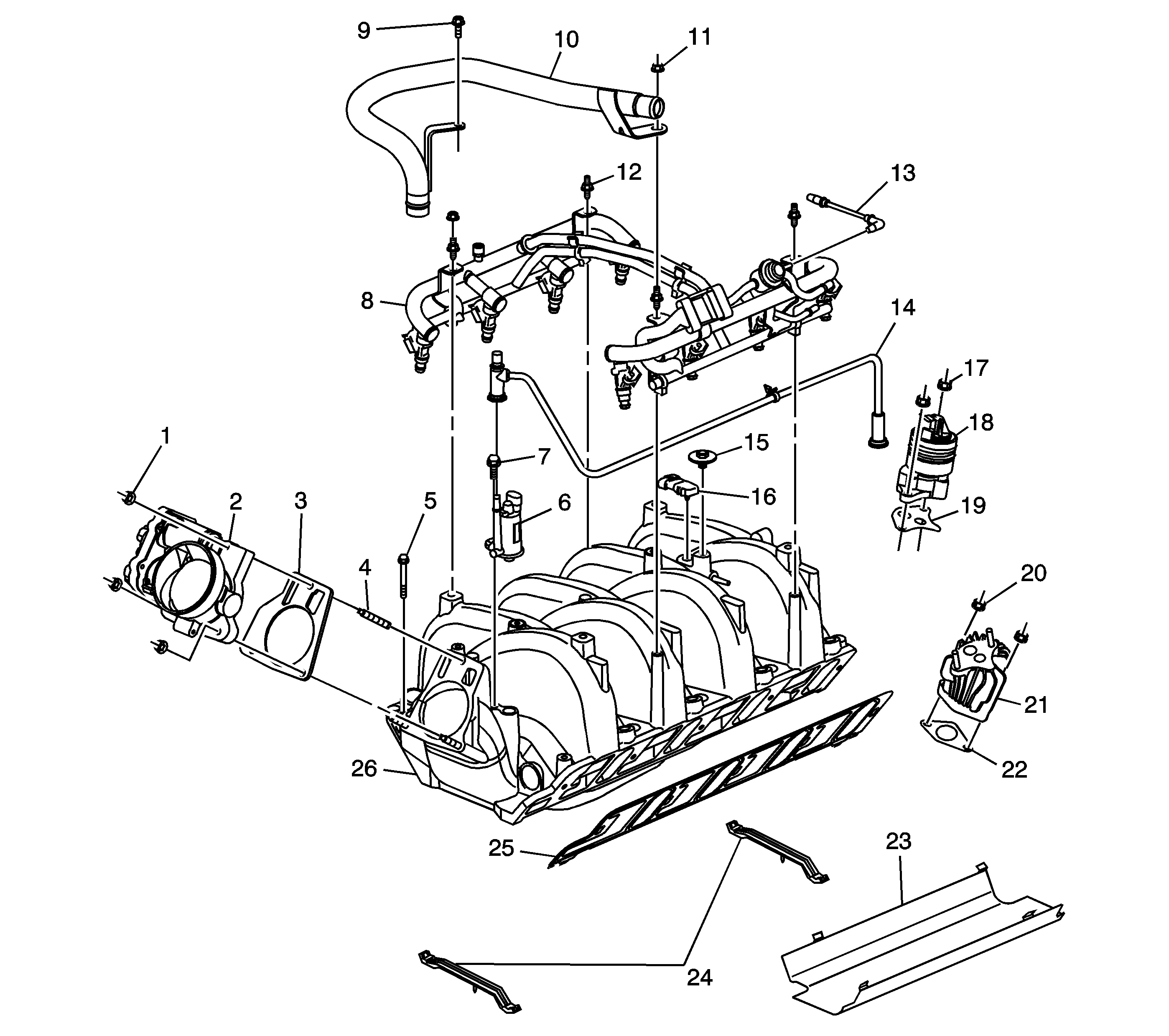
Figure 3:

Intake Manifold and Components


Object Number: 873815  Size: LF
(1)Throttle Body Nuts
(2)Throttle Body
(3)Throttle Body Gasket
(4)Throttle Body Studs
(5)Intake Manifold Bolts
(6)Purge Solenoid
(7)Purge Solenoid Bolt
(8)Fuel Rail
(9)Oil Fill Tube Bolt
(10)Oil Fill Tube
(11)Fuel Rail Nuts
(12)Fuel Rail Studs
(13)Fuel Pressure Regulator Vacuum Hose
(14)Purge Solenoid Vacuum Hose
(15)MAP Sensor Retaining Bolt
(16)MAP Sensor
(17)EGR Valve Nuts
(18)EGR Valve
(19)EGR Valve Gasket
(20)EGR Adapter Nuts
(21)EGR Adapter
(22)EGR Adapter Gasket
(23)Splash Shield
(24)Intake Manifold End Gaskets
(25)Intake Manifold Side Gaskets
(26)Intake Manifold
Figure 4:

Engine Crankshaft and Components


Object Number: 638608  Size: LF
(1)Oil Pump Bolt
(2)Oil Pump Assembly
(3)Oil Pump Driveshaft Retainer
(4)Oil Pump Locating Pins
(5)Oil Pump Driveshaft
(6)Crankshaft Thrust Bearing Cap
(7)Lower Crankshaft Thrust Bearing
(8)Rear Crankshaft Seal
(9)Upper Crankshaft Thrust Bearing
(10)Connecting Rod Nut
(11)Connecting Rod Cap
(12)Connecting Rod Bearings
(13)Connecting Rod Bolt
(14)Connecting Rod
(15)Piston Rings
(16)Piston
(17)Engine Block
(18)Crankshaft Upper Bearings
(19)Crankshaft Pin
(20)Crankshaft Assembly with Reluctor Wheels
(21)Crankshaft Lower Bearings
(22)Crankshaft Bearing Caps
(23)Crankshaft Bearing Cap Outer Studs
(24)Crankshaft Bearing Cap Inner Bolts
(25)Crankshaft Oil Deflector
(26)Crankshaft Oil Deflector Nuts
Figure 5:

Lower Engine Block and Components


Object Number: 815967  Size: LF
(1)Camshaft Retainer Bolt
(2)Camshaft Retainer
(3)Camshaft
(4)Front Oil Gallery Plug
(5)Top Oil Gallery Plug
(6)Valve Lifter Guide Retainer
(7)Valve Lifter Guide Retainer Bolt
(8)Oil Pump Drive Bolt
(9)Oil Pump Drive
(10)Valve Lifter Guide
(11)Valve Lifter
(12)Cylinder Head Locating Pin
(13)Crankshaft Position Sensor Bolt
(14)Crankshaft Position Sensor
(15)Engine Block
(16)Left Oil Gallery Plug
(17)Oil Filter Fitting
(18)Oil Filter
(19)Coolant Drain Plug
(20)Left Knock Sensor Shield Bolt
(21)Left Knock Sensor Shield
(22)Left Knock Sensor
(23)Coolant Hole Plug - Optional Block Heater
(24)Front Engine Cover Locating Pin
(25)Camshaft Sprocket Bolt
(26)Timing Chain and Sprockets
(27)Front Engine Cover
(28)Front Engine Cover Bolt
(29)Camshaft Position Sensor
(30)Camshaft Position Sensor Bolt
(31)Front Crankshaft Oil Seal
(32)Crankshaft Balancer
(33)Crankshaft Balancer Washer
(34)Crankshaft Balancer Bolt