GM Service Manual Online
For 1990-2009 cars only

Removal Procedure

  1. Relieve the fuel system pressure. Refer to Fuel Pressure Relief .
  2. Drain the fuel tank. Refer to Fuel Tank Draining .

  3. Object Number: 724684  Size: SH
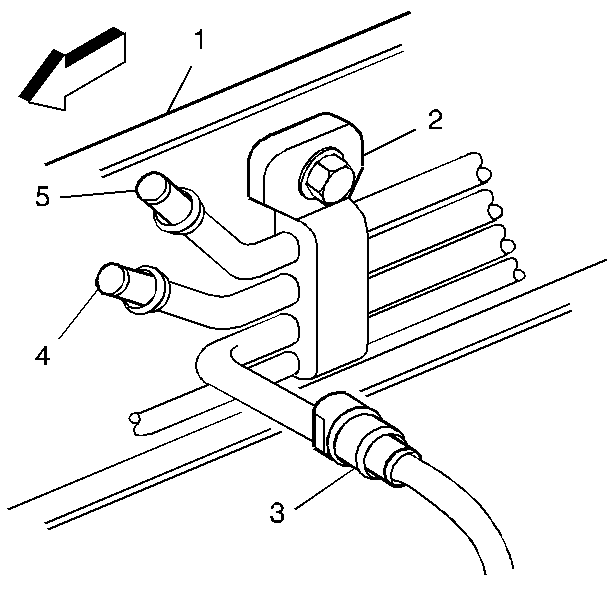
  4. Disconnect the fuel feed and fuel return (1) pipes from the engine. Refer to Plastic Collar Quick Connect Fitting Service .
  5. Notice: Replace the EVAP pipes and hoses with the original equipment or parts that meet the GM specifications for those parts. The replacement EVAP pipe must have the same type of fittings as the original pipe in order to ensure the integrity of the connection. When replacing EVAP hoses, use only reinforced fuel-resistant hose identified with the word Fluoroelastomer or GM 6163-M on the hose. The inside hose diameter must match the outside pipe diameter. Do not use rubber hose within 100 mm (4 in) of any part of the exhaust system or within 254 mm (10 in) of the catalytic converter.

  6. Disconnect the fuel feed pipe from the fuel filter. Refer to Plastic Collar Quick Connect Fitting Service .

  7. Object Number: 227597  Size: SH
  8. Disconnect the chassis fuel return pipe (3) from the intermediate fuel return pipe. Refer to Plastic Collar Quick Connect Fitting Service .
  9. Remove the three retaining straps and spacers from the fuel pipe bundle (2).
  10. Remove the fuel pipes.

Installation Procedure


    Object Number: 227597  Size: SH
  1. Position the fuel pipes to the chassis.
  2. Install the spacers and three new retaining straps to the fuel pipe bundle (2) and chassis brackets.
  3. Connect the chassis fuel return pipe (3) to the intermediate fuel return pipe. Refer to Plastic Collar Quick Connect Fitting Service .

  4. Object Number: 403903  Size: SH
  5. Connect the fuel feed pipe (1) to the fuel filter (4). Refer to Plastic Collar Quick Connect Fitting Service .

  6. Object Number: 724684  Size: SH
  7. Connect the fuel feed and fuel return pipe (1) to the engine. Refer to Plastic Collar Quick Connect Fitting Service .
  8. Refill the tank.
  9. Tighten the filler cap.
  10. Connect the negative battery cable.
  11. Inspect for leaks using the following procedure.
  12. 9.1. Turn the ignition ON for 2  seconds.
    9.2. Turn the ignition OFF for 10  seconds.
    9.3. Turn the ignition ON.
    9.4. Inspect for fuel leaks.