GM Service Manual Online
For 1990-2009 cars only
Figure 1:

Engine Harness to Engine (LG5), Right Side


Object Number: 689981  Size: LF
(1)Engine Coolant Temperature (ECT) Switch (UER)
(2)Generator
Figure 2:

Engine Harness to Engine (LG5), Front View


Object Number: 689488  Size: MF
(1)Engine Coolant Temperature (ECT) Gage Sensor
(2)C115
(3)Intake Air (IA) Heater Relay Connector
Figure 3:

Engine Harness to Engine (LG5), Left Side


Object Number: 689494  Size: MF
(1)C408/C409
(2)Upfitter TO PTO Connector
(3)Upfitter TRANS OPT Connector
(4)Powertrain Control Module (PCM) Connector
(5)Engine Oil Pressure (EOP) Switch
(6)Engine Oil Pressure (EOP) Gage Sensor
(7)Fuel Heater
Figure 4:

Automatic Transmission Harness --Typical-- without MTW/MX4/MWF


Object Number: 689497  Size: MF
(1)To Backup Lamp Switch
(2)Vehicle Speed Sensor (VSS)
(3)Automatic Transmission Modulator
(4)Neutral Safety Switch
(5)C408/C409
Figure 5:

Engine Harness to Transmission (MWF)


Object Number: 214808  Size: SF
(1)Transmission
(2)Automatic Transmission Input Shaft Speed (ISS) Sensor
(3)Vehicle Speed Sensor (VSS)
Figure 6:

Manual Transmission Harness, Left Forward View


Object Number: 689881  Size: MF
(1)Backup Lamp Switch
(2)Vehicle Speed Sensor (VSS) (JE4)
(3)Vehicle Speed Sensor (VSS) (JE3)
Figure 7:

Engine Harness to Transmission (MTW/MX4)


Object Number: 689982  Size: LF
(1)Turbine Shaft Speed (TSS) Sensor
(2)Automatic Transmission Connector
(3)Vehicle Speed Sensor (VSS)
(4)Park/Neutral Position (PNP) Switch
(5)Automatic Transmission Input Shaft Speed (ISS) Sensor
Figure 8:

Lower Left Side of Cab Interior


Object Number: 689894  Size: SF
(1)Instrument Panel
(2)Accelerator Pedal Position (APP) Sensor
Figure 9:

Instrument Panel Harness to Instrument Panel, Right Front View


Object Number: 689889  Size: LF
(1)Ignition Switch
(2)Park Brake Switch (JE3/J71)
(3)Turn Signal/Multifunction Switch C3
(4)Turn Signal/Multifunction Switch C2
(5)Turn Signal/Multifunction Switch C1
(6)Headlamp Dimmer Switch
(7)Turn Signal/Hazard Flasher Module
(8)Park/Neutral (PNP) Switch C3
(9)Park/Neutral (PNP) Switch C2
(10)Park/Neutral (PNP) Switch C1
(11)Accelerator Pedal Position (APP) Sensor
(12)Low Air Pressure Switch
(13)Stop Lamp Switch
Figure 10:

IP Harness to Components, Right View


Object Number: 689511  Size: MF
(1)Stop Lamp Switch Interface Module
(2)Convenience Center
(3)SERVICE TRANS FILTER Indicator Lamp
(4)Seat Belt Indicator Lamp
(5)Upfitter Accessory Feed Connector
(6)C210
(7)Upfitter AUX WRG Connector, Interior
(8)Daytime Running Lamps (DRL) Diode
(9)Blower Motor C1
(10)Blower Motor C2
(11)C208
(12)G210
(13)Speaker - RF
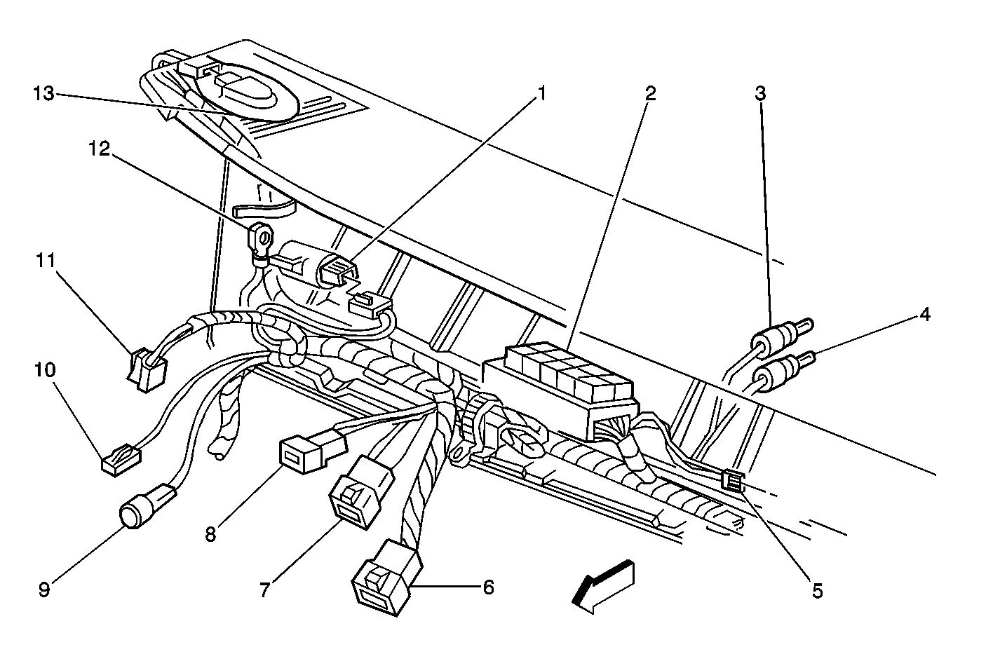
Figure 11:

Instrument Panel Harness to Components, Left Side of Cab


Object Number: 689891  Size: MF
(1)Multifunction Alarm Module
(2)Park Brake Control Module (PBCM)