GM Service Manual Online
For 1990-2009 cars only

Removal Procedure

  1. Disconnect the negative battery cable from the battery. Refer to Battery Negative Cable Disconnection and Connection .
  2. Remove the fuel filter and bracket. Refer to Fuel Filter Replacement .
  3. Disconnect the exhaust gas recirculation (EGR) valve sensor connector.

  4. Object Number: 1369949  Size: SH
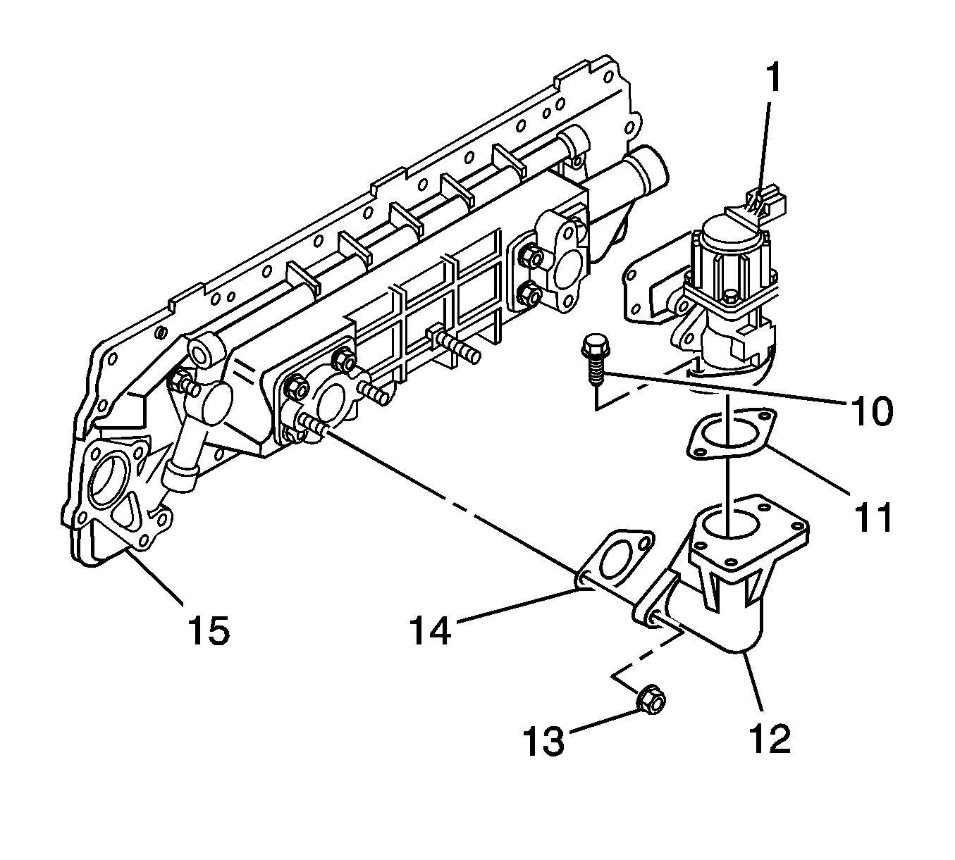
  5. Remove the EGR valve and bolts (10).

  6. Object Number: 1369945  Size: SH
  7. Remove the EGR valve studs (2), the EGR valve bolts (3), and the EGR valve (1) and gasket (4) from the adapter (5) and the EGR duct.

  8. Object Number: 1369949  Size: SH
  9. Remove the EGR gasket (11) from the EGR duct (12) and the EGR valve (1).

Installation Procedure


    Object Number: 1369949  Size: SH

    Important: Before beginning the installation procedure, carefully inspect the gasket mating surfaces of the EGR valve for cracks and other damage.

    The EGR cooler is built into the oiler cooler and is installed with it.

    It is very important that the EGR nuts and bolts be tightened to the specified torque in the order shown.

  1. Install the EGR valve (1) to the duct (12) with new gasket (11) and bolts (10).

  2. Object Number: 1369945  Size: SH
  3. Install the EGR valve (1) to the EGR adapter (5) with the gasket (4), bolts (3) and studs (2).
  4. Notice: Refer to Fastener Notice in the Preface section.

  5. Tighten EGR valve bolts (3) and studs (2).
  6. Tighten
    Tighten the EGR valve bolts and studs to 21 N·m (15 lb ft).


    Object Number: 1369949  Size: SH
  7. Tighten the EGR bolts (10).
  8. Tighten
    Tighten the EGR valve bolts to 21 N·m (15 lb ft).

  9. Install the fuel filter and bracket. Refer to Fuel Filter Replacement .
  10. Connect the EGR sensor connector.
  11. Connect the negative battery cable to the battery. Refer to Battery Negative Cable Disconnection and Connection .