GM Service Manual Online
For 1990-2009 cars only

Turbocharger Replacement w/o CTF

Removal Procedure

    Notice: If a turbocharger has failed, clean any turbocharger debris or excessive oil from the charge air cooler system before installing the new turbocharger. Failure to clean debris from the charge air cooler system will cause severe turbocharger and engine damage upon startup. Failure to clean excessive oil from the charge air cooler system may cause an engine runaway condition on startup, resulting in severe engine damage.

  1. Disconnect the negative battery cable. Refer to Battery Negative Cable Disconnection and Connection in Engine Electrical.
  2. Remove the air cleaner layer. Refer to Air Cleaner Replacement .
  3. Remove the air inlet hose from the charge air cooler.
  4. Remove the charge air cooler pipe from the turbocharger and the charger air cooler. Refer to Charge Air Cooler Inlet Pipe and Outlet Pipe Replacement .
  5. Remove the front exhaust pipe from the turbocharger. Refer to Exhaust Manifold Replacement in Engine Exhaust.
  6. Remove the oil feed line.
  7. Remove the oil return line.
  8. Remove the coolant feed line.
  9. Remove the coolant return line.
  10. Remove the turbocharger mounting nuts, turbocharger, and gasket from the exhaust manifold.

Inspection Procedure

Inspect for the following conditions:

   • 
Object Number: 736626  Size: SH
  • The turbocharger for any cracks at the gasket mating surfaces
  •    • 
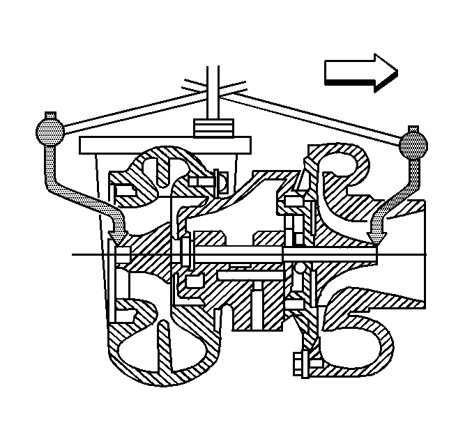
  • The compressor blades (9) for damage or carbon build-up
  • Adjustment Procedure

    Bearing Radial Clearance


      Object Number: 814055  Size: SH
    1. Use a dial indicator with an offset plunger and a magnetic base. Adjust the plunger so that the indicator touches the turbocharger main shaft and readjust the gage to zero.
    2. Hold the turbocharger, move the compressor wheel up and down, and read the radial clearance. Clearance should be 0.52-0.71 N·m compressor side 0.43-0.58 N·m, turbine side.
    3. If the bearing radial clearance or the compressor end play is out of specification, replace the turbocharger center section assembly.

    Compressor End Play


      Object Number: 737438  Size: SH
    1. Use a dial indicator with a magnetic base. Adjust the plunger so that the indicator touches the turbocharger main shaft and readjust the gage to zero.
    2. Move the turbocharger mainshaft back and forth and read the end play. Clearance should be 0.025-0.076 mm (0.001-0.003 in).
    3. If the bearing radial clearance or the compressor end play is out of specifications, replace the turbocharger center section assembly.

    Disassemble Procedure


      Object Number: 814056  Size: SH

      Important: These parts must be reassembled in the original location.

    1. Remove the snap-ring and V-clamp from the turbocharger.
    2. Remove the compressor housing (4) and packing.
    3. Remove the turbine housing (6).

    Assemble Procedure

    Important: 

       • Handle the center assembly with care. The assembly is precisely balanced. Even minor scratches or distortion can cause a malfunction.
       • Do not attempt to disassemble the center assembly. Replace as a unit if faulty.


      Object Number: 814056  Size: SH
    1. Install the turbine housing (6) to the center assembly (5). Align the knock pin.
    2. Install the compressor housing (4) and packing to the center assembly (5).
    3. Notice: Refer to Fastener Notice in the Preface section.

    4. Install the snap-ring and V-clamp.
    5. Tighten
      Tighten the V-clamp to the turbine housing to 8.3 N·m (17 lb ft).

    Inspection Procedure

    Assembly for proper operation--Turn the compressor wheel by hand. The wheels must rotate freely without binding or noise.

    Installation Procedure

      Important: 

         • Pre-lubricate the turbocharger bearings with 118.3 ml (4 oz) of clean engine oil. Pour the clean engine oil into the oil feed port.
         • Turn the compressor wheel by hand to distribute the oil in the turbocharger. Failure to do so could cause damage to the turbocharger.

    1. Install the gasket with the plain side towards the exhaust manifold.
    2. Install the turbocharger to the exhaust manifold.
    3. Notice: Refer to Fastener Notice in the Preface section.

    4. Install the washer and nuts to the exhaust manifold studs.
    5. Tighten
      Tighten the nuts to 52 N·m (38 lb ft).

    6. Install the oil drain tube and the gaskets to the turbocharger and the oil pan.
    7. Tighten
      Tighten the bolts to 27 N·m (20 lb ft).

    8. Install the oil feed line to the turbocharger.
    9. Install the joint bolt to the oil feed line.
    10. Tighten
      Tighten the joint bolts to 18 N·m (13 lb ft).

    11. Connect the gasket to the exhaust pipe adapter.
    12. Connect the exhaust pipe adapter to the turbocharger.
    13. Install the exhaust pipe adapter bolts and washers.
    14. Tighten
      Tighten the exhaust pipe adapter bolts to 26 N·m (19 lb ft).

    15. Install the coolant feed lines.
    16. Install the coolant return lines.
    17. Connect the pipe to the charge air cooler and the turbocharger. Refer to Charge Air Cooler Inlet Pipe and Outlet Pipe Replacement .
    18. Connect the air inlet hose to the turbocharger.
    19. Install the front exhaust pipe to the turbocharger. Refer to Exhaust Manifold Replacement in Engine Exhaust.
    20. Install the air cleaner layer. Refer to Air Cleaner Replacement .
    21. Connect the negative battery cable. Refer to Battery Negative Cable Disconnection and Connection in Engine Electrical.

    Turbocharger Replacement With CTF

    Removal Procedure

      Notice: If a turbocharger has failed, clean any turbocharger debris or excessive oil from the charge air cooler system before installing the new turbocharger. Failure to clean debris from the charge air cooler system will cause severe turbocharger and engine damage upon startup. Failure to clean excessive oil from the charge air cooler system may cause an engine runaway condition on startup, resulting in severe engine damage.

    1. Disconnect the negative battery cable at the battery. Refer to Battery Negative Cable Disconnection and Connection in Engine Electrical.
    2. Remove the air inlet pipe from the turbocharger and the charge air cooler . Refer to Charge Air Cooler Inlet Pipe and Outlet Pipe Replacement .

    3. Object Number: 1400959  Size: SH
    4. Remove the exhaust pipe clamp and the exhaust pipe and seal from the exhaust pipe adapter.

    5. Object Number: 1401136  Size: SH
    6. Disconnect the turbocharger vane position sensor electrical connector (1).
    7. Disconnect the turbocharger vane position control solenoid electrical connector (2).
    8. Remove the air cleaner layer. Refer to Air Cleaner Replacement .

    9. Object Number: 1253436  Size: SH
    10. Loosen the elbow clamp at the air cleaner assembly and the elbow clamp at the turbocharger and remove the duct assembly from the turbocharger and the air cleaner.

    11. Object Number: 1369870  Size: SH
    12. Remove the coolant feed line eye bolt (6), washers (4) and the coolant feed line (5) from the turbocharger.
    13. Remove the coolant return line eye bolt (1), washer (2) and the coolant return line (3) from the turbocharger.

    14. Object Number: 1369897  Size: SH
    15. Remove the oil feed pipe eye bolts (5, 9), gaskets (6, 10) and the oil feed pipe (1) from the engine block and the turbocharger.
    16. Remove the oil return tube bolts (3, 7) oil return tube (2) and gaskets (4, 8) from the turbocharger and the engine block.
    17. Remove the exhaust pipe adapter bracket bolts (5, 7, 8, 10) and the exhaust pipe adapter bracket (6, 9) from the exhaust pipe adapter (4) and the engine block.

    18. Object Number: 1369876  Size: SH
    19. Remove the exhaust pipe adapter nuts and washers (2, 3), the exhaust pipe adapter (4) and the exhaust pipe adapter gasket (1) from the turbocharger.

    20. Object Number: 1369898  Size: SH
    21. Remove the turbocharger nuts and washers (3), bolts (4), turbocharger (1) and gasket (2) from the exhaust manifold.

    Bearing Radial Clearance Measurement Procedure


      Object Number: 736622  Size: SH
    1. Use a dial indicator with an offset plunger and magnetic base. Set the plunger so that the indicator touches the turbocharger main shaft.
    2. Set the dial indicator to 0.
    3. Hold the turbocharger shaft to prevent it from moving. Move the compressor and turbine wheel up and down. Read the shaft diametical play (compressor and turbine side clearance) on the dial indicator.
    4. Specification
      Compressor and Turbine Shaft Play: 0.108-0.140 mm (0.0043-0.0055 in)

    Compressor End Play Measurement Procedure


      Object Number: 737438  Size: SH
    1. Use a dial indicator with an offset plunger and magnetic base. Set the plunger so that the indicator touches the turbocharger main shaft.
    2. Set the dial indicator to 0.
    3. Move the turbocharger shaft back and forth. Read the thrust end play (compressor clearance) on the dial indicator.
    4. Specification
      Thrust End Play: 0.045-0.090 mm (0.0018-0.0035 in)

    Inspection Procedure

    1. Inspect the gasket mating surfaces of the turbocharger for cracks.
    2. Inspect the turbine blades for carbon residue and other damage.
    3. Use your hand to rotate the compressor wheel. The compressor wheel must turn smoothly and freely. There must be no binding or abnormal noise.

    Installation Procedure


      Object Number: 1369898  Size: SH
    1. Install the new gasket (2). The unmarked side of the gasket must be facing the exhaust manifold.
    2. Install the turbocharger (1) to the exhaust manifold.
    3. Notice: Refer to Fastener Notice in the Preface section.


      Object Number: 1369897  Size: SH
    4. Install the oil drain tube (2) and gaskets (4, 8) to the turbocharger and cylinder block with bolts (3, 7).
    5. Tighten
      Tighten the oil drain tube bolts (3, 7) to 25 N·m (18 lb ft).


      Object Number: 1369898  Size: SH
    6. Install the washers and nuts (3) to the exhaust manifold bolts (4).
    7. Tighten
      Tighten the turbocharger nuts (3) to 52 N·m (38 lb ft).


      Object Number: 1369897  Size: SH

      Important: Pour 118.3 ml (4 ounces) of clean engine oil into the oil feed port to pre-lubricate the turbocharger. Turn the compressor wheel with your hand to distribute the oil.

    8. Install the oil feed pipe (1) and new gaskets (6) to the turbocharger and cylinder block with eye bolts (5, 9).
    9. Tighten

          • Tighten the eye bolt (9) to 34 N·m (25 lb ft).
          • Tighten the eye bolt (5) to 41 N·m (30 lb ft).
    10. Install the oil feed pipe clamp and bolt.

    11. Object Number: 1369876  Size: SH
    12. Install the new gasket (1) to the exhaust pipe adapter (4).
    13. Connect the exhaust pipe adapter (4) to the turbocharger.
    14. Install the exhaust pipe adapter nuts and washers (2, 3) to the turbocharger.
    15. Tighten
      Tighten the exhaust pipe adapter nuts to 26 N·m (19 lb ft).

    16. Install the exhaust pipe adapter bracket  (6, 9) to the cylinder block with bolts (5, 7, 8, 10).
    17. Tighten
      Tighten the exhaust pipe adapter bracket bolts (8, 10) to 24 N·m (18 lb ft).

    18. Install the exhaust pipe adapter bracket (6) to the exhaust pipe adapter (4) with bolts (5, 7).
    19. Tighten
      Tighten the exhaust pipe adapter bracket bolts (5, 7) to 50 N·m (37 lb ft).


      Object Number: 1369859  Size: SH
    20. Install the water pipes (1, 4) to the turbocharger with 2 new gaskets (2, 5) and eye bolts (3, 6).
    21. Tighten
      Tighten the joint bolts (3, 6) to 41 N·m (30 lb ft).


      Object Number: 1401136  Size: SH
    22. Connect the turbocharger vane position sensor electrical connector (1).

    23. Object Number: 1401136  Size: SH
    24. Connect the turbocharger vane position control solenoid electrical connector (2).

    25. Object Number: 1400959  Size: SH
    26. Install the exhaust pipe to the exhaust pipe adapter with seal and clamp.

    27. Object Number: 1253436  Size: SH
    28. Install the air cleaner duct assembly to the turbocharger with clamp.
    29. Connect the air inlet hose to the turbocharger and the charge air cooler. Refer to Charge Air Cooler Inlet Pipe and Outlet Pipe Replacement .
    30. Install the air cleaner layer. Refer to Air Cleaner Replacement .
    31. Connect the negative battery cable at the battery. Refer to Battery Negative Cable Disconnection and Connection in Engine Electrical.