GM Service Manual Online
For 1990-2009 cars only
Makes
🢒
GMC_Truck
🢒
2000
🢒
Yukon Denali
🢒
Body and Accessories
🢒
Garage Door Opener
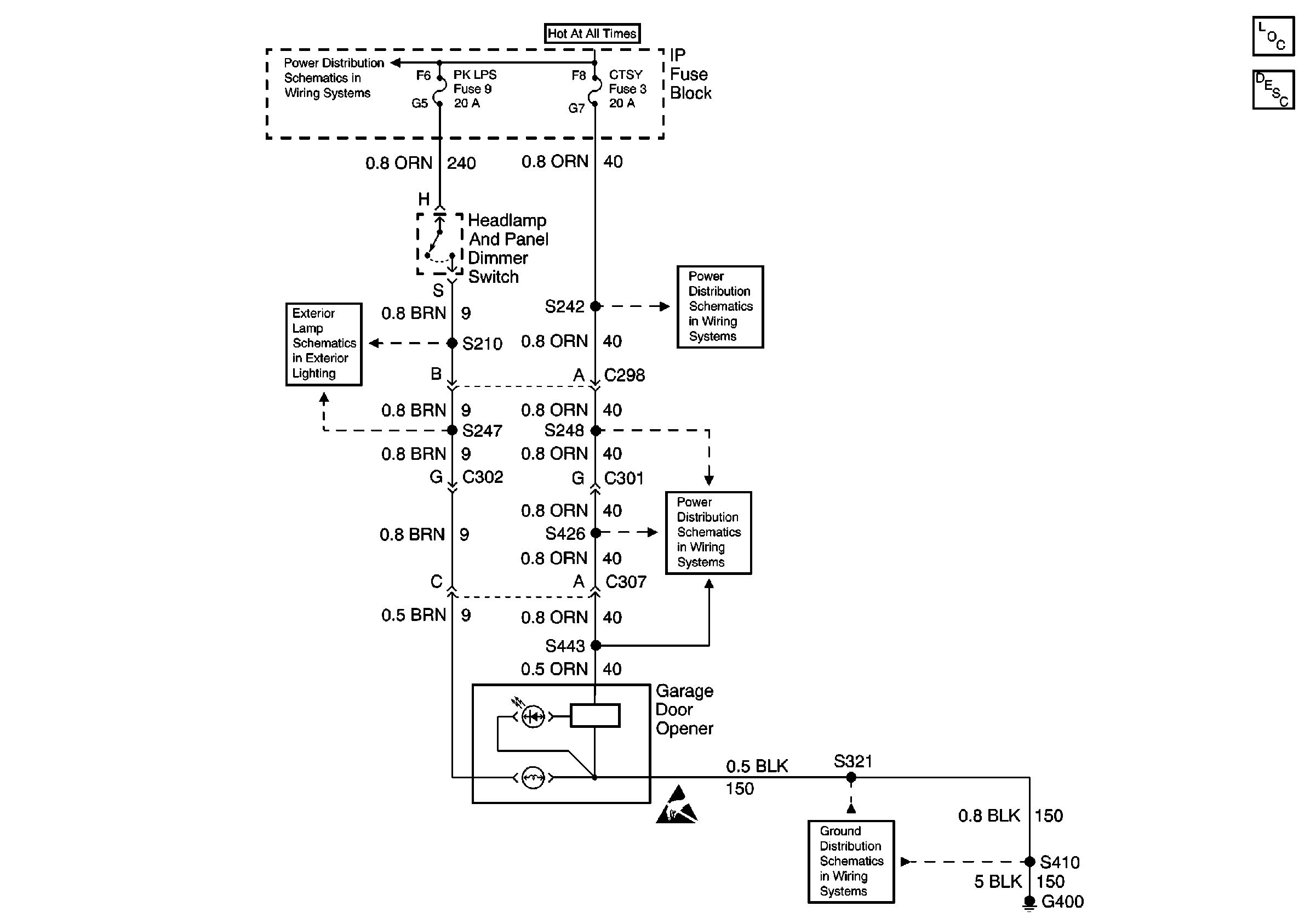
🢒 Garage Door Opener Schematics
Garage Door Opener Schematics Luxury
Garage Door Opener-Luxury
Garage Door Opener Schematics base
Garage Door Schematics-Base
Garage Door Opener Components
Garage Door Opener Circuit Description Base
SECURITY/STRG, PK LPS, and DRL-FOG Fuses
Power Window Switch Illumination
T CASE, and CTSY Fuses (2 of 2)
T CASE, and CTSY Fuses (2 of 2)
G400
Handling Electrostatic Discharge Sensitive Parts Notice