GM Service Manual Online
For 1990-2009 cars only
Makes
🢒
GMC_Truck
🢒
2000
🢒
Yukon Denali
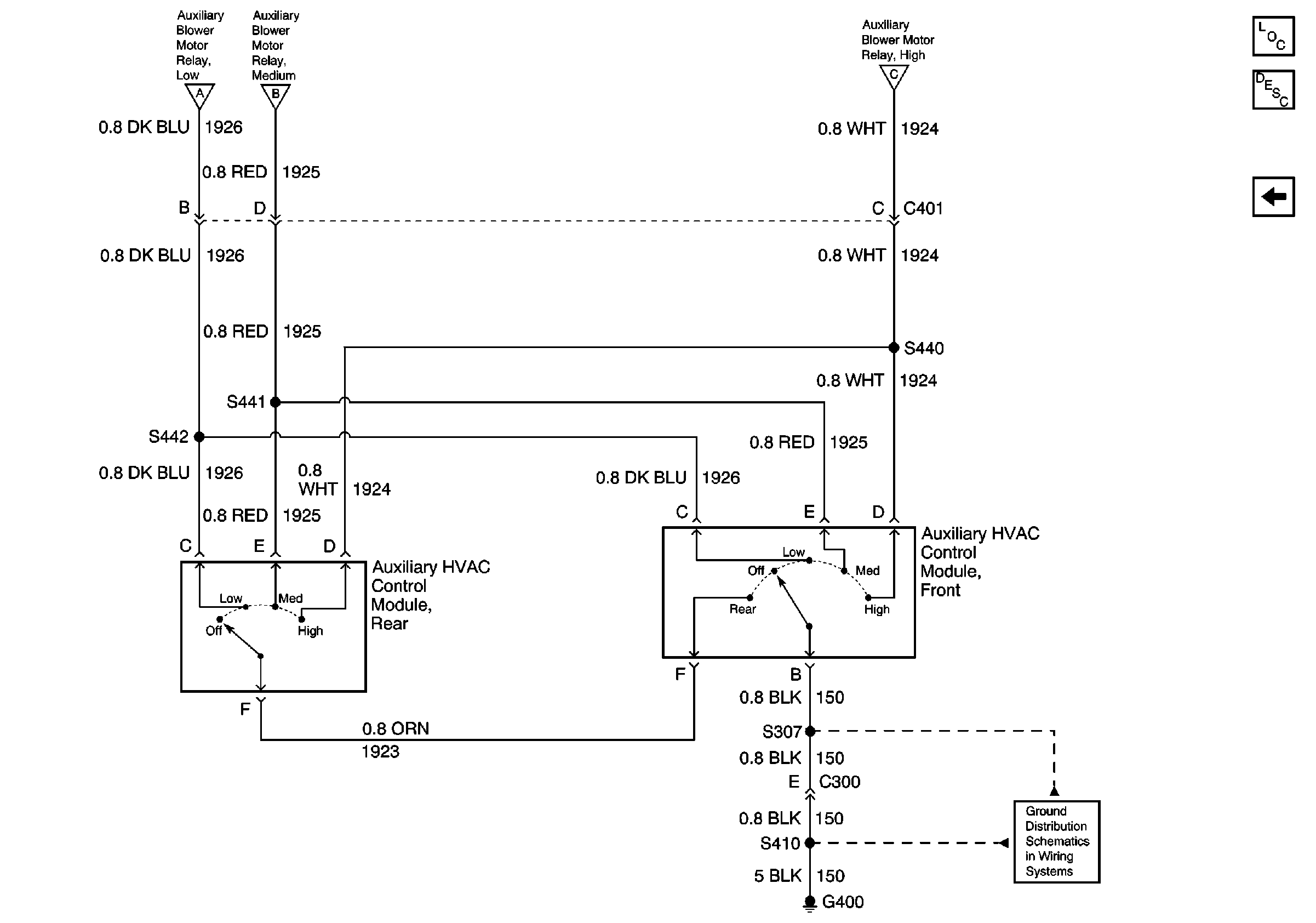
🢒 Auxiliary HVAC Controls (Auxiliary Heat or A/C)
Auxiliary HVAC Controls (Auxiliary Heat or A/C)
Auxiliary HVAC Controls (Auxiliary Heat or A/C)
Heater Blower Controls Components
HVAC Air Delivery/Temperature Control Circuit Description
Rear Blower Controls Switches
Rear Blower Controls Relays and Motors
Rear Blower Controls Relays and Motors
G400