GM Service Manual Online
For 1990-2009 cars only
Makes
🢒
GMC_Truck
🢒
2003
🢒
Yukon - 2WD
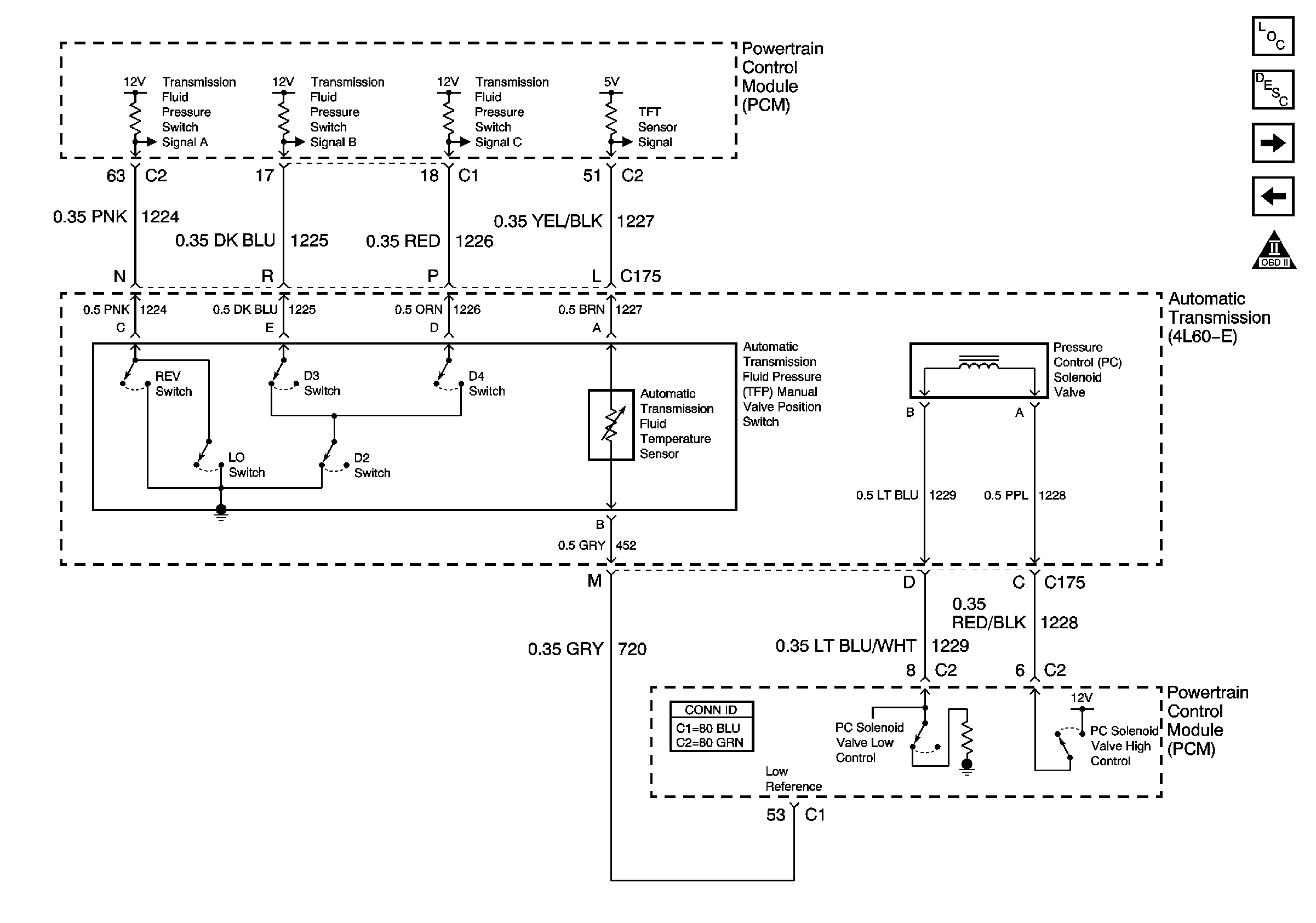
🢒 Switch Inputs
Switch Inputs
Switch Inputs
Master Electrical Component List
Electronic Component Description
Tow/Haul Switch and PNP Switch Inputs
Valve Controls and Brake Switch
Automatic Transmission Schematic Icons