GM Service Manual Online
For 1990-2009 cars only
Makes
🢒
GMC_Truck
🢒
2003
🢒
Yukon - 2WD
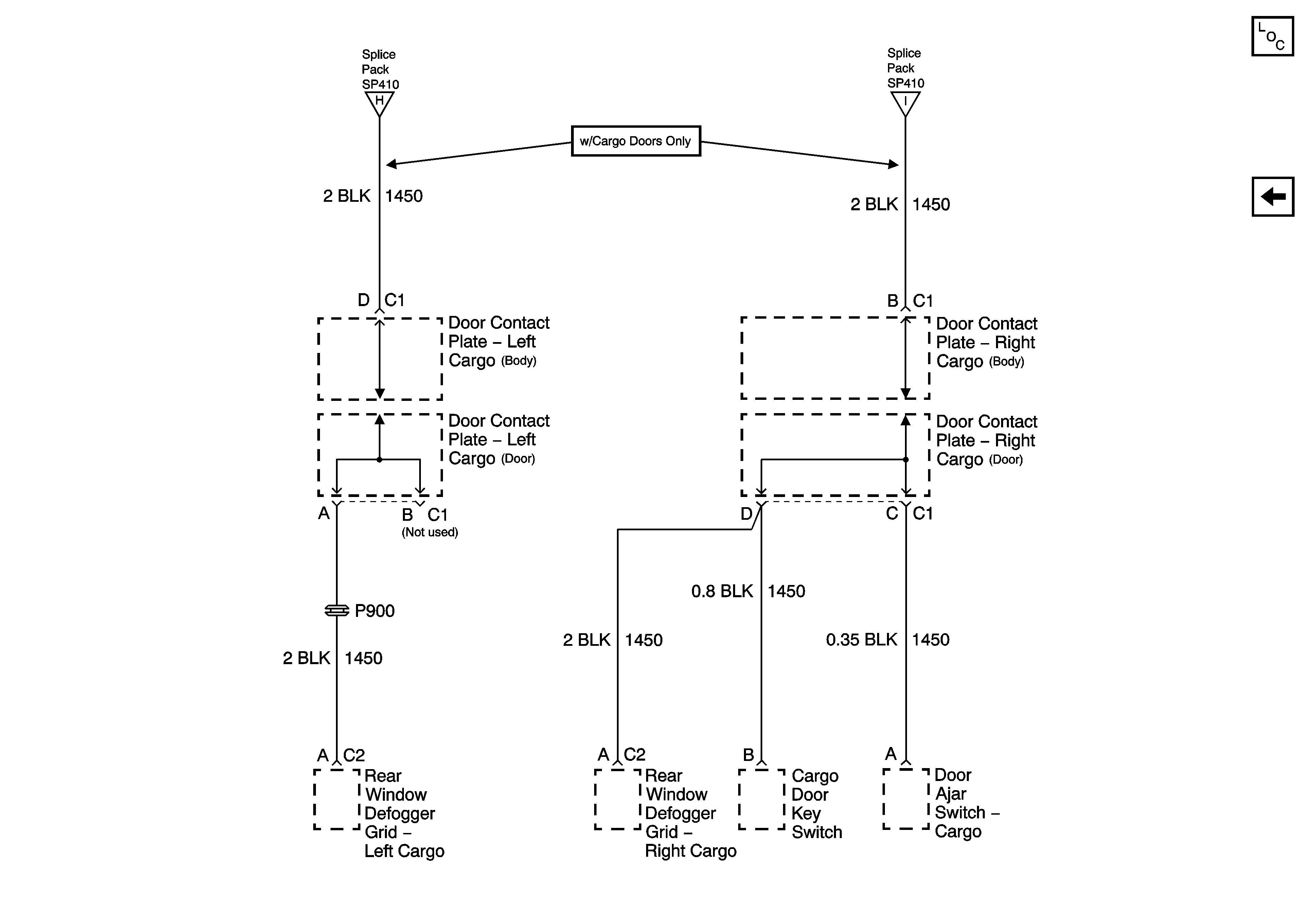
🢒 G410 - 3 Of 3
G410 - 3 Of 3
G410 - 3 of 3
Master Electrical Component List
G410 - 2 Of 3
G410 - 1 Of 3
G410 - 1 Of 3