GM Service Manual Online
For 1990-2009 cars only
Makes
🢒
GMC_Truck
🢒
2003
🢒
Yukon - 2WD
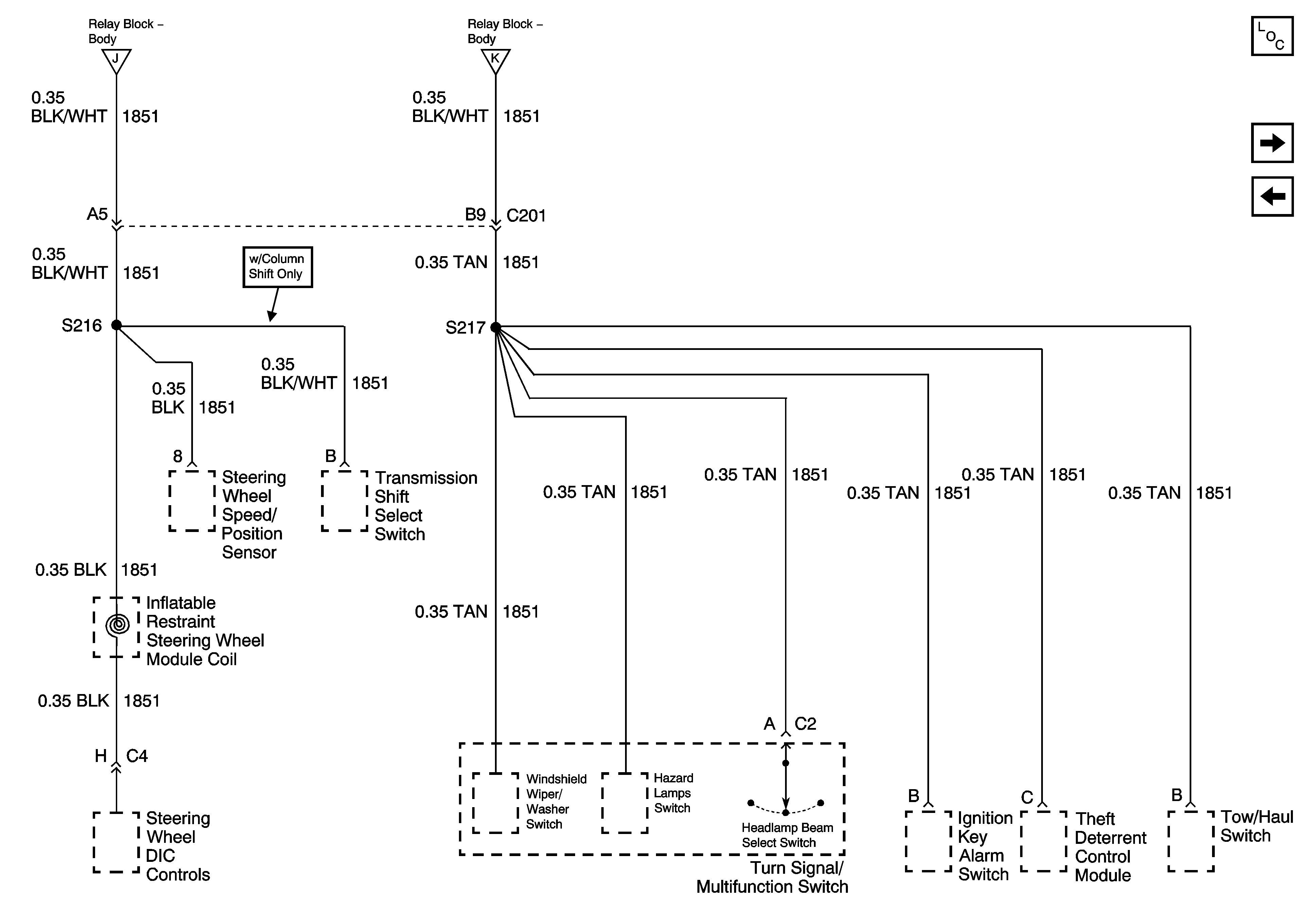
🢒 G203 - 3 of 3
G203 - 3 of 3
G203 - 3 of 3
Master Electrical Component List
G304, G305
G203 - 2 Of 2
G203 - 2 Of 2