GM Service Manual Online
For 1990-2009 cars only
Makes
🢒
GMC_Truck
🢒
2003
🢒
Yukon - 2WD
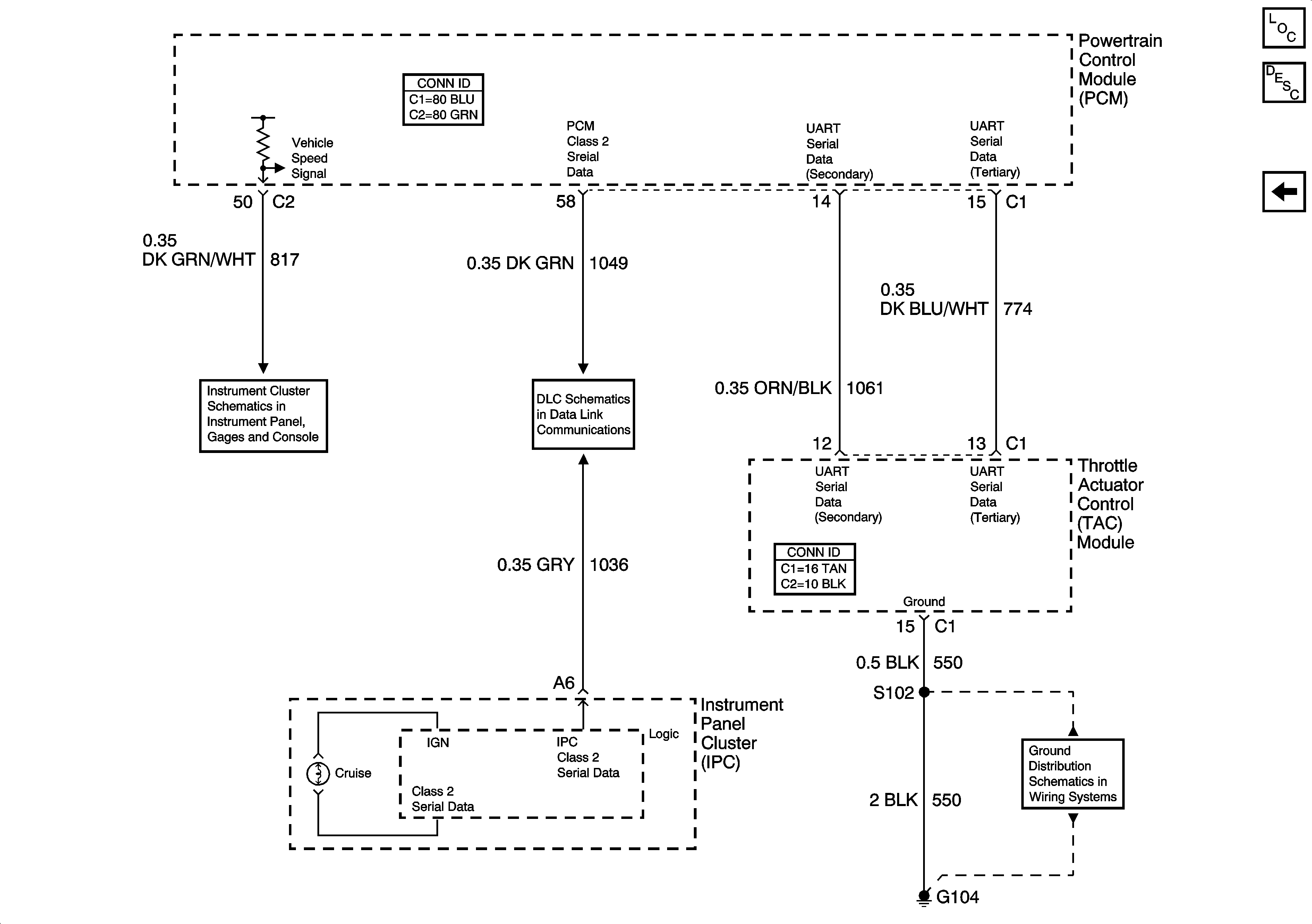
🢒 Ground and Class 2 Serial Data
Ground and Class 2 Serial Data
Ground and Class 2 Serial Data
Master Electrical Component List
Cruise Control Description and Operation
Power, Cruise Control Switch, and Stop Lamp Feed
SP205 - 2 of 2
G104, G107
Gauges, VSS, Engine Oil Signals