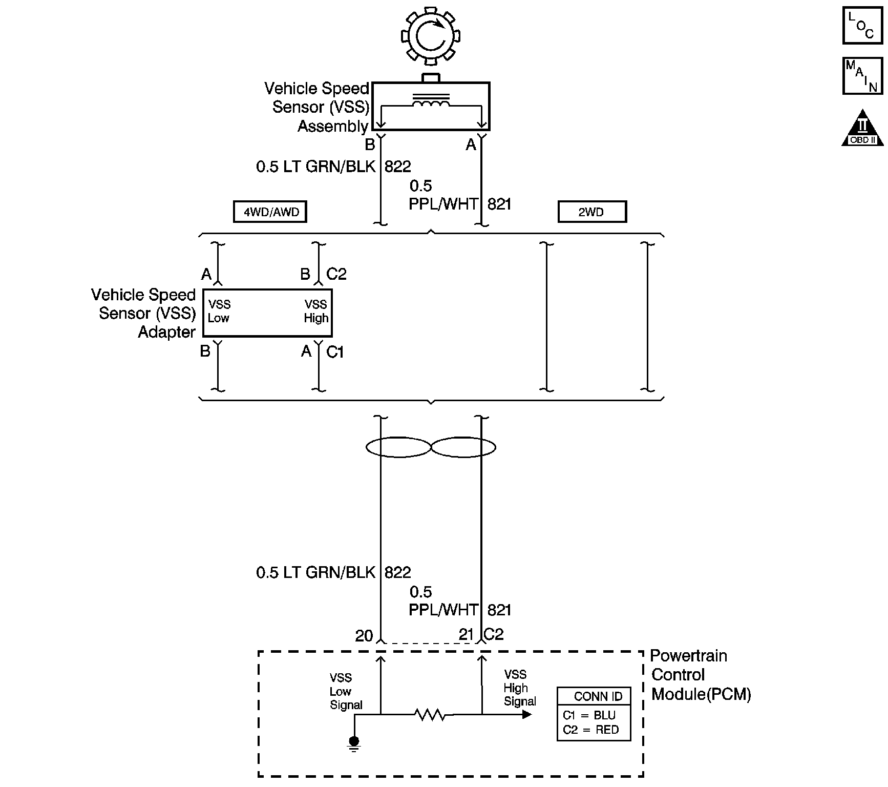
The vehicle speed sensor (VSS) assembly provides vehicle speed information to the powertrain control module (PCM). The VSS assembly is a permanent magnet generator. The VSS produces an AC voltage as rotor teeth on the output shaft of the transmission, 2WD, or transfer case, 4WD/AWD, pass through the sensor's magnetic field. The AC voltage level and the number of pulses increase as the speed of the vehicle increases. The PCM converts the pulsing voltage to vehicle speed. The PCM uses the vehicle speed signal to determine shift timing and torque converter clutch (TCC) scheduling.
When the PCM detects a low vehicle speed when there is a high engine speed in a drive gear range, then DTC P0502 sets. DTC P0502 is a type B DTC.
| • | No MAP sensor DTCs P0107 or P0108. |
| • | No TP sensor DTCs P0122 or P0123. |
| • | No TFP manual valve position switch DTC P1810. |
| • | The engine vacuum is 0-105 kPa (0-15 psi). |
| • | The engine torque is 54-542 N·m (40-400 lb ft). |
| • | The TP angle is greater than 12 percent. |
| • | The engine speed is greater than 3,000 RPM. |
| • | The transmission is not in PARK or NEUTRAL. |
The transmission output speed is less than 150 RPM for 3 seconds.
| • | The PCM illuminates the malfunction indicator lamp (MIL) during the second consecutive trip in which the Conditions for Setting the DTC are met. |
| • | The PCM commands second gear only. |
| • | The PCM commands maximum line pressure. |
| • | The PCM inhibits TCC engagement. |
| • | The PCM freezes shift adapts from being updated. |
| • | The PCM records the operating conditions when the Conditions for Setting the DTC are met. The PCM stores this information as Freeze Frame and Failure Records. |
| • | The PCM stores DTC P0502 in PCM history during the second consecutive trip in which the Conditions for Setting the DTC are met. |
| • | The PCM turns OFF the MIL during the third consecutive trip in which the diagnostic test runs and passes. |
| • | A scan tool can clear the MIL/DTC. |
| • | The PCM clears the DTC from PCM history if the vehicle completes 40 warm-up cycles without an emission-related diagnostic fault occurring. |
| • | The PCM cancels the DTC default actions when the fault no longer exists and/or the ignition switch is OFF long enough in order to power down the PCM. |
The numbers below refer to the step numbers on the diagnostic table.
Step | Action | Value(s) | Yes | No |
|---|---|---|---|---|
1 | Did you perform the Powertrain Diagnostic System Check? | -- | Go to Step 2 | Go to Diagnostic System Check - Engine Controls in Engine Controls - 4.8L, 5.3L and 6.0L |
2 |
Important: Before clearing the DTC, use the scan tool in order to record the Freeze Frame and Failure Records. Using the Clear Info function erases the Freeze Frame and Failure Records from the PCM. With the drive wheels rotating, does the scan tool Transmission OSS increase with the drive wheel speed? | -- | Go to Intermittent Conditions in Engine Controls - 4.8L, 5.3L and 6.0L | Go to Step 3 |
Does the resistance measure within the specified range? | 1,377-3,355 ohms (2WD) 976-2,354 ohms (4WD/AWD) | Go to Step 4 | Go to Step 7 | |
Does the voltage measure greater than the specified value? | 0.5 V | Go to Step 5 | Go to Step 12 | |
5 | Measure the resistance from terminal C2-21 to ground. Does the resistance measure greater than the specified value? | 50 K ohms | Go to Step 6 | Go to Step 9 |
6 |
Refer to Testing for a Short to Voltage and Wiring Repairs in Wiring Systems. Did you find and correct the condition? | -- | Go to Step 15 | Go to Step 14 |
7 |
Does the resistance measure within the specified range? | 1,377-3,355 ohms (2WD) 976-2,354 ohms (4WD/AWD) | Go to Step 8 | Go to Step 13 |
8 | Was the resistance measured in Step 3 greater than the specified value? | 3,355 ohms (2WD) 2,354 ohms (4WD/AWD) | Go to Step 10 | Go to Step 11 |
9 | Test the high circuit (CKT 821) of the VSS assembly for a short to ground. Refer to Testing for Short to Ground and Wiring Repairs in Wiring Systems. Did you find and correct the condition? | -- | Go to Step 15 | -- |
10 |
Refer to Testing for Continuity and Wiring Repairs in Wiring Systems. Did you find and correct the condition? | -- | Go to Step 15 | -- |
11 | Test the high circuit (CKT 821) and the low circuit (CKT 822) of the VSS assembly for a short together. Refer to Circuit Testing and Wiring Repairs in Wiring Systems. Did you find and correct the condition? | -- | Go to Step 15 | -- |
12 |
Did you find and correct the condition? | -- | Go to Step 15 | Go to Step 13 |
13 |
Important: For vehicles equipped with an active transfer case, identify the VSS assembly before replacing. There are two transfer case speed sensors located near the VSS assembly. Refer to the wire colors on the schematic to identify the VSS assembly. Replace the VSS assembly. Refer to Vehicle Speed Sensor Replacement . Did you complete the replacement? | -- | Go to Step 15 | -- |
14 | Replace the PCM. Refer to Powertrain Control Module Replacement in Engine Controls - 4.8L, 5.3L and 6.0L. Did you complete the replacement? | -- | Go to Step 15 | -- |
15 | Perform the following procedure in order to verify the repair:
Has the test run and passed? | -- | Go to Step 16 | Go to Step 2 |
16 | With the scan tool, observe the stored information, capture info, and DTC Info. Does the scan tool display any DTCs that you have not diagnosed? | -- | Go to Diagnostic Trouble Code (DTC) List in Engine Controls - 4.8L, 5.3L and 6.0L | System OK |