GM Service Manual Online
For 1990-2009 cars only

Object Number: 376512  Size: MF
OBD II Symbol Description Notice
Handling ESD Sensitive Parts Notice
Handling ESD Sensitive Parts Notice

Circuit Description

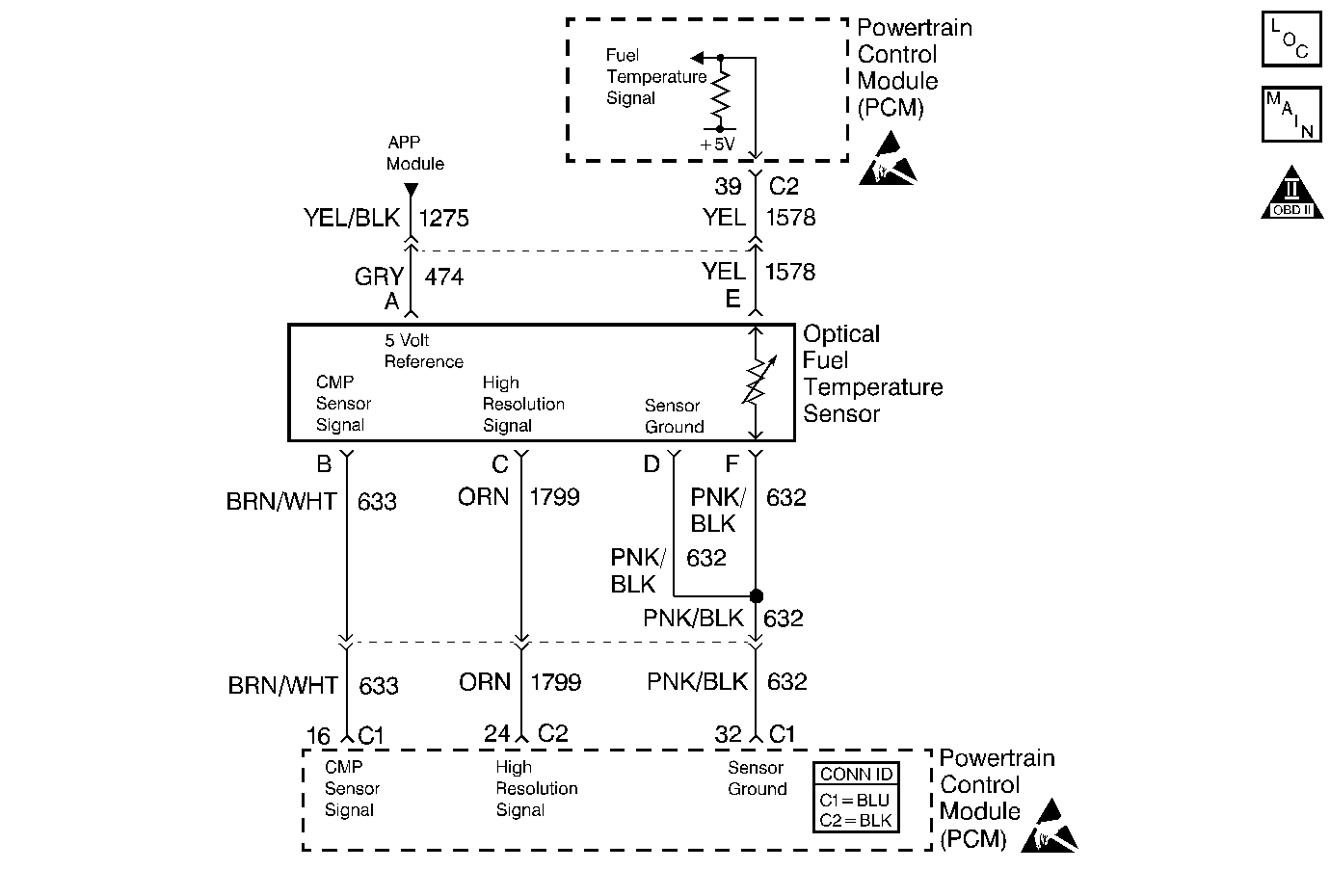
The optical sensor provides a high resolution signal to the PCM by counting pulses on the sensor disk located in the injection pump. The high resolution is one of the most important inputs by the PCM for fuel control and timing. This test monitors the number of high resolution pulses which have been missed (not detected). Its based on a comparison between the number of pulses that were detected since the last pump cam pulse and the number of the pulses that should have occurred. There are approximately 64 high resolution pulses for every Cam pulse.

Conditions for Running the DTC

The engine is operating.

Conditions for Setting the DTC

A number of high resolution pulses missing (internal to PCM (64 to 1 ratio) per every 8 cam reference pulses.

Action Taken When the DTC Sets

    • The PCM illuminates the malfunction indicator lamp (MIL) on the first consecutive drive trip that the diagnostic runs and fails.
    • The Freeze Frame records the operating conditions at the time of failure and updates the Failure Records.
    • The PCM will activate back up fuel.

Conditions for Clearing the MIL/DTC

    • The PCM will turn the MIL off after three consecutive trips without a fault condition.
    • A History DTC will clear after forty consecutive warm-up cycles, if this or any other emission related diagnostic does not report any failures.
    • Use a scan tool in order to clear MIL/DTC.

Diagnostic Aids

Important: A jumper wire needs to be made for proper diagnosis of the CAM and High Resolution signal circuits.

  1. Use a four inch piece of 18 (.8) gauge wire as the jumper (approximate length).
  2. Strip 1/4 inch off the insulation from each end.
  3. Crimp a female PCM terminal (part number 12084912) on one end.
  4. Crimp an alligator clip (or other holding device) on the other end.

Intermittent DTCs (P0251, P0370 and P1216) may be caused by air entering the fuel system when fuel levels get below 1/8 of a tank while performing hard acceleration or turning maneuvers. Its also possible that a DTC P0251, P0370 and P1216 will set if vehicle has run out of fuel. Customer driving habits should be checked to determine if vehicle has been performing in these manners. If it has been determine that the vehicle has been performing in these conditions, bleed fuel system of all air and test drive vehicle.

When PCM is in backup fuel, fast idle and poor performance problems will exist. If DTC P0251 is also stored, the snap shot mode on the scan tool should be used to properly identify fault. DTCs P0335, P1216, and P1217 may set along with this DTC.

The least likely cause of failure is the PCM.

Test Description

Number(s) below refer to the step number(s) on the Diagnostic Table.

  1. This step will determine if this is a hard or intermittent DTC.

  2. This step determines if the problem is currently active by the scan tool displaying Last Test Failed. Do not proceed any further with this table if the scan tool does not display the term Last Test Failed. Duplicating the conditions in Freeze Frame and Failure Records can help create an active fault.

  3. This step will determine if there is a 5 volt reference.

  4. This step checks the ground circuit.

  5. This step determines if a High Res signal is being sent to the PCM. Refer to the RPM vs Hertz table to compare the Hertz readings at different RPMs. Using Freeze Frame and Failure Records will help identify the RPM range where the problem occurs.

  6. This step will check to see if the sensor is sending a signal back to the PCM.

  7. The PCM supplies 5 volts on the high resolution signal circuit. This step determines if that voltage is present, not present, or too much voltage is present.

  8. The PCM supplies 5 volts on the high resolution signal circuit. This step determines if that voltage is present, not present, or too much voltage is present.

  9. This step determines if the signal circuit is shorted to 5 volts. A normal CAM signal circuit will have 3-5 mA. Any reading over 50 mA indicates a short to 5 volts.

Step

Action

Value(s)

Yes

No

1

Important: Before clearing any DTCs, use the scan tool Capture Info to save freeze frame and failure records for reference. The control module's data is deleted once the Clear Info function is used.

Did you perform the Powertrain On-Board Diagnostic (OBD) System Check?

--

Go to Step 2

 

2

  1. Start and idle the engine.
  2. With the throttle closed, observe the CAM Ref Missed display on the scan tool.

Is the scan tool display greater than the specified value?

8

Go to Step 4

Go to Step 3

3

  1. Start and operate the engine as close to the conditions saved in the Freeze Frame/Failure Records.
  2. Using the scan too, select DTC, specific and then enter the DTC number.

Does the scan tool display the term Last Test Failed?

--

Go to Step 4

Go to Diagnostic Aids

4

  1. Turn the ignition OFF.
  2. Disconnect the optical/fuel temperature sensor electrical connector.
  3. Turn the ignition ON leaving the engine OFF.
  4. Using a DMM measure the voltage between the optical sensor 5 volt reference circuit at the harness connector and chassis ground.

Is the voltage within the specified value?

4.8-5.2 V

Go to Step 5

Go to Step 8

5

Probe the sensor ground circuit with a unpowered test lamp connected to B+ at the harness connector.

Is the test light ON?

--

Go to Step 6

Go to Step 9

6

  1. Turn OFF the ignition.
  2. Reconnect the optical/fuel temperature sensor electrical connector.
  3. Important: The scan tool must display Last Test Failed (under DTC, specific). This ensures the fault is active while performing this test.

  4. Disconnect the PCM connector that contains the high resolution signal circuit.
  5. Remove the high resolution signal wire terminal from the PCM harness connector.
  6. Important: Refer to Diagnostic Aids for jumper wire constrution.

  7. Install a 4 inch jumper wire and terminal into the high resolution signal pin location at the PCM harness connector.
  8. Install the other end of the jumper with the alligator clip to the existing high resolution signal circuit terminal.
  9. Reconnect the PCM connector to the PCM.
  10. Maintain the engine speed at the point of failure (per conditions saved in the Freeze Frame /Failure Records).
  11. With the J 39200 DMM on the Hertz (Hz) scale, measure the frequency between the high resolution signal circuit at the jumper harness and ground. Refer to .

Is the RPM table value and the DMM value within the specified value?

+/- 100 Hz

Go to Step 7

Go to Step 11

7

  1. Turn the ignition OFF.
  2. Disconnect the PCM connector containing the camshaft position (CMP) sensor signal circuit.
  3. Remove the CMP sensor signal circuit from the PCM connector.
  4. Install a 4 inch jumper wire with the proper PCM connector terminal into the CMP sensor signal pin location on the PCM connector.
  5. Attach the other end of the jumper with an alligator clip to the CMP sensor circuit.
  6. Install the PCM connector in the PCM.
  7. Start and idle the engine.
  8. With a scan tool, command 900 RPM.
  9. With the DMM on the Hertz (Hz) scale, measure the Pump CAM signal circuit at the alligator clip and ground.

Is the Hertz reading at the specified value?

60 Hz +/-3 Hz

Go to Step 22

Go to Step 18

8

  1. Turn the ignition OFF.
  2. Disconnect the PCM and check the Optical sensor 5 volt reference circuit for an open, short to ground, or short to the sensor ground circuit.
  3. If the optical sensor 5 volt reference circuit is open or shorted to ground repair it as necessary. Refer to in Wiring Systems.

Is the optical sensor 5 volt reference circuit open or shorted to ground?

--

Go to Step 28

Go to Step 10

9

  1. Check for an open or a proper sensor ground terminal connection at the PCM.
  2. If a problem is found, repair it as necessary. Rin Wiring Systems.

Did you perform a repair

--

Go to Step 28

Go to Step 27

10

  1. Check the optical/fuel temperature 5 volt reference circuit for a proper connection at the PCM.
  2. Replace the terminal if necessary. Refer to n Wiring Systems.

Did you perform a repair?

--

Go to Step 28

Go to Step 27

11

  1. Disconnect the optical/fuel temperature sensor electrical connector.
  2. Turn the ignition ON leaving the engine OFF.
  3. With a DMM connected to ground, probe the high resolution signal circuit at the harness connector.

Is the voltage at the specified value?

3.0-4.0 V

Go to Step 15

Go to Step 12

12

Is the voltage greater than or equal to the specified value?

4.8-5.2 V

Go to Step 13

Go to Step 14

13

Repair the short to battery/ignition voltage on the high resolution sigin Wiring Systems.

Is the action complete?

--

Go to Step 28

--

14

  1. Turn the ignition OFF.
  2. Disconnect the PCM and check the high resolution signal circuit for an open, short to ground, or a short to the sensor ground circuit.
  3. If a problem is found, repair the problem as necessary. Refer toin Wiring Systems.

Did you perform a repair?

--

Go to Step 28

Go to Step 22

15

With a DMM set to the mA scale, measure the current between the High Res signal circuit and the ground circuit at the optical/fuel temperature sensor electrical connector.

Is the current less than the specified value?

50 mA

Go to Step 17

Go to Step 16

16

Repair the short to reference voltage on the high resolution signal circuit. Refer to in Wiring Systems.

Is the action complete?

--

Go to Step 28

--

17

  1. Check the high resolution signal circuit for a proper connection at the injection pump.
  2. If a problem is found, repair the problem as necessary. Refer to in Wiring Systems.

Did you perform a repair?

--

Go to Step 28

Go to Step 26

18

  1. Turn the ignition ON, keeping the engine OFF.
  2. Disconnect the optical/fuel temperature sensor electrical connector.
  3. With a DMM connected to ground, probe the CAM signal circuit.

Is the voltage within the specified value

4.2-4.8 V

Go to Step 23

Go to Step 19

19

Is the voltage greater than or equal to the specified value?

4.2-5.2 V

Go to Step 20

Go to Step 21

20

Repair the short to battery/ignition voltage on the CAM signal circuit.

Is the action complete?

--

Go to Step 28

--

21

  1. Turn the ignition OFF.
  2. Check the CAM signal circuit for an open or a short to ground.
  3. If the CAM signal circuit is open or shorted to ground, repair the circuit as necessary.

Is the CAM signal circuit open or shorted to ground?

--

Go to Step 28

Go to Step 22

22

Check for a proper connection at the PCM harness terminal and replace the terminal if necessary. Refer to in Wiring Systems.

Did you perform a repair?

--

Go to Step 28

Go to Step 27

23

With a DMM set to the mA scale, measure the current between the CAM signal circuit and the ground circuit at the optical/fuel temperature sensor electrical connector.

Is the current less than the specified value?

50 mA

Go to Step 25

Go to Step 24

24

Repair the short to reference voltage on the CAM signal circuit. Refer to in Wiring Systems.

Is the action complete?

--

Go to Step 28

--

25

  1. Check for a proper connection at the injection pump.
  2. If a problem is found, repair the problem as necessary. Refer to in Wiring Systems.

Did you find a problem?

--

Go to Step 28

Go to Step 26

26

Important: The new injection pump must be timed. Refer to .

Replace the injection pump. Refer to

Is the action complete?

--

Go to Step 28

--

27

Important: The new PCM must be programmed. Refer to

Replace the PCM.

Important:  The new PCM must be programmed. Refer to

Is the action complete?

--

Go to Step 28

--

28

  1. Using the scan tool, clear the DTCs.
  2. Start the engine.
  3. Allow the engine to idle until the engine reaches normal operating temperature.
  4. Select DTC and the Specific DTC function.
  5. Enter the DTC number which was set.
  6. Operate the vehicle, with the Conditions for Setting this DTC, until the scan tool indicates the diagnostic Ran.

Does the scan tool indicate the diagnostic Passed?

--

Go to Step 29

Go to Step 2

29

Does the scan tool display any additional undiagnosed DTCs?

--

Go to the applicable DTC Table

System OK