GM Service Manual Online
For 1990-2009 cars only

Tools Required

    • J 8092 Universal Driver Handle
    • J 22912-B Split Plate Bearing Puller
    • J 43075 Drive Pinion Bearing and Cup Installer
    • J 45115 Bearing Cup Remover
    • J 45124 Removal Bridge

    Object Number: 781274  Size: SH

    Notice: Bearings and cups must be replaced as a set. Do not replace a bearing without also replacing the corresponding cup, or replace a cup without replacing the corresponding bearing. Failure to replace both components may damage the front differential carrier assembly.

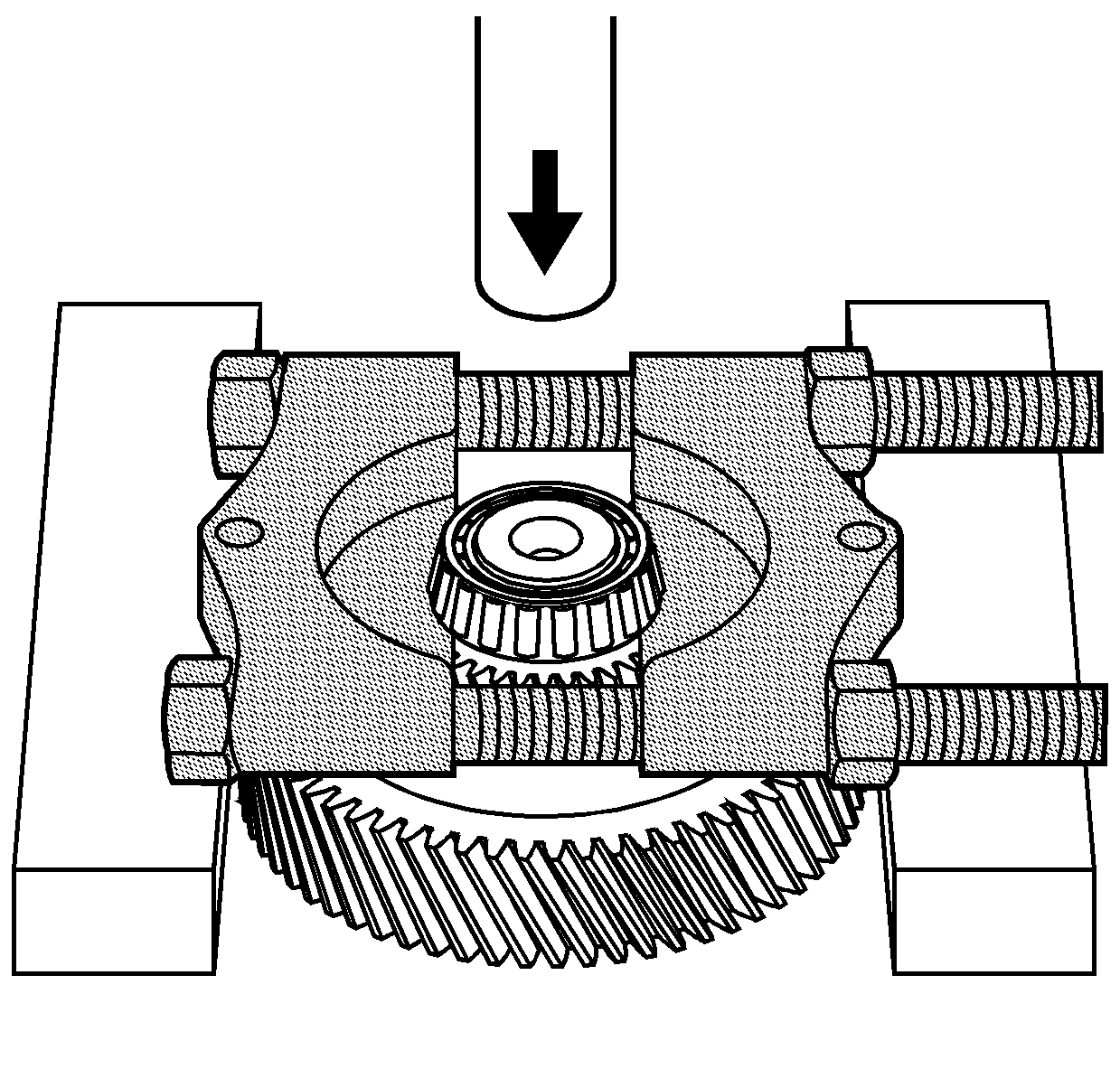
  1. Using the J 22912-B and an arbor press, remove the bearing assembly from the front differential drive pinion gear - transmission case side.

  2. Object Number: 781276  Size: SH
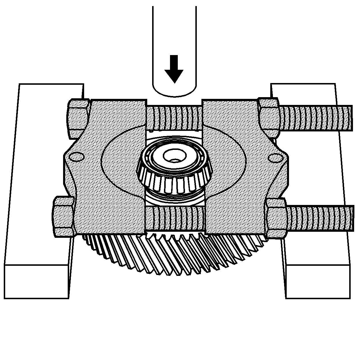
  3. Using the J 22912-B and an arbor press, remove the bearing assembly from the front differential drive pinion gear - torque converter and differential housing side.

  4. Object Number: 781277  Size: SH
  5. Using the J 43075 and an arbor press, install the bearing assembly on the front differential drive pinion gear - transmission case side.

  6. Object Number: 781281  Size: SH
  7. Using the J 43075 and an arbor press, install the bearing assembly on the front differential drive pinion gear - torque converter and differential housing side.

  8. Object Number: 781283  Size: SH
  9. Install the J 45115 into the drive pinion gear bearing cup on the transmission case assembly.
  10. Using 2 wrenches, tighten the J 45115 .

  11. Object Number: 781291  Size: SH
  12. Using a wrench, the J 45124 and the J 45115 , remove the drive pinion gear bearing cup from the transmission case assembly.
  13. Important: The bearing shim is reusable.

  14. Remove the drive pinion gear bearing shim from the transmission case assembly.

  15. Object Number: 781288  Size: SH
  16. Install the J 45115 into the drive pinion gear bearing cup on the torque converter and differential housing assembly.
  17. Using 2 wrenches, tighten the J 45115 .

  18. Object Number: 781296  Size: SH
  19. Using a wrench, the J 45124 and the J 45115 , remove the drive pinion gear bearing cup from the torque converter and differential housing assembly.
  20. Important: The bearing shim is reusable.

  21. Remove the drive pinion gear bearing shim from the torque converter and differential housing assembly.

  22. Object Number: 781285  Size: SH
  23. Install the drive pinion gear bearing shim into the transmission case assembly.

  24. Object Number: 781293  Size: SH
  25. Using the J 8092  (1), the J 43075  (2) and a hammer, install the drive pinion gear bearing cup into the transmission case assembly.

  26. Object Number: 781290  Size: SH
  27. Install the drive pinion gear bearing shim into the torque converter and differential housing assembly.

  28. Object Number: 781299  Size: SH
  29. Using the J 8092  (1), the J 43075  (2) and a hammer, install the drive pinion gear bearing cup into the torque converter and differential housing assembly.