GM Service Manual Online
For 1990-2009 cars only

Tools Required

    • J 3289-20 Holding Fixture
    • J 3940 Bearing Race Remover
    • J 22912-B Bearing Puller
    • J 44854 Side Bearing Remover
    • J 44855 Side Bearing Installer
    • J 44858 Bearing Remover
    • J 44864 Pinion Nut Wrench
    • J 44865 Spline Socket
    • J 44869 Assembly Holding Fixture

    Object Number: 693541  Size: SH
  1. Remove the drain plug, and drain the fluid.

  2. Object Number: 792776  Size: SH
  3. Remove the fill plug.

  4. Object Number: 693545  Size: SH
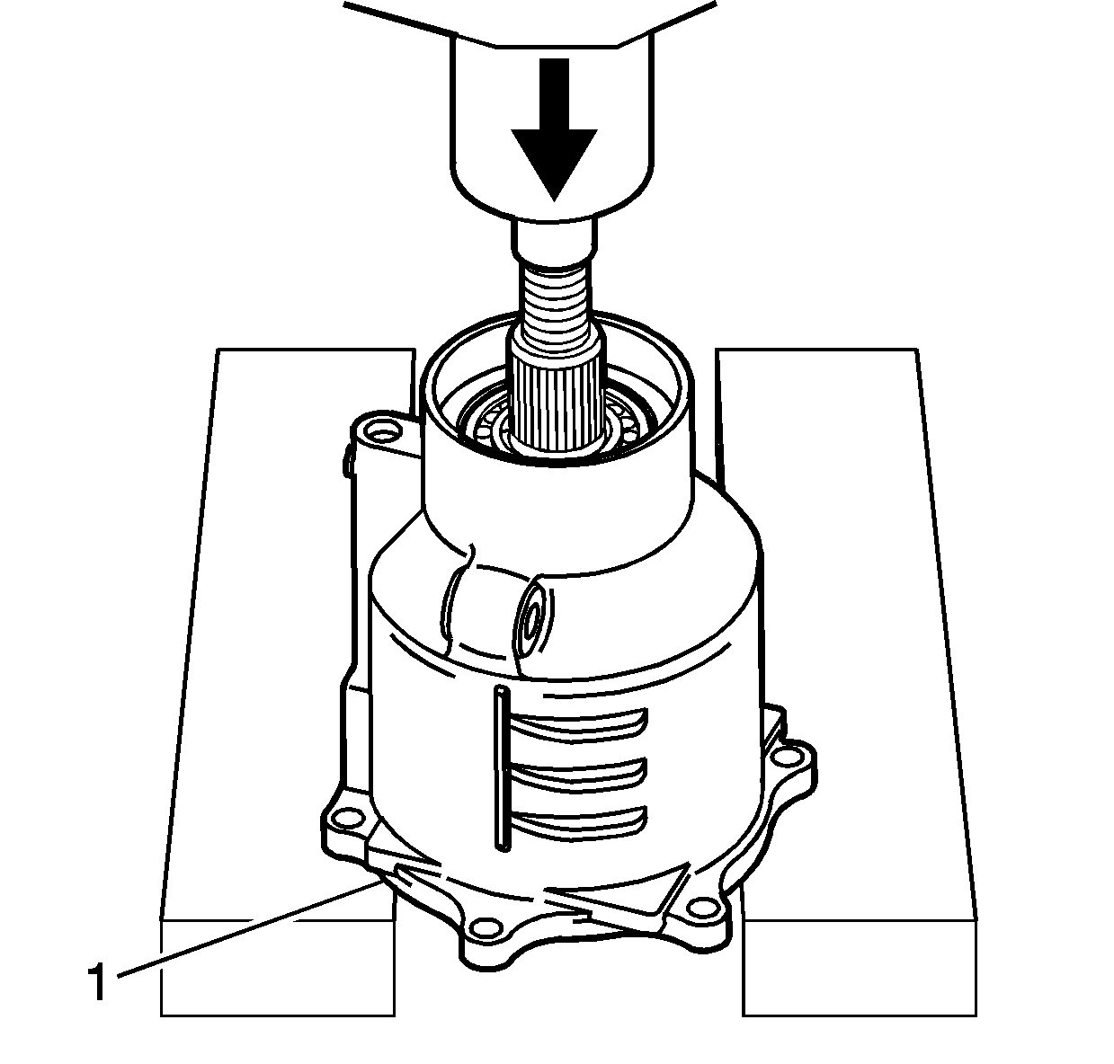
  5. Remove the rear mounting bracket (2) and bolts (3).

  6. Object Number: 693549  Size: SH
  7. Remove the nut (1) and flange (2).

  8. Object Number: 693550  Size: SH
  9. Remove the dust deflector (2) from the flange (1), if required.

  10. Object Number: 693554  Size: SH
  11. Remove the flange oil seal (1) from the clutch cover.

  12. Object Number: 792777  Size: SH
  13. Remove the bolts (1) and clutch cover (2) from the differential housing.

  14. Object Number: 735400  Size: SH
  15. Remove the filter assembly.
  16. Remove the dowel pins.

  17. Object Number: 693563  Size: SH
  18. Position the clutch cover (1) into a press in order to remove the clutch drum.

  19. Object Number: 693566  Size: SH

    Notice: Do not submerge the clutch drum in solvent. Solvents will damage the friction material and gerotor pump.

    Important: The clutch drum is not serviceable. If inoperative conditions are found, replace the unit.

  20. Remove the clutch drum (2) from the clutch cover (1).

  21. Object Number: 693569  Size: SH
  22. Remove the snap ring (1) from the clutch cover.

  23. Object Number: 693571  Size: SH
  24. Remove the bearing (1), and clutch drum front oil seal (2) from the clutch cover.

  25. Object Number: 750958  Size: SH
  26. Remove the clutch drum rear oil seal (1) from the housing.

  27. Object Number: 792779  Size: SH
  28. Attach the J 44869  (1) to the housing, using 4 clutch cover bolts.
  29. Install the housing and fixture into the J 3289-20  (2) base.

  30. Object Number: 792780  Size: SH
  31. Remove the rear cover bolts, 4 M8 and 4 M10.

  32. Object Number: 792783  Size: SH

    Important: The rear differential carrier may come out with the cover.

  33. Remove the rear cover by prying it off at the pry point locations.

  34. Object Number: 734836  Size: SH
  35. Remove the right and left axle shaft oil seals.

  36. Object Number: 792784  Size: SH
  37. Remove the differential carrier, place a screw driver in the axle differential bore and pry up.

  38. Object Number: 693575  Size: SH

    Important: Mark or tag the bearing races and shims for assembly.

  39. Remove the carrier assembly (1), bearing races (2), and shims (3).

  40. Object Number: 693576  Size: SH

    Important: DO NOT reuse the ring gear bolts. Use NEW bolts during assembly.

  41. Remove the bolts (3) and the ring gear (1) from the carrier (2).

  42. Object Number: 693578  Size: SH
  43. Identify the lock pin location (1) within the differential case.

  44. Object Number: 693579  Size: SH
  45. Drive the pinion shaft roll pin from the access hole (3) until the pinion shaft pin (2) can be removed from the differential case (1).

  46. Object Number: 748624  Size: SH
  47. Remove the washers (1), the pinion gears (2), and the side gears (3) from the differential case.

  48. Object Number: 734838  Size: SH
  49. Using the J 44854  (3), J 22912-B  (2), and J 44855  (1), place the carrier into a press and press off the bearing.
  50. Turn the carrier over, using the same process, remove the right side differential bearing.

  51. Object Number: 693580  Size: SH
  52. Using a punch, bend out the flats on both sides of the pinion nut.

  53. Object Number: 792787  Size: SH
  54. Place the J 44864  (1) over the pinion shaft. Turn the shaft to align the hex nut with the flat on the J 44869  (2).

  55. Object Number: 792790  Size: SH
  56. Place the J 44865  (1) and breaker bar over the pinion splines. Remove the nut.

  57. Object Number: 792792  Size: SH

    Important: The pinion nut is not reusable.

  58. Remove the J 44864  (1) and nut.
  59. Remove the 4 bolts from the J 44869  (2), and remove the J 44869 from the housing.

  60. Object Number: 693586  Size: SH
  61. Position the differential housing into a press in order to remove the pinion shaft.

  62. Object Number: 693590  Size: SH

    Important: The collapsible spacer is not reusable.

  63. Remove the front bearing (1), the collapsible spacer (2), and the pinion shaft (3).

  64. Object Number: 792796  Size: SH

    Important: The bolt is left hand threaded.

  65. Place the J 3940 behind the rear pinion bearing race in the grooves. Spread the arms and tighten the lock bolt.
  66. Place the housing in a press and remove the race.

  67. Object Number: 792798  Size: SH
  68. Place the J 3940 behind the front bearing race in the grooves. Spread the arms and tighten the lock bolt.
  69. Place the housing in a press and remove the race.

  70. Object Number: 693592  Size: SH
  71. Using the J 44858  (2) and the J 22912-B  (1), place the V of the split plate in the groove of the J 44858  (2). Tighten the nuts.
  72. Important: The pinion shim is located under the bearing. Measure and mark or tag when removed.

  73. Place the pinion shaft and tools in a press, remove the bearing and shim.