GM Service Manual Online
For 1990-2009 cars only

Tools Required

    • J 36850 Assembly Lubricant
    • J 45112-1 Pump Drive Shaft Retaining Ring Sizing Rod
    • J 45112-2 Pump Drive Shaft Retaining Ring Sizer/Installer
    • J 45198 Pump Drive Shaft Seal Installer

    Object Number: 781147  Size: SH
  1. Inspect the pump housing for damage. Ensure that the inside of the housing is free of any debris.

  2. Object Number: 780798  Size: SH
  3. Install a NEW outer O-ring seal into the pump housing seal groove.
  4. Important: Avoid twisting the square-cut seal during installation. Also ensure that the seal is positioned so that it does not interfere with the rectangular-shaped discharge port on the side of the pump housing.

  5. Install a NEW outer white square-cut seal onto the pump housing. Push the seal flush against the housing shoulder.

  6. Object Number: 828620  Size: SH

    Important: Using the J 36850 , lubricate the pump drive shaft seal for ease of installation.

  7. Using the J 45198 , install a NEW pump drive shaft seal into the pump housing.

  8. Object Number: 781145  Size: SH

    Important: The inner pump O-ring seal fits into the second ID groove from the pump end. The first ID groove from the pump end is for the end cover retaining ring.

  9. Install a NEW inner O-ring seal into the pump housing seal groove.
  10. Apply the J 36850 to the ID of the O-ring seal.

  11. Object Number: 781143  Size: SH
  12. Install the 2 cam ring dowel pins into the locating holes in the pump housing.

  13. Object Number: 781148  Size: SH

    Important: The pump rotor vanes are symmetrical and may be assembled in any orientation.

  14. Inspect the thrust plate, pump rotor and pump rotor vanes for damage.

  15. Object Number: 781149  Size: SH
  16. Install the thrust plate and rotor, with vanes, on the drive shaft.

  17. Object Number: 781150  Size: SH

    Notice: Use care when mounting the drive shaft in the vise. Nicks or score marks on the drive shaft could damage the pump.

  18. Mount the drive shaft and rotor in a vise.
  19. Using the J 45112-2  (1), size a NEW drive shaft retaining ring on the J 45112-1  (2).

  20. Object Number: 781151  Size: SH

    Notice: Ensure that the drive shaft retaining ring is uniformly installed on the drive shaft. A crooked or improperly installed retaining ring could damage the pump.

  21. Using the J 45112-2  (1) and the J 45112-1  (2), install the drive shaft retaining ring into the groove on the drive shaft.

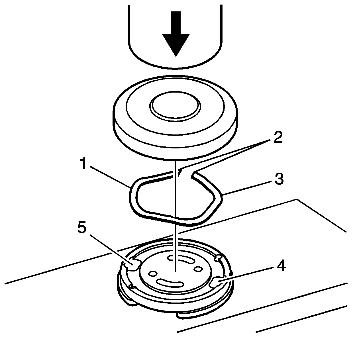
  22. Object Number: 781153  Size: SH

    Important: If an acceptable measurement is not obtained, install a NEW retaining ring.

  23. Measure the OD of the installed retaining ring. The measurement should be 12.54 mm (0.49 in) or less.

  24. Object Number: 781154  Size: SH
  25. Insert the drive shaft, thrust plate and rotor as a unit into the pump housing. Align the two holes in the thrust plate with the cam dowel pins.
  26. Important: It is normal to have to overcome some resistance caused by the lip seal on the sprocket end of the shaft.

  27. Push down on the shaft until the thrust plate and rotor are fully positioned in the pump housing.

  28. Object Number: 781155  Size: SH
  29. Install the cam ring into the pump housing, aligning the cam ring through-holes on the dowel pins. Ensure that the cam ring inlet notches are aligned with the thrust plate scallops.

  30. Object Number: 781156  Size: SH
  31. Install a NEW O-ring seal into the pump end cover groove.
  32. Apply the J 36850 to the ID of the O-ring seal.

  33. Object Number: 781157  Size: SH
  34. Center the pressure plate, flat side down, on a flat block under an arbor press.
  35. Important: The pressure plate spring must be positioned in the pressure plate so that the free ends (2) are up and the higher areas (1 and 3) of the spring are located above the through-hole ports (4 and 5) in the pressure plate.

  36. Position the pressure plate spring into the groove on the top of the pressure plate.
  37. Important: The end cover must be pressed square to the pressure plate in order to avoid cutting the O-ring seal.

  38. Using the arbor press, press the end cover on the pressure plate until the O-ring seal is fully engaged onto the pressure plate outside diameter.
  39. Inspect for any signs of a cut O-ring seal. If required, repeat the assembly with a NEW O-ring seal.

  40. Object Number: 781158  Size: SH
  41. To aid in the assembly of the end cover, use a permanent marker and mark the pump housing adjacent to the cam ring dowel pins.
  42. Mark the end cover adjacent to the dowel pin holes located in the pressure plate.
  43. Position the end cover and pressure plate assembly in the pump housing, aligning the through-holes in the pressure plate with the dowel pins.
  44. Verify the correct orientation of the end cover into the pump housing by using the marks (1) made in Steps 23 and 24.

  45. Object Number: 781159  Size: SH

    Notice: Do not position the pump assembly on the inlet face. Damage to the inlet face may cause the pump assembly to become inoperative.

  46. Position the pump assembly on an arbor press so that the pump drive shaft end is face-down and the pump assembly is resting on its outer diameter rim face.
  47. Position the end cover retaining ring onto the end of the pump.
  48. Center the arbor press over the pump end cover.
  49. Using the arbor press, apply a light load to the pump end cover in order to install the end cover retaining ring.
  50. Notice: Use care when installing the end cover retaining ring. Damage to the pump housing groove may cause the pump to become inoperable.

    Important: When installing the end cover retaining ring, locate the open end of the retaining ring opposite of the retaining ring access hole in the pump housing.

  51. Using a small screwdriver, install the end cover retaining ring into the pump housing groove.
  52. Release the arbor press load from the pump end cover.
  53. Rotate the drive shaft by hand in order to ensure that the pump rotates freely.

  54. Object Number: 781160  Size: SH

    Important: If an acceptable measurement is not obtained, install a NEW retaining ring.

  55. Measure the inside diameter of the installed end cover retaining ring in the following 3 places:
  56. • At approximately 6 mm (0.24 in) from each end of the retaining ring
    • At 90 degrees from the retaining ring end gap.

    Cover Retaining Ring Specification
    The measurement for each should be 60.74 mm (2.39 in) or more.