GM Service Manual Online
For 1990-2009 cars only

Caution: Storing a jack, a tire, or other equipment in the passenger compartment of the vehicle could cause injury. In a sudden stop or collision, loose equipment could strike someone. Store all these in the proper place.

The flat tire and jack are stored in the compact spare tire compartment as follows:

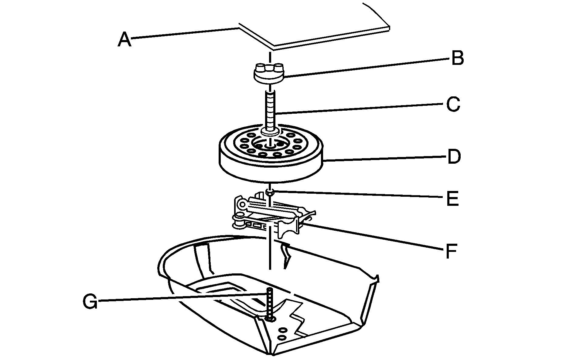
  1. Remove the bolt extension (in the yellow sleeve) from the jack and remove the center cap from the wheel.

  2. Object Number: 1518593  Size: B3
  3. Place the jack over the bolt (A) on the floor, making sure it contacts the bolt as shown, and thread the jack retainer nut until it contacts the jack.
  4. With the valve stem up, place the tire on the compartment floor with the rear of the tire beneath the trim panel (tire may not lay completely flat).
  5. Line up a wheel nut hole with the bolt.
  6. With the yellow cap in place to prevent the wheel from being scratched, screw the bolt extension onto the bolt through the wheel nut hole.
  7. Remove the yellow cap from the bolt extension.
  8. Secure the tire and wheel with the larger wing nut.

Object Number: 1512609  Size: B3
  1. Cover

  2. Wing Nut

  3. Bolt Extension

  4. Spare Tire

  5. Nut

  6. Jack

  7. Bolt

The compact spare is for temporary use only. Replace the compact spare tire with a full-size tire as soon as you can. See Compact Spare Tire . See the storage instructions label to replace your compact spare into your trunk properly.

Storing a Flat or Spare Tire and Tools Base Model

Caution: Storing a jack, a tire, or other equipment in the passenger compartment of the vehicle could cause injury. In a sudden stop or collision, loose equipment could strike someone. Store all these in the proper place.

After the compact spare tire has been installed on the vehicle, store the flat tire in the trunk.

When storing a full-size tire, use the extension with the extension protector, located in the foam holder, to help avoid wheel surface damage.

To store a full-size tire:

  1. Install the tools in their original location in the trunk area and secure.
  2. Place the tire valve stem facing down and the protector/guide placed through a wheel bolt hole.
  3. Remove the protector and attach the retainer securely.
  4. Store the cover as far forward as possible.

When storing a compact spare tire in the trunk, put the protector back in the foam holder.

The compact spare is for temporary use only. Replace the compact spare tire with a full-size tire as soon as you can. See Compact Spare Tire. Use this as a guide for storing the compact spare tire and tools.

Compact Spare Tire


Object Number: 1522628  Size: A4
  1. Cover

  2. Retainer

  3. Compact Spare Tire

  4. Wing Nut

  5. Jack

  6. Wheel Wrench

  7. Extension Protector

  8. Foam Holder

  9. Bolt Screw

Full-Size Flat Tire


Object Number: 1803058  Size: A4
  1. Retainer

  2. Full-Size Flat Tire

  3. Protective Guide

  4. Extension Bolt Screw

  5. Wing Nut

  6. Jack

  7. Wheel Wrench

  8. Foam Holder

  9. Bolt Screw