GM Service Manual Online
For 1990-2009 cars only

Removal Procedure


    Object Number: 2042760  Size: SH
  1. Disconnect the negative battery cable.
  2. Relieve the fuel system pressure. Refer to Fuel Pressure Relief.
  3. Before removal, clean the fuel pump assembly with a spray type engine cleaner, GM X-30A or equivalent, if necessary. Follow the package instructions. Do Not soak fuel rails in liquid cleaning solvent.
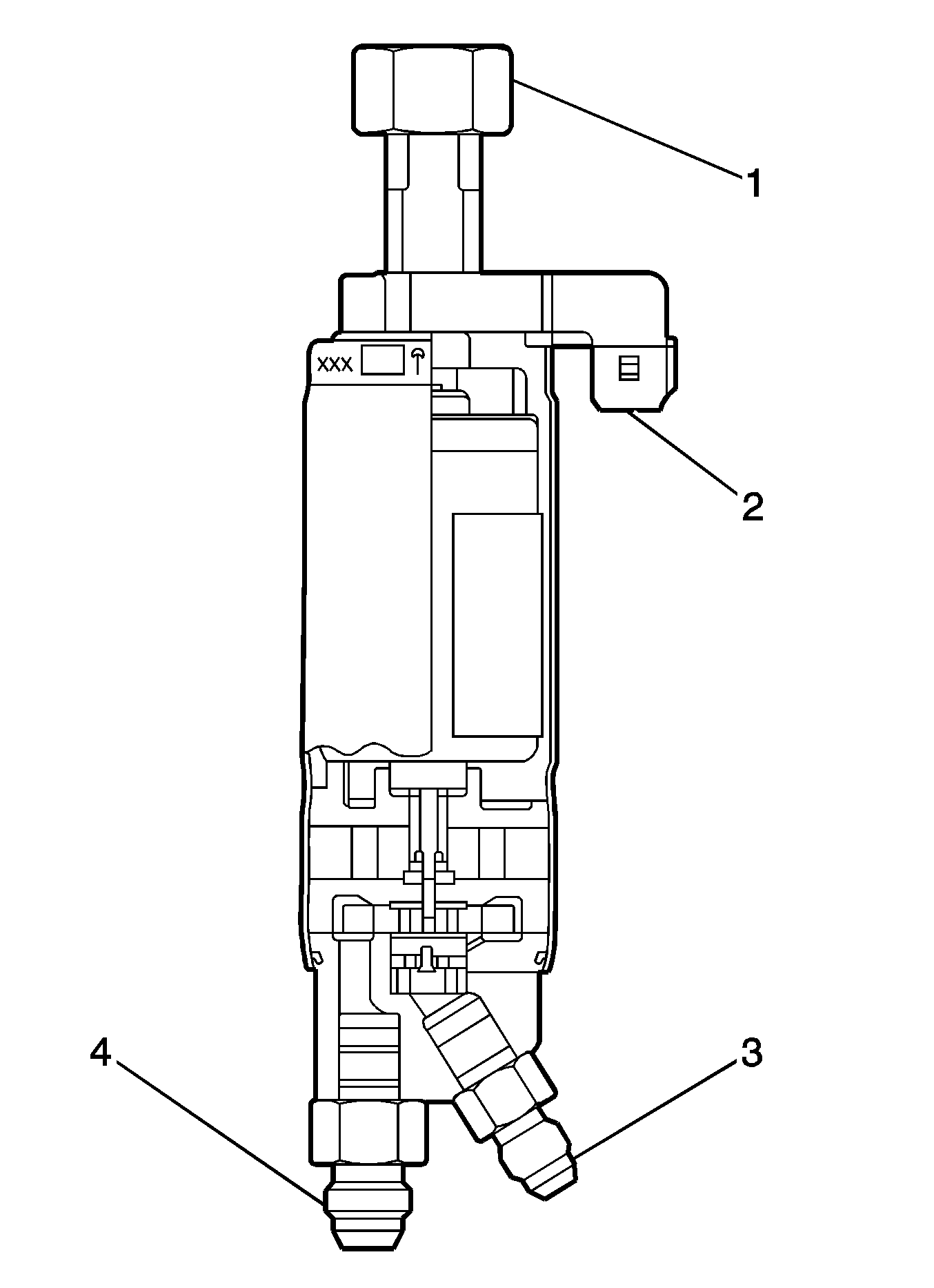
  4. Disconnect the harness connector of the fuel pump.
  5. Disconnect the threaded fittings from the fuel pump.
  6. Cap the fuel pipes in order to prevent possible fuel system contamination.
  7. Remove the fuel pump.

Installation Procedure

    Important: When replacing the fuel pump, be sure to order the correct fuel pump for the application being serviced.


    Object Number: 2042760  Size: SH
  1. Install the fuel pump.
  2. Remove the caps from the fuel pipes.
  3. Notice: Refer to Fastener Notice in the Preface section.

  4. Install the fuel rail pipes to the fuel pump.
  5. Tighten
    Tighten the fuel pipe fitting to 25 N·m (18 lb ft).

  6. Connect the harness connector of the fuel pump.
  7. Connect the negative battery cable.
  8. Inspect for leaks by performing the following:
  9. 6.1. Ignition ON for 2 seconds.
    6.2. Ignition OFF for 10 seconds.
    6.3. Ignition ON, inspect for fuel leaks.