GM Service Manual Online
For 1990-2009 cars only

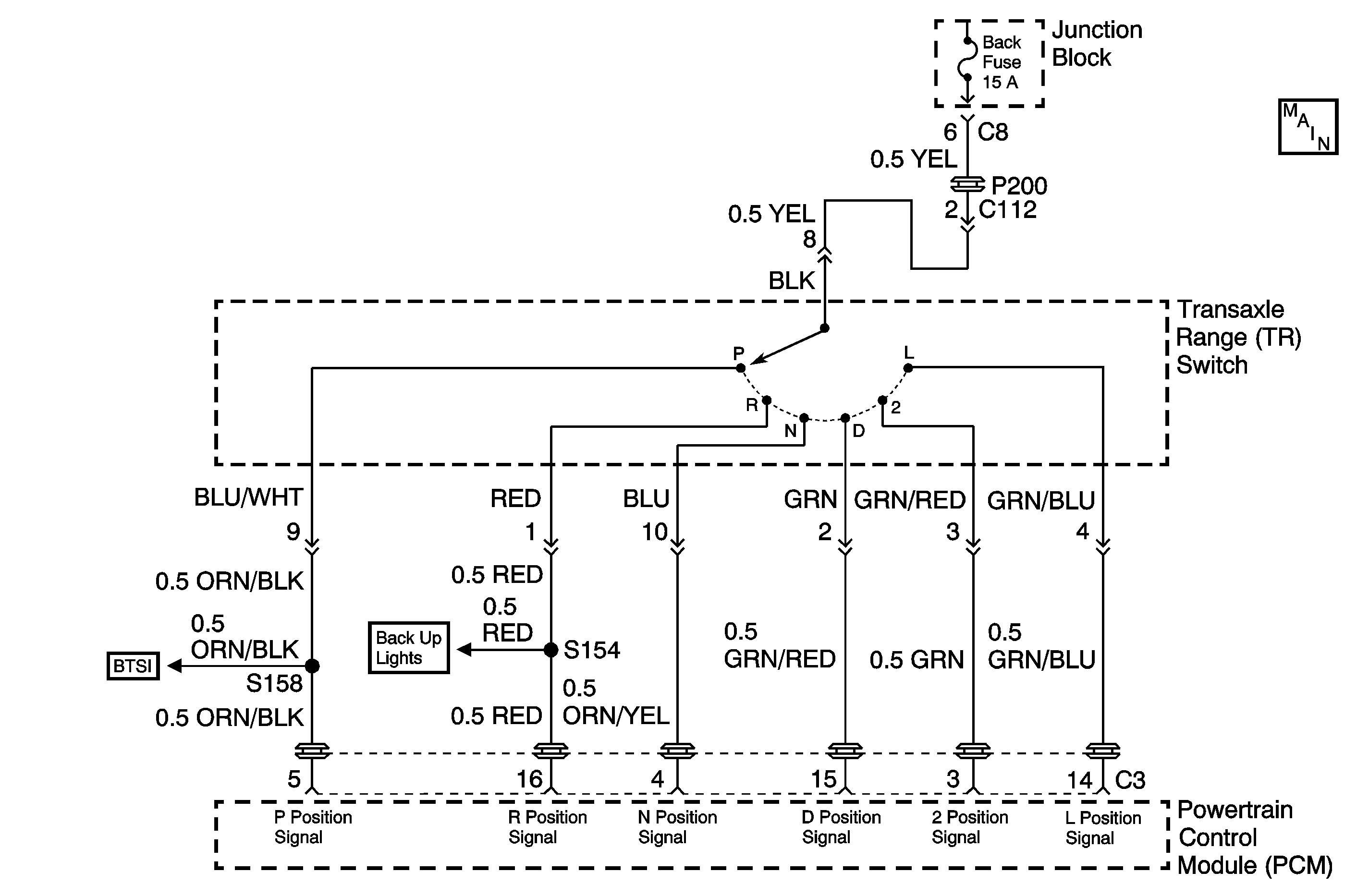
Object Number: 1572056  Size: MF
Automatic Transmission Controls Schematics

Circuit Description

The transaxle range switch sends gear position signals to the Powertrain Control Module (PCM) according to the manual selector range. The PCM uses this information in order to manage the transaxle operation.

Conditions for Setting the DTC

DTC P0705 will set if the following conditions are met:

    • The PCM receives no transaxle range switch signal with the ignition switch ON.
    • The PCM receives multiple signals simultaneously while in Drive (D) in 3rd gear for 5 seconds.
    • One driving cycle detection logic

Action Taken When the DTC Sets

A DTC P0705 is stored and the Malfunction Indicator Lamp (MIL) is turned ON.

Diagnostic Aids

Inspect the transaxle range switch for the following conditions:

    • Correct adjustment
    • Correct operation

The electrical circuits are located between the transaxle range and the PCM. Inspect the electrical circuits for the following conditions:

    • Open
    • Short to voltage
    • Short to ground

Inspect the PCM for correction operation.

An intermittent may be caused by the following conditions:

    • A poor connection
    • Rubbed through wire insulation
    • A broken wire inside the insulation

Inspect the PCM harness connectors for the following conditions:

    • Backed out terminals
    • Improper mating
    • Broken locks
    • Improperly formed or damaged terminals
    • Poor terminal-to-wire connections

Perform the following steps if DTC P0705 cannot be duplicated:

  1. Read the information in the freeze frame data.
  2. Use the data to determine the vehicle operating conditions when the DTC was set.

Inspect the wiring. Repair as necessary.

DTC Confirmation Procedure

  1. Turn the ignition switch to LOCK.
  2. Connect the scan tool to the Data Link Connector (DLC).
  3. Turn the ignition switch to ON.
  4. Use the scan tool in order to clear the following items from the PCM memory:
  5. • The DTC
    • The pending DTC
    • The freeze frame data
  6. Start the engine.
  7. Step firmly on the brake pedal.
  8. Shift the manual selector to each of the ranges (R, N, D, 2, L) for 30 seconds each.
  9. Operate the vehicle in Drive (D). Obtain a speed of 70 km/h (44 mph) for 30 seconds.
  10. Stop the vehicle.
  11. Use the scan tool in order to inspect for DTC P0705.

Test Description

The numbers below refer to the step numbers on the diagnostic table.

  1. The Powertrain OBD System Check prompts the technician to complete some basic checks and store the freeze frame data on the scan tool if applicable. This creates an electronic copy of the data taken when the fault occurred. The information is then stored in the scan tool for later reference.

  2. This step inspects the D position signal circuit.

  3. This step inspects the L position signal circuit.

  4. This step inspects the N position signal circuit.

  5. This step inspects the 2 position signal circuit.

  6. This step inspects the R position signal circuit.

  7. This step inspects for poor terminal contact at the PCM.

  8. This step inspects for a faulty PCM.

  9. This step inspects for a short to voltage in the D position.

  10. This step inspects for a short to ground in the D position.

  11. This step inspects for an open in the D position.

  12. This step inspects for an open in YEL-wire.

  13. This step inspects for a short to voltage in the L position.

  14. This step inspects for a short to ground in the L position.

  15. This step inspects for an open in the L position.

  16. This step inspects for a short to voltage in the N position.

  17. This step inspects for a short to ground in the N position.

  18. This step inspects for an open in the N position.

  19. This step inspects for a short to voltage in the 2 position.

  20. This step inspects for a short to ground in the 2 position.

  21. This step inspects for an open in the 2 position.

  22. This step inspects for a short to voltage in the R position.

  23. This step inspects for a short to ground in the R position.

  24. This step inspects for an open in the R position.

DTC P0705 -- Transaxle Range Switch Circuit

Step

Action

Value(s)

Yes

No

1

Was the Powertrain On-Board Diagnostic (OBD) System Check performed?

--

Go to Step 2

Go to Powertrain On Board Diagnostic (OBD) System Check in Engine Controls

2

  1. Install a scan tool.
  2. Turn the ignition to ON, leaving the engine OFF.
  3. Perform the scan tool Clear DTC Information function.
  4. Operate the vehicle within the Freeze Frame conditions as observed.

Does the scan tool display any other DTCs in addition to DTC P0705?

--

Refer to the applicable DTC table.

Go to Step 3

3

  1. Turn the ignition switch to lock.
  2. Disconnect the PCM connector C3.
  3. Turn the ignition switch to ON.
  4. Use the J 39200 to measure voltage between ground and PCM harness connector C3 terminal 15 while shifting manual selector from Park (P) to Low (L) range.

Is the voltage within the specified range?

10-14 V in Drive (D) range

0-2 V in all other ranges

Go to Step 4

Go to Step 10

4

Use the J 39200 to measure voltage between ground and PCM harness connector C3 terminal 14 with manual selector in Low (L) range.

Is the voltage within the specified range?

10-14 V

Go to Step 5

Go to Step 14

5

Use the J 39200 to measure voltage between ground and PCM harness connector C3 terminal 4 while shifting manual selector from Low (L) to Neutral (N) range.

Is the voltage within the specified range?

10-14 V

Go to Step 6

Go to Step 17

6

Use the J 39200 to measure voltage between ground and PCM harness connector C3 terminal 3 while shifting manual selector from Neutral (N) to Second (2) range.

Is the voltage within the specified range?

10-14 V

Go to Step 7

Go to Step 20

7

Use the J 39200 to measure voltage between ground and PCM harness connector C3 terminal 16 while shifting manual selector from Second (2) to Reverse (R) range.

Is the voltage within the specified range?

10-14 V

Go to Step 8

Go to Step 23

8

Inspect the PCM harness connector C3 for poor terminal contact.

Is poor contact present?

--

Go to Step 27

Go to Step 9

9

  1. Shift the manual selector to the Park (P) range.
  2. Test the PNP for correct adjustment. Refer to Transaxle Range Switch .
  3. Turn the ignition switch to LOCK.
  4. Install a known good PCM.
  5. Reconnect the PCM harness connector C3.
  6. Perform the DTC Confirmation Procedure.

Does this DTC reset?

--

Go to Step 26

Go to Step 28

10

  1. Turn the ignition switch to LOCK.
  2. Disconnect the PNP switch electrical connector.
  3. Turn the ignition switch to ON.
  4. Use the J 39200 to measure voltage between ground and PCM harness connector C3 terminal 15.

Is the voltage within the specified range?

0-2 V

Go to Step 11

Go to Step 30

11

Use the J 39200 to measure resistance between ground and PCM harness connector C3 terminal 15.

Is the resistance equal to the specified value?

Go to Step 12

Go to Step 31

12

Use the J 39200 to measure resistance between PCM harness connector C3 terminal 15 and Transaxle Range Switch connector terminal 2 (harness side).

Is the resistance less than the specified value?

2 ohms

Go to Step 13

Go to Step 32

13

Use the J 39200 to measure resistance between ground and Transaxle Range Switch connector terminal 8 (harness side).

Is the resistance within the specified range?

10-14 V

Go to Step 29

Go to Step 33

14

  1. Turn the ignition switch to LOCK.
  2. Disconnect the PNP switch electrical connector.
  3. Turn the ignition switch to ON.
  4. Use the J 39200 to measure resistance between ground and PCM harness connector C3 terminal 14.

Is the voltage within the specified range?

0-2 V

Go to Step 15

Go to Step 34

15

Use the J 39200 to measure resistance between ground and PCM harness connector C3 terminal 14.

Is the resistance equal to the specified value?

Go to Step 16

Go to Step 35

16

Use the J 39200 to measure resistance between PCM harness connector C3 terminal 14 and Transaxle Range Switch connector terminal 4 (harness side).

Is the resistance less than the specified value?

2 ohms

Go to Step 13

Go to Step 36

17

  1. Turn the ignition switch to LOCK.
  2. Disconnect the PNP switch electrical connector.
  3. Turn the ignition switch to ON.
  4. Use the J 39200 to measure voltage between ground and PCM harness connector C3 terminal 4.

Is the voltage within the specified range?

0-2 V

Go to Step 18

Go to Step 37

18

Use the J 39200 to measure resistance between ground and PCM harness connector C3 terminal 4.

Is the resistance equal to the specified value?

Go to Step 19

Go to Step 38

19

Use the J 39200 to measure resistance between PCM harness connector C3 terminal 4 and Transaxle Range Switch connector terminal 10 (harness side).

Is the resistance less than the specified value?

2 ohms

Go to Step 13

Go to Step 39

20

  1. Turn the ignition switch to LOCK.
  2. Disconnect the PNP switch electrical connector.
  3. Turn the ignition switch to ON.
  4. Use the J 39200 to measure resistance between ground and PCM harness connector C3 terminal 3.

Is the voltage within the specified range?

0-2 V

Go to Step 21

Go to Step 40

21

Use the J 39200 to measure resistance between ground and PCM harness connector C3 terminal 3.

Is the resistance equal to the specified value?

Go to Step 22

Go to Step 41

22

Use the J 39200 to measure resistance between PCM harness connector C3 terminal 3 and Transaxle Range Switch connector terminal 3 (harness side).

Is the resistance less than the specified value?

2 ohms

Go to Step 13

Go to Step 42

23

  1. Turn the ignition switch to LOCK.
  2. Disconnect the PNP switch electrical connector.
  3. Turn the ignition switch to ON.
  4. Use the J 39200 to measure voltage between ground and PCM harness connector C3 terminal 16.

Is the voltage within the specified range?

0-2 V

Go to Step 24

Go to Step 43

24

Use the J 39200 to measure voltage between ground and PCM harness connector C3 terminal 16.

Is the resistance equal to the specified value?

Go to Step 25

Go to Step 44

25

Use the J 39200 to measure resistance between PCM harness connector C3 terminal 16 and Transaxle Range Switch connector terminal 1 (harness side).

Is the resistance less than the specified value?

2 ohms

Go to Step 13

Go to Step 45

26

Refer to Diagnostic Aids for possible intermittent condition. If OK, replace the Powertrain Control Module (PCM). Refer to Powertrain Control Module Replacement

Is the repair complete?

--

Go to Step 46

--

27

Repair the terminal that exhibits poor contact.

Is the repair complete?

--

Go to Step 46

--

28

Refer to Diagnostic Aids for additional information about DTC P0705.

Is the action complete?

--

Go to Step 46

--

29

Inspect the PNP switch for proper alignment.

Is the inspection complete?

--

Go to Step 46

--

30

Repair the short to voltage in the GRN/RED wire between the PNP switch and the PCM.

Is the repair complete?

--

Go to Step 46

--

31

Repair the short to ground in the GRN/RED wire between the PNP switch and the PCM.

Is the repair complete?

--

Go to Step 46

--

32

Repair open or high resistance in the GRN/RED wire between the PNP switch and the PCM.

Is the repair complete?

--

Go to Step 46

--

33

Repair open or high resistance in the YEL wire between the PNP switch and the BACK fuse.

Is the repair complete?

--

Go to Step 46

--

34

Repair the short to voltage in the GRN/BLU wire between the PNP switch and the PCM.

Is the repair complete?

--

Go to Step 46

--

35

Repair the short to ground in the GRN/WHT wire or in the GRN/BLU wire between the PNP switch and the PCM.

Is the repair complete?

--

Go to Step 46

--

36

Repair open or high resistance in the GRN/WHT wire or in the GRN/BLU wire between the PNP switch and the PCM.

Is the repair complete?

--

Go to Step 46

--

37

Repair the short to voltage in the BLU wire or in the ORN/YEL wire between the PNP switch and the PCM.

Is the repair complete?

--

Go to Step 46

--

38

Repair the short to ground in the BLU wire or in the ORN/YEL wire between the PNP switch and the PCM.

Is the repair complete?

--

Go to Step 46

--

39

Repair open or high resistance in the BLU wire or in the ORN/YEL wire between the PNP switch and the PCM.

Is the repair complete?

--

Go to Step 46

--

40

Repair the short to voltage in the GRN/RED wire or in the GRN wire between the PNP switch and the PCM.

Is the repair complete?

--

Go to Step 46

--

41

Repair the short to ground in the GRN/RED wire or in the GRN wire between the PNP switch and the PCM.

Is the repair complete?

--

Go to Step 46

--

42

Repair open or high resistance in the GRN/RED wire or in the GRN wire between the PNP switch and the PCM.

Is the repair complete?

--

Go to Step 46

--

43

Repair the short to voltage in the RED wire between the PNP switch and the PCM.

Is the repair complete?

--

Go to Step 46

--

44

Repair the short to ground in the RED wire between the PNP switch and the PCM.

Is the repair complete?

--

Go to Step 46

--

45

Repair open or high resistance in the RED wire between the PNP switch and the PCM.

Is the action complete?

--

Go to Step 46

--

46

  1. Turn the ignition switch to LOCK.
  2. Reconnect the connector(s).
  3. Perform the DTC Confirmation Procedure.

Are any DTCs displayed on the scan tool?

--

Go to the applicable DTC table

System OK