GM Service Manual Online
For 1990-2009 cars only

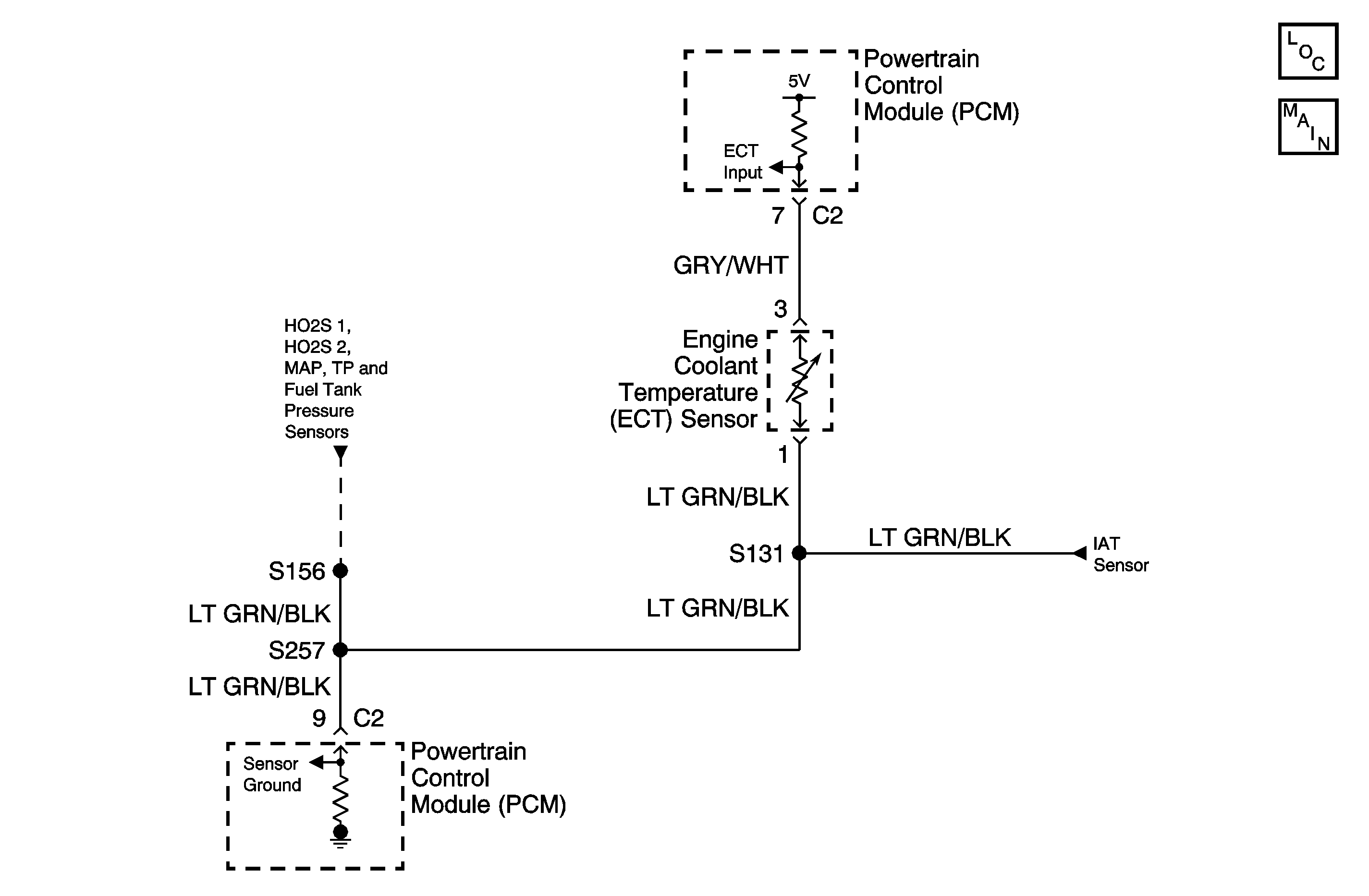
Object Number: 1561777  Size: MF
Engine Controls Schematics

Circuit Description

The engine fuel control system operates in open loop when the engine is first started. In open loop the PCM ignores the oxygen sensor signal voltage and calculates the air/fuel ratio based on inputs from the ECT sensor, the TP sensor, and the MAP sensor. The PCM will begin closed loop fuel control when the oxygen sensor signal is active enough and the ECT sensor reaches a predetermined coolant temperature. The PCM expects to begin closed loop fuel control within a specified amount of time.

Condition for Running the DTC

    • Fuel level greater than 25%.
    • Intake air temperature is between -10°C to 50°C (14°F to 122°F).
    • Barometric pressure greater than 75 kPa.
    • The HO2S 1 output is varying, indicating that the sensor is hot enough to operate properly.
    • The diagnostic runs only once per drive cycle.
    • The engine is running.

Conditions for Setting the DTC

The engine coolant temperature required to allow Closed Loop operation is not achieved within a predetermined time frame.

Action Taken When the DTC Sets

    • The PCM illuminates the malfunction indicator lamp (MIL) after two consecutive ignition cycles in which the diagnostic runs with the fault active.
    • The PCM records the operating conditions at the time the diagnostic fails. This information is stored in the Freeze Frame buffer.

Conditions for Clearing the MIL/DTC

    • The MIL turns OFF after three consecutively passing trips without a fault present.
    • A History DTC clears after 40 consecutive warm-up cycles without a fault.
    •  Use the scan tool Clear DTC Information function or disconnect the PCM battery feed in order to clear the DTC.

Diagnostic Aids

A DTC P0125 may indicate a skewed ECT sensor. Comparing the engine coolant temperature displayed on a scan tool with actual coolant temperature measured with a thermometer may isolate this condition. Replace the ECT sensor if the displayed engine coolant temperature is not close to the actual engine coolant temperature.

Check for the proper operation of the cooling system thermostat.

Check for faulty electrical connections to the PCM.

An intermittent malfunction may be caused by a fault in the ECT sensor electrical circuit. Inspect the wiring harness and components for any of the following conditions:

    • Backed out terminals.
    • Improper mating of terminals.
    • Broken electrical connector locks.
    • Improperly formed or damaged terminals.
    • Faulty terminal to wire connections.
    • Physical damage to the wiring harness.
    • A broken wire inside the insulation.
    • Corrosion of electrical connections, splices, or terminals.

If a DTC P0125 cannot be duplicated, the information included in the Freeze Frame data can be useful in determining vehicle operating conditions when the DTC was first set.

Test Description

The numbers below refer to the step numbers in the diagnostic table.

  1. The Powertrain OBD System Check prompts the technician to complete some basic checks and store the freeze frame data on the scan tool if applicable. This creates an electronic copy of the data taken when the fault occurred. The information is then stored in the scan tool for later reference.

  2. This step compares the ECT temperature to the IAT temperature. The temperature display of the two sensors on a scan tool should be about the same after the vehicle has sat overnight.

  3. This step measures the actual ambient air temperature and compares that temperature to the ECT display on the scan tool.

Step

Action

Values

Yes

No

1

Did you perform the Powertrain On-Board Diagnostic (OBD) System Check?

--

Go to Step 2

Go to Powertrain On Board Diagnostic (OBD) System Check

2

  1. Allow the engine to cool to ambient air temperature.
  2. Turn ON the ignition, leaving the engine OFF.
  3. Compare the ECT temperature display to the IAT temperature display on a scan tool.

Are the ECT and the IAT temperature readings close?

--

Go to Step 3

Go to Diagnostic Aids

3

  1. Start the engine.
  2. Monitor the ECT parameter on the scan tool with the engine idling.

Does the ECT display increase to above the specified value within 10 minutes?

40°C (104°F)

Go to Diagnostic Aids

Go to Step 4

4

Are any ECT sensor DTCs set?

--

Go to applicable DTC table

Go to Step 5

5

Check the cooling system coolant level. Fill the cooling system to manufacturer specifications if low.

Was coolant added to the cooling system?

--

Go to Step 10

Go to Step 6

6

Compare the ECT parameter on the scan tool to the actual coolant temperature measured with a thermometer.

Is the scan tool ECT display close to the measured temperature?

--

Go to Step 8

Go to Step 7

7

  1. Check for any of the following conditions:
  2. • High resistance in the ECT sensor wiring.
    • A faulty connection at the ECT sensor.
    • A faulty connection at the PCM.
  3. Repair as necessary. Refer to Wiring Systems in Wiring Systems.

Was a repair necessary?

--

Go to Step 10

Go to Step 9

8

  1. Inspect the cooling system for proper operation. Refer to Engine Fails to Reach Normal Operating Temperature in Engine Cooling.
  2. Repair the cooling system as necessary.

Is the action complete?

--

Go to Step 10

--

9

Replace the ECT sensor and recheck the ECT display on the scan tool. Refer to Engine Coolant Temperature Sensor Replacement .

Is the action complete?

--

Go to Step 10

--

10

  1. Perform the scan tool Clear DTC Information function and road test the vehicle within the Freeze Frame conditions that set the DTC.
  2. Review the scan tool data and check for DTCs. The repair is complete if no DTCs are stored.

Are any DTCs displayed on the scan tool?

--

Go to the Applicable DTC Table

System OK